#克莉丝汀所有门店暂停运营#
据报道,知名蛋糕巨头克莉丝汀上海总部目前仅剩一位保安留守。克莉丝汀不久前曾在港交所发布公告称,公司因拖欠货款、工资等约5700万元,导致银行账户被冻结,目前依赖股东贷款维持营运。
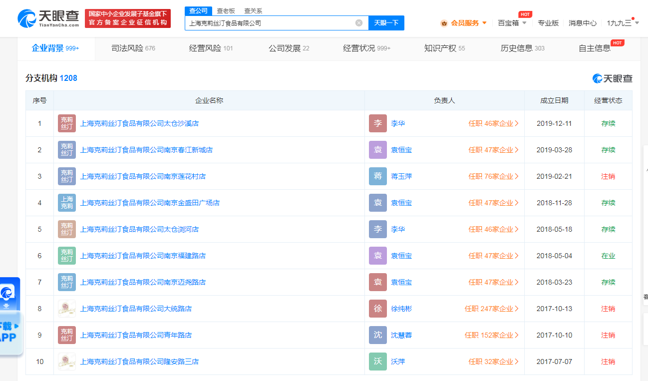
天眼查App显示,上海克莉丝汀食品有限公司成立于1993年1月,注册资本1297万美元,法定代表人、董事长为徐纯彬,由泰昇国际集团有限公司全资持股。对外投资信息显示,该公司参股企业有10家,5家已注销。同时该公司有1200余家分支机构,其中存续状态的仅余200余家。风险信息显示,克莉丝汀存在多条被执行人、限制消费令及失信被执行人(老赖)信息,被执行总金额超2015万元。



天眼查信息:https://www.tianyancha.com/company/657458320/sifa
媒体报道:https://weibo.com/7282830801/4880990269083770
本文来自投稿,不代表创造权威IP 赋能创业者——IP百创立场,如若转载,请注明出处:创造权威IP 赋能创业者——IP百创
微信扫一扫