刘宇宁名下企业均已注销

#刘宇宁 我曾经结过婚没有孩子# #刘宇宁 姐弟婚姻#

3月27日,有娱记爆出刘宇宁曾经有一段姐弟婚姻,二人于2012年4月结婚,2013年12月离婚,并育有一女。

刘宇宁名下企业均已注销

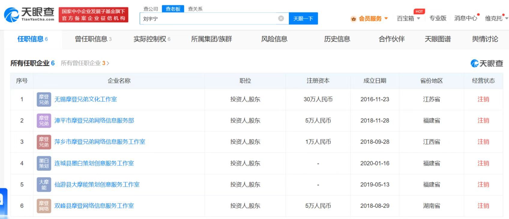
天眼查App显示,刘宇宁共关联6家企业,包括无锡摩登兄弟文化工作室、漳平市摩登兄弟网络信息服务部、萍乡市摩登兄弟网络信息服务工作室等,分布在福建、江苏、江西、湖南四省份,均由刘宇宁个人独资。不过,6家企业目前均已注销。

天眼查信息:https://www.tianyancha.com/human/1809947213-c3241453300

本文来自投稿,不代表创造权威IP 赋能创业者——IP百创立场,如若转载,请注明出处:创造权威IP 赋能创业者——IP百创

(0)
打赏 微信扫一扫 微信扫一扫 支付宝扫一扫 支付宝扫一扫
上一篇 2023年3月27日 下午4:58
下一篇 2023年3月27日 下午5:01

相关推荐

  • 阳光电源在芜湖成立新能源公司

    天眼查工商信息显示,近日,芜湖瑑阳新能源有限公司成立,法定代表人为姜旭,注册资本100万人民币,经营范围含太阳能发电技术服务、节能管理服务、风力发电技术服务、合同能源管理、光伏发电设备租赁、智能输配电及控制设备销售等。股东信息显示,该公司由阳光电源旗下合肥春阳新能源投资有限公司全资持股。 天眼查信息:https://www.tianyancha.com/co…

    2026年1月13日
  • 二季度41个参加天猫“千星计划”的中腰部品牌 首次成交破千万

    2025进程过半,一大批优质品牌商家在天猫高速增长,强势出圈。 7月22日,记者从天猫“千星计划”潜力商家沟通会获悉,今年二季度,参与“千星计划”的中腰部品牌成交同比增长超30%,41个商家季度成交首次突破千万,317个品牌季度成交同比增速翻倍,373家品牌拿下趋势赛道第一名。 这些数字表明,进入二季度以来,天猫“扶优”策略成效再显。天猫通过包括千星计划等在…

    2025年7月23日
  • 假芬迪月饼品牌已注册芬迪卡萨商标

    #罗永浩道歉并点名头部直播间# 9月11日,交个朋友直播间发布公告称,接到用户投诉,发现已售的“芬迪卡萨FENDI CASA月饼伴手礼”与奢侈品品牌“FENDI”(包括FENDI CASA系列)存在品牌关联性涉嫌造假的情况。 天眼查知识产权信息显示,“芬迪卡萨FENDI CASA月饼”关联公司芬迪家居有限公司曾于2022年至2024年期间申请注册数枚“芬迪卡…

    2024年9月11日
  • 小米起诉米系有品公司侵权

    #小米向米系有品公司发起维权诉讼# 天眼查App显示,近日,小米科技有限责任公司与米系有品(晋江)智能科技有限公司相关侵害商标权案件新增开庭公告,原告为小米科技有限责任公司,该案件将于9月3日在晋江市人民法院开庭审理。

    2025年8月19日
  • 直击海南国际电影节:国际化、新生代,“去海南拍电影”正流行?

    作者| Mia “海生万象 光映未来”,12月4日至10日,第六届海南岛国际电影节在海南三亚如期而至。 多日以来,整个海南岛星光璀璨。苏菲·玛索、刘浩存、郝蕾、袁姗姗、孙怡、张慧雯等中外知名影人现身开幕式红毯。法国导演吕克·贝松、中国影视戏剧演员徐帆、中国演员王景春、中国演员张译等13位国内外著名电影行业从业者组成“金椰奖”评委会阵容。法国国宝级演员苏菲·玛…

    行业动态 2024年12月10日

发表回复

您的电子邮箱地址不会被公开。 必填项已用*标注

联系我们

邮件:939297903@qq.com

工作时间:周一至周五,9:30-18:30,节假日休息

关注微信