疑涉性侵校企领导名下公司曾被吊销

#起底疑似性侵实习生校企领导#

#学校回应网传女生校企实习被领导性侵#

据报道,近日,网传衡阳师范学院一女生发布了一封求救信,信中称其参加校企合作实习时被领导文君成性侵并怀孕。30日,衡阳师范学院宣传部工作人员回应,已关注此事,具体以官方回复为主。

疑涉性侵校企领导名下公司曾被吊销

疑涉性侵校企领导名下公司曾被吊销

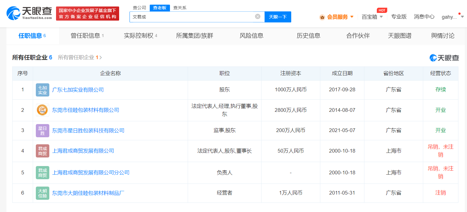
天眼查App显示,涉事校企为东莞市佳睦包装材料有限公司,该公司成立于2014年8月,法定代表人、执行董事为文君成,注册资本2800万人民币,经营范围包括加工、产销包装材料、塑胶制品;销售日用品、办公用品等。

疑涉性侵校企领导名下公司曾被吊销

疑涉性侵校企领导名下公司曾被吊销

文君成共关联6家公司,其中存续状态的有3家,除上述公司外,还包括广东七加实业有限公司、东莞市星日胜包装科技有限公司,文君成在其中2家公司中担任高管,并持有全部3家公司的股份。其余3家被吊销或注销的公司,文君成均担任法定代表人,其中,上海君成商贸发展有限公司及分公司于2004年12月被吊销。

天眼查信息:https://www.tianyancha.com/human/1952615789-c2318021339
媒体信息:https://weibo.com/7744053157/MzDttnC1D?refer_flag=1001030103_

本文来自投稿,不代表创造权威IP 赋能创业者——IP百创立场,如若转载,请注明出处:创造权威IP 赋能创业者——IP百创

(0)
打赏 微信扫一扫 微信扫一扫 支付宝扫一扫 支付宝扫一扫
上一篇 2023年3月30日
下一篇 2023年3月30日

相关推荐

  • 不为内容设限,赋予动漫IP更持久的生命力

    腾讯视频动漫正引领着中国动漫产业的新浪潮,其内容影响力持续攀升。 “若黯夜终临,吾必立于万万人之前,横刀向渊,血染天穹 。”今年暑假上线的现象级动画《斩神之凡尘神域》(下文简称《斩神》),凭借新奇的剧情设定、新潮的美术风格,开播以来多次登顶腾讯站内总榜 TOP1,成为小说动画化的又一代表作。 蕴含中国古代哲学思想的《剑来》凭借其本土化的作品特色俘获了大批观众…

    2024年10月20日
  • 国投健康在南通成立医养产业发展公司# 注册资本约1.16亿

    天眼查App显示,近日,国投健康医养产业发展(南通)有限公司成立,法定代表人为齐楠,注册资本约1.16亿人民币,经营范围包括住宿服务、医疗服务、食品销售、餐饮服务等。股东信息显示,该公司由国投健康产业投资有限公司全资持股。 天眼查信息:https://www.tianyancha.com/company/7889245846  

    行业动态 2025年12月16日
  • 王鹤棣新剧开分4.8,“古偶男神”演现偶为何“水土不服”?

    ​作者| 糖炒山楂 编辑| 无花果 时隔四年,现偶大爆男主李现再度投入杨紫“怀抱”,日前两人官宣了古装剧《国色芳华》;在古偶市场“待爆”多年的张凌赫,虽有《宁安如梦》正在热播,却迫不及待将“饼”画向了现偶市场…… 如果以围墙效应来形容古装剧和现偶,总有人汲汲以求着“突围”。但那些真正“走进来”和“走出去”的人又如何呢? 进度条正过半的11月被网友称为“现偶1…

    行业动态 2023年11月15日
  • 李亚鹏被强制执行1381万

    #李亚鹏所持约495万股权被冻结# #李亚鹏名下一公司股权被全部冻结# 天眼查法律诉讼信息显示,近日,李亚鹏新增一则股权冻结信息,股权所在企业为北京艺莲文化科技有限公司,冻结股权数额约495万人民币,冻结期限为三年,执行法院为北京市朝阳区人民法院。此外,李亚鹏还被执行1381万余元。 北京艺莲文化科技有限公司成立于2022年8月,法定代表人为李诗怡,注册资本…

    2025年12月25日
  • 三花智控增资至约42.1亿增幅约13%

    天眼查工商信息显示,近日,三花智控发生工商变更,注册资本由约37.3亿人民币增至约42.1亿人民币,增幅约13%。 该公司成立于1994年9月,法定代表人为张亚波,经营范围含普通阀门和旋塞制造,家用电器研发,制冷、空调设备制造,家用电器制造,通用零部件制造,电机制造,风机、风扇制造等。股东信息显示,该公司由三花控股集团有限公司、浙江三花绿能实业集团有限公司、…

    2025年11月15日

发表回复

您的电子邮箱地址不会被公开。 必填项已用*标注

联系我们

邮件:939297903@qq.com

工作时间:周一至周五,9:30-18:30,节假日休息

关注微信