孙国友电商公司税收异常

#孙国友电商公司被列为税收非正常户#】#官方通报林场主求水事件#

据报道,近日,林场主孙国友跪地求水引发关注。灵武市通报称其供水纠纷所涉新种和拟种苗木,已采取有效保护措施。

孙国友电商公司税收异常

孙国友电商公司税收异常

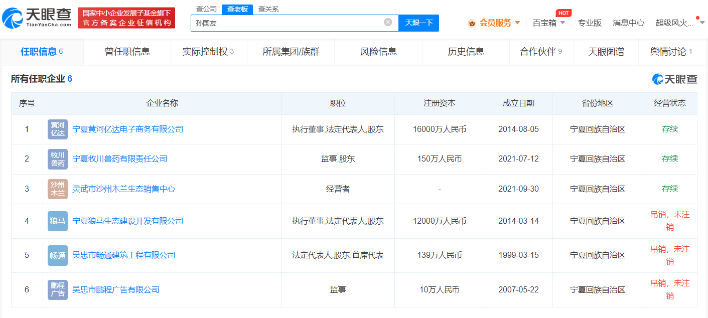
天眼查App显示,涉事林场主孙国友共关联6家公司,其中3家为存续状态,分别为灵武市沙州木兰生态销售中心、宁夏黄河亿达电子商务有限公司、宁夏牧川兽药有限责任公司。另外3家生态建设、建筑工程、广告公司已被吊销,其中,经营范围含生态农业综合开发、防沙治沙等的宁夏狼马生态建设开发有限公司于2018年4月被吊销。

孙国友电商公司税收异常

孙国友电商公司税收异常

风险信息显示,孙国友名下的宁夏黄河亿达电子商务有限公司已被国家税务总局银川市金凤区税务局列为非正常户。该公司成立于2014年8月,注册资本1.6亿人民币,经营范围包括农副土特产品及实体店销售、物流仓储运输信息服务及实体店服务等,由孙国友、武金明、孙悦和宁夏狼马生态建设开发有限公司共同持股。

天眼查信息:https://www.tianyancha.com/human/1878763515-c776598960

本文来自投稿,不代表创造权威IP 赋能创业者——IP百创立场,如若转载,请注明出处:创造权威IP 赋能创业者——IP百创

(0)
打赏 微信扫一扫 微信扫一扫 支付宝扫一扫 支付宝扫一扫
上一篇 2023年3月31日
下一篇 2023年3月31日

相关推荐

  • 华人运通旗下公司3亿股权被冻

    #华人运通江苏公司3亿股权被冻结# 天眼查法律诉讼信息显示,近日,华人运通控股(上海)有限公司新增一则股权冻结信息,股权被执行的企业为华人运通(江苏)技术有限公司,冻结股权数额为3亿元,冻结期限自2024年7月15日至2027年7月14日,执行法院为上海市第一中级人民法院。 华人运通(江苏)技术有限公司成立于2017年9月,法定代表人为丁磊,注册资本10亿人…

    行业动态 2024年7月22日
  • 大基金三期旗下基金等入股拓荆科技旗下公司

    天眼查工商信息显示,近日,拓荆键科(海宁)半导体设备有限公司发生工商变更,新增国家大基金三期旗下国投集新(北京)股权投资基金(有限合伙)、上海华虹虹芯二期创业投资合伙企业(有限合伙)等为股东,刘静卸任法定代表人,由郭万里接任。同时,该公司注册资本由约1067.54万人民币增至约1511.42万人民币。 拓荆键科(海宁)半导体设备有限公司成立于2020年9月,…

    2025年11月12日
  • HarmonyOS应用联运服务,助伙伴全链路经营提效

    众所周知,鸿蒙生态很强大,资源很丰富,有很多系统级的能力,可以帮助应用开发者做到很多以前做不到的事情,比如全场景触达用户等。但是,怎么才能用好鸿蒙生态的这些资源、能力?如此庞大的鸿蒙生态,应用开发者要怎么切入其中进而实现全场景的增长? 对于应用开发者而言,这是一件复杂的事情,怎么办? 8月5日华为开发者大会鸿蒙生态内容分发论坛上,华为教育中心和应用联运业务负…

    2023年8月7日
  • 格力电器申请Ai节能王子商标

    天眼查知识产权信息显示,近日,格力电器申请注册一枚“Ai节能王子”商标,国际分类为灯具空调,当前商标状态为等待实质审查。 公开信息显示,格力Ai节能可利用创新算法与自研芯片,精准节能,让空调降低耗电量,提高效率。 天眼查信息:https://shangbiao.tianyancha.com/80788664t11

    2024年9月23日
  • #宗馥莉卸任周口恒枫饮料公司董事长# 仍任董事

    天眼查App显示,近日,周口恒枫饮料有限公司发生工商变更,施幼珍(宗馥莉母亲)、施丽娟卸任董事,宗馥莉由董事长变更为董事,新增丁秀娟为财务负责人。 周口恒枫饮料有限公司成立于2012年8月,法定代表人为祝丽丹,注册资本687.5万美元,经营范围为饮料生产、食品生产、食品销售、食品用塑料包装容器工具制品生产、食品用塑料包装容器工具制品销售、租赁服务。股东信息显…

    2024年9月20日

发表回复

您的电子邮箱地址不会被公开。 必填项已用*标注

联系我们

邮件:939297903@qq.com

工作时间:周一至周五,9:30-18:30,节假日休息

关注微信