阿里已申请多个通义相关商标

#阿里已申请通义晓问商标# #阿里版GPT官宣内测#

据报道,4月7日,阿里云官方宣布,自研大模型“通义千问”开始邀请用户测试体验。据介绍,阿里达摩院2019年便已启动中文大模型研发。现阶段“通义千问”主要定向邀请企业用户进行体验测试,用户可通过通义千问官网申请。

阿里已申请多个通义相关商标

阿里已申请多个通义相关商标

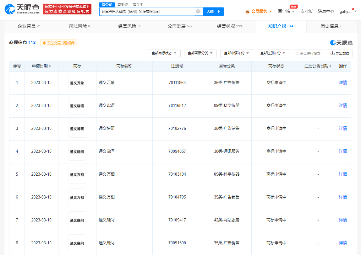
天眼查App显示,阿里巴巴达摩院(杭州)科技有限公司已申请注册多个“通义万象”“通义晓语”“通义博研”“通义晓问”“通义万相”商标,国际分类涉及广告销售、科学仪器、网站服务等,当前商标状态均为申请中。此外,2022年12月,阿里达摩院已成功注册科学仪器、网站服务、通讯服务类“通义”商标。

天眼查信息:https://www.tianyancha.com/company/3113578912/zhishi

本文来自投稿,不代表创造权威IP 赋能创业者——IP百创立场,如若转载,请注明出处:创造权威IP 赋能创业者——IP百创

(0)
打赏 微信扫一扫 微信扫一扫 支付宝扫一扫 支付宝扫一扫
上一篇 2023年4月7日
下一篇 2023年4月7日

相关推荐

  • 超讯通信等在三明成立新公司注册资本1000万

    天眼查App显示,近日,超讯智算(三明)科技有限公司成立,法定代表人为陈厚健,注册资本1000万人民币,经营范围包括数字技术服务、互联网数据服务、大数据服务、数据处理和存储支持服务、人工智能公共数据平台等。股东信息显示,该公司由超讯通信、广州云上鸿图投资合伙企业(有限合伙)、广州华汇智算数字信息技术有限公司共同持股。 天眼查信息:https://www.ti…

    2025年10月30日
  • 南宁轨道交通投资集团增资至约193.5亿增幅约5%

    天眼查工商信息显示,近日,南宁轨道交通投资集团有限公司发生工商变更,注册资本由约184.7亿人民币增至约193.5亿人民币,增幅约5%。 该公司成立于1994年12月,法定代表人为黄钟晖,经营范围含建设工程勘察、建设工程设计、城市公共交通、公共铁路运输、房地产开发经营、建设工程施工、以自有资金从事投资活动、工程管理服务等。股东信息显示,该公司由南宁市人民政府…

    2025年11月18日
  • 啄木鸟在重庆成立梯盾科技公司注册资本2000万

    天眼查App显示,近日,重庆梯盾科技有限公司成立,法定代表人为金四海,注册资本2000万人民币,经营范围包括特种设备安装改造修理、特种设备设计、大数据服务、特种设备出租等。股东信息显示,该公司由重庆啄木鸟网络科技有限公司全资持股。 天眼查信息:https://www.tianyancha.com/company/7771195342

    2025年10月12日
  • 首档撸串综艺“进淄赶烤”,《一起撸串吧》打开美食赛道新局面

    ​作者| 糖炒山楂 说到上半年的现象级流量神话,淄博烧烤必须榜上有名。彼时,作为全国首档串串探寻美食真人秀,爱奇艺《一起撸串吧》首站登陆淄博便引发了大量关注。如今,经历“流量大潮”涌入的淄博烧烤,不可避免陷入客流量回落的质疑,但透过《一起撸串吧》来看食客排队盛况依然。 从地域热让节目“未播先火”,到优质内容“反哺”地域美食,《一起撸串吧》让我们在这个特殊的节…

    行业动态 2023年7月15日
  • 哈啰出行在烟台成立网络科技公司

    天眼查App显示,近日,烟台哈行网络科技有限公司成立,法定代表人为吴传凡,注册资本100万人民币,经营范围含自行车及零配件批发,助动自行车、代步车及零配件销售,电动自行车销售等。股东信息显示,该公司由上海哈啰普惠科技有限公司全资持股。 天眼查信息:https://www.tianyancha.com/company/7126806510

    2024年9月20日

发表回复

您的电子邮箱地址不会被公开。 必填项已用*标注

联系我们

邮件:939297903@qq.com

工作时间:周一至周五,9:30-18:30,节假日休息

关注微信