中国移动申请5G-A商标

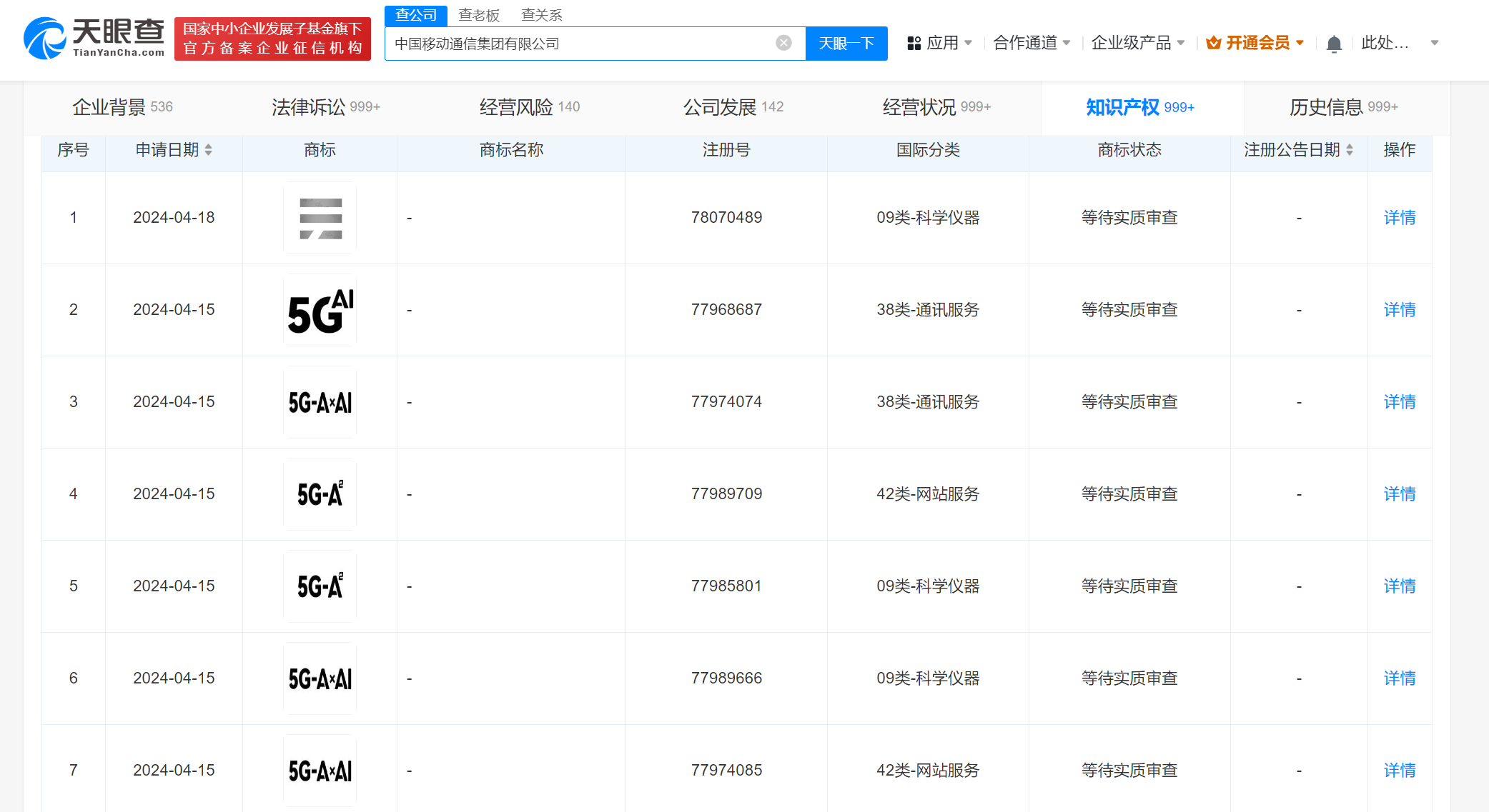
天眼查知识产权信息显示,近日,中国移动通信集团有限公司申请注册多枚“5G-A×AI”“5G-A²”等图形商标,国际分类为通讯服务、网站服务、科学仪器,当前商标状态均为等待实质审查。

中国移动申请5G-A商标

中国移动申请5G-A商标

据悉,5G-A(5G-Advanced)是5G向6G发展的关键阶段,相较于5G,其具备更高速率、更大连接、更低时延等特点。今年3月,中国移动宣布5G-A正式商用。

天眼查信息:https://www.tianyancha.com/company/3122988088/zhishi

本文来自投稿,不代表创造权威IP 赋能创业者——IP百创立场,如若转载,请注明出处:创造权威IP 赋能创业者——IP百创

(0)
打赏 微信扫一扫 微信扫一扫 支付宝扫一扫 支付宝扫一扫
上一篇 2024年5月13日
下一篇 2024年5月13日

相关推荐

  • 《中国奇谭》豆瓣9.4,“开年王炸”到底“奇”在哪?

    ​作者| 桃乐丝 2023年伊始,国产动画市场意料之外出现了一部口碑爆款作品。 元旦当天,B站上线了一部动画作品《中国奇谭》。该作品由上海美术电影制片厂(以下简称“上美影”)与B站联合出品,一共八个故事,内容各不相同,皆是15-20分钟的风格化动画短片。 截至写稿时间,《中国奇谭》已经更新四集内容,豆瓣评分达到9.4分,是近几年口碑最好的国产动画之一。B站站…

    行业动态 2023年1月17日
  • #蔚来汽车爆胎车辆控制专利获授权# 可在驾驶员误操作时进行接管

    天眼查App显示,近日,蔚来汽车科技(安徽)有限公司申请的“用于爆胎车辆控制的方法、装置、车辆和存储介质”专利获授权。 摘要显示,本发明涉及爆胎车辆控制技术。该方法包括:接收车辆状态信息,车辆状态信息包括实时胎压和车速;在胎压和车速满足特定条件的情况下,基于由车载智能驾驶模块生成的轨迹规划信息以及由驾驶员输入的转向盘输入转角判断是否出现驾驶员误操作;若判定出…

    2025年9月9日
  • 挖呀挖商标被科技公司注册

    #挖呀挖已被注册为商标# #挖呀挖走红的桃子老师称很焦虑# 近日,在杭州一家幼儿园工作的毛葱(桃子老师)因《花园种花》手指谣视频走红,也引发网友争议该视频是否为原创。对此她表示,严格意义上该手指谣不存在原创,是每一位幼师都会的东西。 天眼查App显示,“挖呀挖”已被北京某科技公司注册3枚商标,国际分类包括科学仪器、通讯服务等,这些商标申请于2014年11月,…

    行业动态 2023年5月6日
  • 海尔、小米、华为、荣耀:智能硬件走向平台生态战

    配图来自Canva可画 万物互联时代正在到来,在此背景下,谁掌握了万物互联的入口和平台,谁就将有机会赢得未来。于是,打造智能硬件平台就受到了各方的重视,智能硬件平台自然也就变成了各行业的必争之地。细观当下智能硬件市场不难发现,国内一些生产智能硬件的公司,也不再单单只做硬件,而是正在逐步布局和构建智能硬件平台。 智能硬件平台是企业实现产业生态闭环、构建全场景智…

    2024年5月20日
  • 虞丕杰名下多家公司已吊注销

    #老潘财商隐藏虞书欣父亲视频# 11月14日,搜索财经博主“老潘财商”主页发现,其曾有关虞书欣父亲虞丕杰商业剖析的“家里有矿系列”已不可见。据悉,今年8月,泰和泰(上海)律师事务所发文称:接受虞丕杰先生委托,就“老潘财商”频繁发布的涉委托人言论,依法维护委托人合法权益,针对“老潘财商”的相关行为采取包括但不限于提起诉讼等方式。 天眼查App显示,虞丕杰名下关…

    2025年11月15日

发表回复

您的电子邮箱地址不会被公开。 必填项已用*标注

联系我们

邮件:939297903@qq.com

工作时间:周一至周五,9:30-18:30,节假日休息

关注微信