字节跳动申请豆包商标

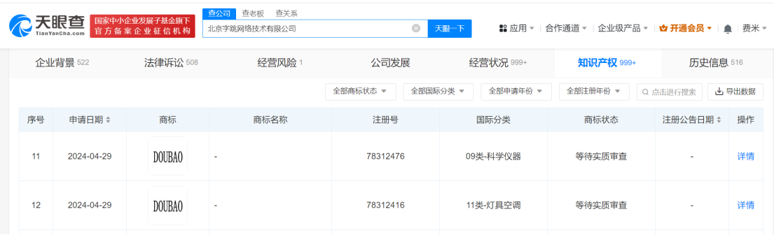
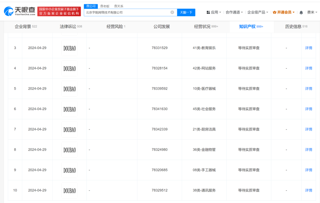
天眼查知识产权信息显示,近日,北京字跳网络技术有限公司申请注册多枚“DOUBAO”商标,国际分类为网站服务、医疗器械、社会服务等,当前商标状态均为等待实质审查。

字节跳动申请豆包商标

字节跳动申请豆包商标

字节跳动申请豆包商标

据媒体报道,近日,字节跳动豆包大模型在火山引擎原动力大会上发布。据介绍,豆包大模型目前日均处理1200亿Tokens文本,生成3000万张图片,主力模型比行业价格低99.3%。

天眼查信息:https://www.tianyancha.com/company/3266848464/zhishi

本文来自投稿,不代表创造权威IP 赋能创业者——IP百创立场,如若转载,请注明出处:创造权威IP 赋能创业者——IP百创

(0)
打赏 微信扫一扫 微信扫一扫 支付宝扫一扫 支付宝扫一扫
上一篇 2024年5月22日 下午1:36
下一篇 2024年5月22日 下午1:40

相关推荐

  • 多个股东退出哪吒2电影配音公司

    #哪吒2电影配音公司发生高管变更# 天眼查工商信息显示,近日,成都声娱文化传播有限公司发生工商变更,杭州赤子之礼投资管理合伙企业(有限合伙)、杭州和山前行投资合伙企业(有限合伙)、杭州嘉植投资管理合伙企业(有限合伙)、杭州普鲁同投资有限公司退出股东行列,注册资本由约253.97万人民币增至约423.28万人民币,增幅约67%,同时,多位主要人员也发生变更。 …

    2025年8月27日
  • 遥望谢如栋怒了,全员信直斥内部浪费严重

    “直播时长太短、效率太低、太浪费了。” 谢如栋不再引而不发,而是直戳戳地表达了自己对于公司目前状况的不满。 事实上,公司高层的“愤怒”就像某种引力,在2022年末2023年初引燃了中国互联网行业的新变革。刘强东说自己被骗了、马化腾怒斥“买量”、张勇连发两封内部信对阿里云开刀…… 这次,“愤怒引力”来到了遥望科技谢如栋这里。 2023年初,拥有张柏芝、贾乃亮、…

    2023年1月3日
  • 河北自贸区产业投资集团增资至130亿增幅64900%

    天眼查App显示,10月15日,河北自贸区正定片区国有资产控股有限责任公司发生工商变更,企业名称变更为河北自贸区产业投资集团有限公司,同时,注册资本由2000万人民币增至130亿人民币,增幅64900%。 该公司成立于2011年12月,法定代表人为李毅飞,经营范围含以自有资金从事投资活动、自有资金投资的资产管理服务、市政设施管理、公共事业管理服务、规划设计管…

  • 祝丽丹再退出宏胜集团旗下三家公司

    天眼查工商信息显示,近日,长沙恒枫乳品有限公司发生工商变更,祝丽丹卸任法定代表人、总经理,由王斌接任。 长沙恒枫乳品有限公司成立于2005年12月,注册资本400万美元,经营范围为饮料的生产及自销。股东信息显示,该公司由恒枫贸易有限公司、丽水宏博饮料有限公司共同持股。此外,祝丽丹还卸任了长沙恒枫食品有限公司、湖南长沙恒枫饮料有限公司的法定代表人、总经理。 天…

    行业动态 2025年11月19日
  • #中文在线等在九江成立数字产业投资基金# 出资额5亿

    天眼查App显示,近日,九江鄱阳湖未来数字产业投资发展合伙企业(有限合伙)成立,执行事务合伙人为中文在线(天津)私募基金投资管理有限公司,出资额5亿人民币,经营范围为以自有资金从事投资活动,创业投资(限投资未上市企业);以私募基金从事股权投资、投资管理、资产管理等活动。合伙人信息显示,该合伙企业由中文在线旗下中文在线(青岛)科技投资合伙企业(有限合伙)、中文…

    2024年9月18日

发表回复

您的电子邮箱地址不会被公开。 必填项已用*标注

联系我们

邮件:939297903@qq.com

工作时间:周一至周五,9:30-18:30,节假日休息

关注微信