京东申请采销老刘商标

#京东申请老刘直播间商标#

#京东红人#

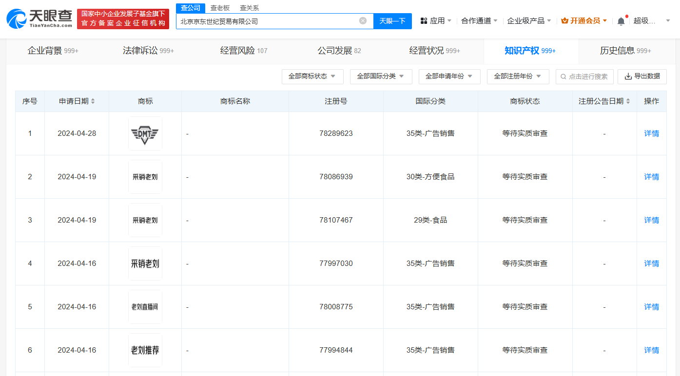
天眼查App显示,近期,北京京东世纪贸易有限公司申请注册“采销老刘”“老刘直播间”“老刘推荐”商标,国际分类涉及广告销售、食品等,当前商标状态均为等待实质审查。

京东申请采销老刘商标

京东申请采销老刘商标

近日,京东集团宣布,京东采销年度固定薪酬由16薪提升至20薪。此外,京东还发布“京东红人”视频,展示京东采销工作人员的事迹。

天眼查信息:https://www.tianyancha.com/company/12562796/zhishi

本文来自投稿,不代表创造权威IP 赋能创业者——IP百创立场,如若转载,请注明出处:创造权威IP 赋能创业者——IP百创

(0)
打赏 微信扫一扫 微信扫一扫 支付宝扫一扫 支付宝扫一扫
上一篇 2024年5月27日 下午9:58
下一篇 2024年5月27日 下午10:10

相关推荐

  • 欣旺达惠州新能源公司增资至60.6亿

    天眼查App显示,近日,欣旺达惠州新能源有限公司发生工商变更,注册资本由约40.6亿人民币增至约60.6亿人民币。 该公司成立于2012年10月,法定代表人为王威,经营范围含研发、生产、销售电池及其配件、太阳能光伏风力发电节能设备、储能系统、电池管理系统等,由欣旺达及旗下深圳市欣威电子有限公司共同持股。 天眼查信息:https://www.tianyanch…

    2024年6月6日
  • #天津市国鑫海河产业并购基金登记成立# 出资额11.01亿

    天眼查工商信息显示,近日,天津市国鑫海河产业并购基金合伙企业(有限合伙)成立,执行事务合伙人为天津国资股权投资私募基金管理有限公司,出资额11.01亿人民币,经营范围含以私募基金从事股权投资、投资管理、资产管理等活动。合伙人信息显示,该基金由天津市海河产业基金合伙企业(有限合伙)、天津市国鑫一号产业发展母基金合伙企业(有限合伙)、天津市桂发祥麻花饮食集团有限…

    2025年8月27日
  • 冷美人近30日涨粉14万

    #冷美人1分钟视频报价50元##冷美人退赛# 据报道,近日,湖南张家界七星山景区荒野求生挑战赛引发热议。11月14日,七星山荒野求生热门选手“冷美人”因体检未通过遗憾退赛。 第三方数据显示,冷美人视频平台近30日涨粉14万。此外,其1-20s视频广告报价为30元,21-60s视频广告报价为40元,60s以上视频广告报价为50元。 天眼查知识产权信息显示,“冷…

    2025年11月15日
  • 寰宇游戏在北京成立科技新公司

    天眼查App显示,近日,北京易娱科技有限公司成立,法定代表人为张军,注册资本500万人民币,经营范围含人工智能应用软件开发;组织文化艺术交流活动;互联网信息服务等。股东信息显示,该公司由北京爱谱雷科技有限公司全资持股,后者为广州寰宇九州科技有限公司全资子公司。 官网显示,寰宇游戏关联公司广州寰宇九州科技有限公司已推出《妖怪名单之前世今生》、《沧月战纪》、《绝…

    行业动态 2023年4月18日
  • 许昌市赋豫创业投资合伙企业登记成立出资额5亿

    天眼查工商信息显示,近日,许昌市赋豫创业投资合伙企业(有限合伙)成立,执行事务合伙人为许昌市市投股权投资基金管理有限公司、河南国有资本运营集团私募基金管理有限公司,出资额5亿人民币,经营范围为以私募基金从事股权投资、投资管理、资产管理等活动,创业投资。合伙人信息显示,该合伙企业由河南省赋豫国企改革发展股权投资基金合伙企业(有限合伙)、中原电气谷(许昌)科技发…

    2025年12月4日

发表回复

您的电子邮箱地址不会被公开。 必填项已用*标注

联系我们

邮件:939297903@qq.com

工作时间:周一至周五,9:30-18:30,节假日休息

关注微信