张艺兴猫咪已开通萝卜不肉账号

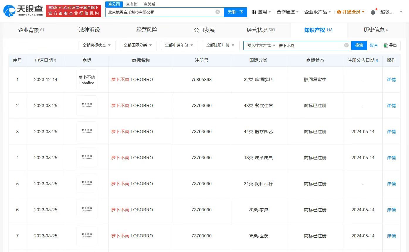
天眼查App显示,近期,北京地恩音乐科技有限公司申请的多个“萝卜不肉 LoboBro”商标状态变更为已注册,国际分类包括教育娱乐、餐饮住宿、服装鞋帽等,这些商标均申请于去年7月、8月。此外,该公司近期再次申请多个“萝卜不肉 LoboBro”商标,当前商标状态均为等待实质审查。

张艺兴猫咪已开通萝卜不肉账号

张艺兴猫咪已开通萝卜不肉账号

张艺兴猫咪已开通萝卜不肉账号

张艺兴猫咪已开通萝卜不肉账号

公开信息显示,张艺兴有一只猫名叫“萝卜”。近期,名为“萝卜不肉LoboBro”的抖音、小红书账号已开通。北京地恩音乐科技有限公司成立于2022年4月,法定代表人为李鹏飞,注册资本200万人民币。股权全景穿透图显示,该公司由长沙染色体娱乐集团有限公司持股60%,后者由张艺兴持股99%。

天眼查信息:https://www.tianyancha.com/company/5462362640/zhishi

本文来自投稿,不代表创造权威IP 赋能创业者——IP百创立场,如若转载,请注明出处:创造权威IP 赋能创业者——IP百创

(0)
打赏 微信扫一扫 微信扫一扫 支付宝扫一扫 支付宝扫一扫
上一篇 2024年6月14日 下午4:25
下一篇 2024年6月14日 下午4:35

相关推荐

  • 58同城曾涉及多起合同纠纷

    #58同城曾涉及多起侵权责任纠纷##58同城APP又现幽灵订单# 据媒体报道,近日,沈女士正浏览58同城页面咨询维修报价,平台未经其同意便强行生成了订单,维修师傅抢单上门,事后维权却遭种种推诿。58同城App“幽灵订单”的问题引发网友热议。 天眼查App显示,58同城关联公司北京五八信息技术有限公司成立于2005年12月,法定代表人为姚劲波,注册资本1000…

  • #西贝等成立食品科技公司# 注册资本500万

    天眼查工商信息显示,近日,内蒙古西贝食品科技有限公司成立,法定代表人为孙志刚,注册资本500万人民币,经营范围包括食品生产、粮食加工食品生产、食用农产品初加工、食用农产品零售等。股东信息显示,该公司由天津一顿好饭企业管理合伙企业(有限合伙)、内蒙古西贝餐饮集团有限公司共同持股。 天眼查信息:https://www.tianyancha.com/company…

    2025年8月18日
  • 杨幂发C刊、杨超越演话剧,“长期主义”的风正刮向娱乐圈?

    作者| 赤木瓶子 编辑| 李寻欢 学霸人设或成娱乐圈新的“时尚单品”,难不成明星进组也要看学历了? 林更新考博上岸,网友惊讶之余感慨“怪不得他怼人从来不带脏字”;张静初全程无交流版直播考研读研、冥想读书引不少网友围观,一不小心闯进了“学习搭子”的新赛道;白玉兰最佳男配宁理翻译了一本科普书籍《宇航员的终结:谁将飞往无人星际》坐实学霸身份,有网友发言,“高收入群…

    行业动态 2024年7月19日
  • 360儿童手表侮辱中国人这事,咋就能小事化了了呢……?

    大家都知道,儿童智能手表市场是一座金矿,就好比被小朋友追捧的小天才,价格都快赶上爹妈用的手机,最贵的产品已经卖到了两千多一个。‍‍‍ 以至于这一市场,这些年,冲进来了不少玩家,比如华为、小米等等,这块市场诱惑太大,就连周鸿祎也没放过,亲自站台打造360儿童手表。‍‍‍‍‍‍‍‍‍‍ 比如把自己直播带货的第一次,也是交给了儿童手表。 当然,还不止于此,为了让儿…

    2024年8月23日
  • 京东发布“智能机器人产业加速2.0计划” 助推品牌伙伴全年累计实现百亿营收

    3月12日,2026中国家电及消费电子博览会(AWE 2026)开幕,京东首次携手宇树科技、众擎、云深处、元点智能、镜识科技等多家全球顶尖机器人品牌共同亮相,集结超60款明星机器人产品,共同打造“机器人机甲联盟”矩阵。期间,京东正式发布“智能机器人产业加速2.0计划”,助力品牌伙伴在2026年内累计实现百亿规模营收。 本届AWE期间,京东还特别邀请了松延动力…

    2026年3月12日

发表回复

您的电子邮箱地址不会被公开。 必填项已用*标注

联系我们

邮件:939297903@qq.com

工作时间:周一至周五,9:30-18:30,节假日休息

关注微信