长白山制药所持2亿股权被冻结

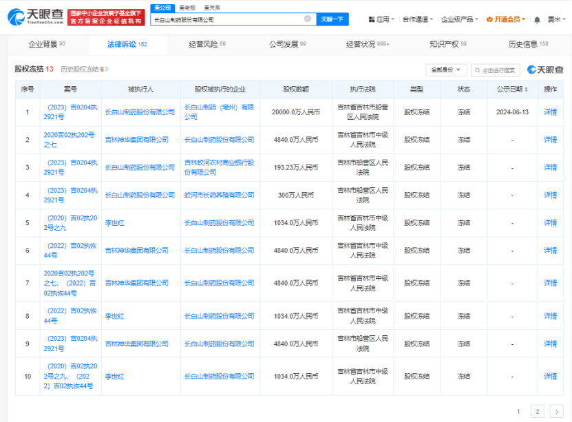
天眼查法律诉讼信息显示,近日,长白山制药股份有限公司新增1条股权冻结信息,股权被执行的企业为长白山制药(亳州)有限公司,冻结股权数额2亿人民币,冻结期限为3年,涉及金融借款合同纠纷案件。案件流程信息显示,该公司以及股东吉林神华集团有限公司、子公司通化玉圣药业有限公司曾被强制执行2.99亿余元,后又被限制高消费,所持股权也多次被冻结。

长白山制药所持2亿股权被冻结

长白山制药所持2亿股权被冻结

长白山制药所持2亿股权被冻结

长白山制药股份有限公司成立于2001年3月,法定代表人为赵国华,注册资本约6712万人民币,由吉林神华集团有限公司、李世红和吉林市神华大众汽车服务有限责任公司共同持股。天眼风险信息显示,该公司现存多条被执行人信息,累计被执行超4亿元。

天眼查信息:https://www.tianyancha.com/company/346190576

本文来自投稿,不代表创造权威IP 赋能创业者——IP百创立场,如若转载,请注明出处:创造权威IP 赋能创业者——IP百创

(0)
打赏 微信扫一扫 微信扫一扫 支付宝扫一扫 支付宝扫一扫
上一篇 2024年6月17日
下一篇 2024年6月17日

相关推荐

发表回复

您的电子邮箱地址不会被公开。 必填项已用*标注

联系我们

邮件:939297903@qq.com

工作时间:周一至周五,9:30-18:30,节假日休息

关注微信