快手申请视频大模型可灵商标

#快手申请视频大模型商标#

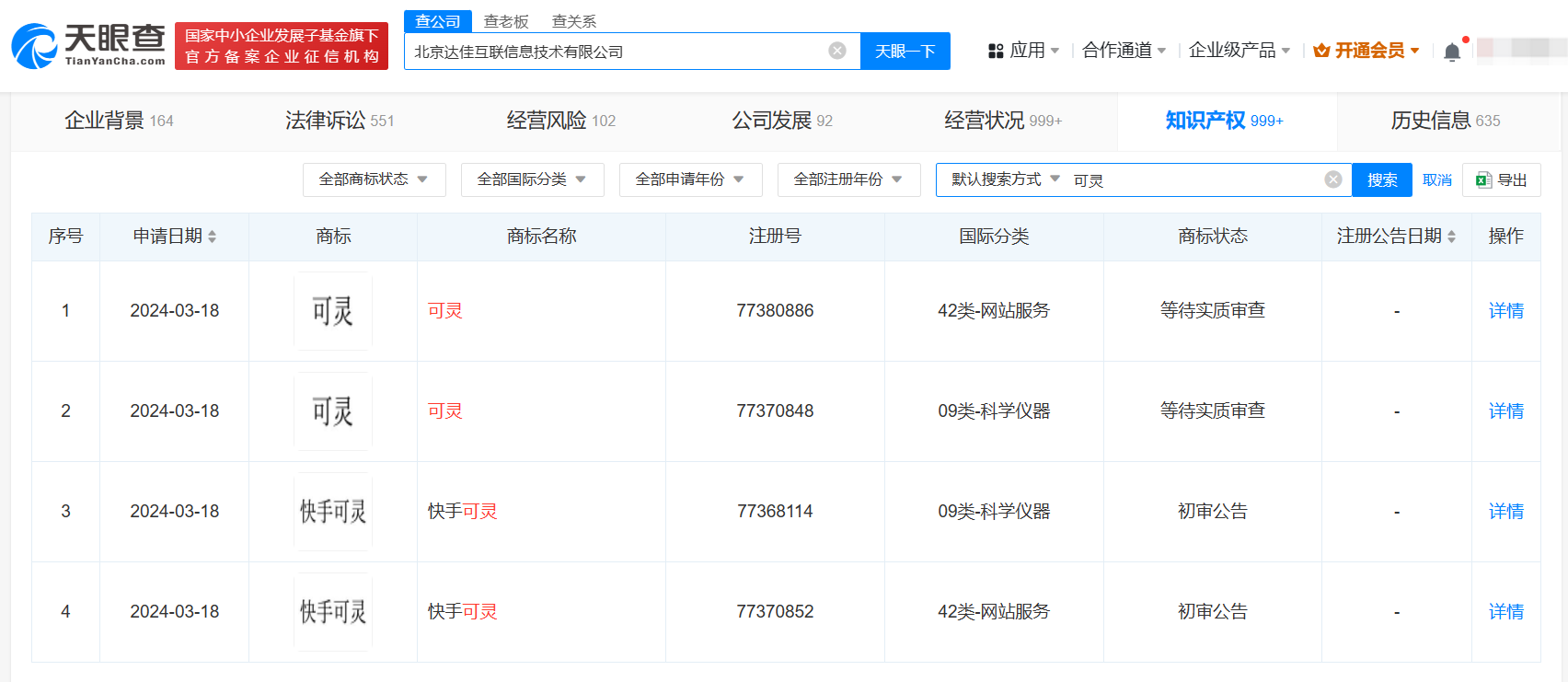
天眼查App显示,近期,快手关联公司北京达佳互联信息技术有限公司申请注册2枚“可灵”和2枚“快手可灵”商标,国际分类均为科学仪器、网站服务,其中2枚“可灵”商标状态为“等待实质审查”,而2枚“快手可灵”商标状态已变更为“初审公告”。

快手申请视频大模型可灵商标

快手申请视频大模型可灵商标

据媒体报道,不久前,快手视频生成大模型“可灵”已开放邀请测试。据介绍,可灵大模型为快手AI团队自研,效果对标Sora。

天眼查信息:https://www.tianyancha.com/company/29463708/zhishi

本文来自投稿,不代表创造权威IP 赋能创业者——IP百创立场,如若转载,请注明出处:创造权威IP 赋能创业者——IP百创

(0)
打赏 微信扫一扫 微信扫一扫 支付宝扫一扫 支付宝扫一扫
上一篇 2024年6月18日
下一篇 2024年6月18日

相关推荐

  • #平安人寿等在深圳成立私募基金# 出资额100亿

    天眼查App显示,近日,深圳市政平私募股权投资基金合伙企业(有限合伙)成立,执行事务合伙人为平安创赢资本管理有限公司、深圳市海洋投资管理有限公司,出资额100亿人民币,经营范围含以私募基金从事股权投资、投资管理、资产管理等活动。合伙人信息显示,该基金由中国平安人寿保险股份有限公司、深圳市引导基金投资有限公司、深圳市龙岗金融投资控股有限公司、深圳市海洋投资管理…

    2024年9月2日
  • 智谱AI增资至2790万

    天眼查App显示,近日,智谱AI关联公司北京智谱华章科技有限公司发生工商变更,注册资本由约2511.48万人民币增至约2790.54万人民币。 北京智谱华章科技有限公司成立于2019年6月,法定代表人为刘德兵,经营范围包括人工智能基础软件开发、人工智能应用软件开发、人工智能理论与算法软件开发等,由北京凯爱格尔科技发展中心(有限合伙)、宁波慧惠企业管理合伙企业…

    2024年9月5日
  • #中国石油在横琴成立澳联能源公司# 注册资本1000万

    天眼查App显示,近日,广东省横琴澳联能源有限公司成立,法定代表人为付伟,注册资本1000万人民币,经营范围含石油制品销售、化工产品销售、润滑油销售、日用品销售、新能源汽车电附件销售、集中式快速充电站、电动汽车充电基础设施运营、互联网销售等。股东信息显示,该公司由中国石油全资持股。 天眼查信息:https://www.tianyancha.com/compa…

    2024年8月15日
  • 赵丽颖起诉家居公司侵犯人格权

    #赵丽颖起诉因特智能家居侵权# 天眼查法律诉讼信息显示,近日,赵丽颖与浙江因特智能家居有限公司相关人格权纠纷案件新增开庭公告,原告为赵丽颖,该案将于9月10日在温州市瓯海区人民法院开庭审理。 天眼查信息:https://www.tianyancha.com/judicialcase/detail/4291845308/19b5689e5e5c4feca044…

    2024年9月3日
  • 原经纪人在黄子韬名下多家公司任职

    #盘点黄子韬原经纪人商业版图##黄子韬谈经纪人被抓# 近日,黄子韬在直播中回应经纪人风波。此前,黄子韬公司@龙韬娱乐 发布声明称,CEO(原黄子韬经纪人)和商务负责人严重失职,已交由相关部门调查。 天眼查App显示,黄子韬原经纪人伦某某在12家公司担任法定代表人、执行董事或经理、监事、负责人等,这些公司包括海南永恒星龙文化发展集团有限公司、北京龙韬娱乐文化有…

    2024年6月28日

发表回复

您的电子邮箱地址不会被公开。 必填项已用*标注

联系我们

邮件:939297903@qq.com

工作时间:周一至周五,9:30-18:30,节假日休息

关注微信