丝芭传媒已备案鞠婧祎官方网站

近日,鞠婧祎与丝芭传媒合约一事引发广泛关注,双方针对是否续约各执一词。

丝芭传媒已备案鞠婧祎官方网站

丝芭传媒已备案鞠婧祎官方网站

丝芭传媒已备案鞠婧祎官方网站

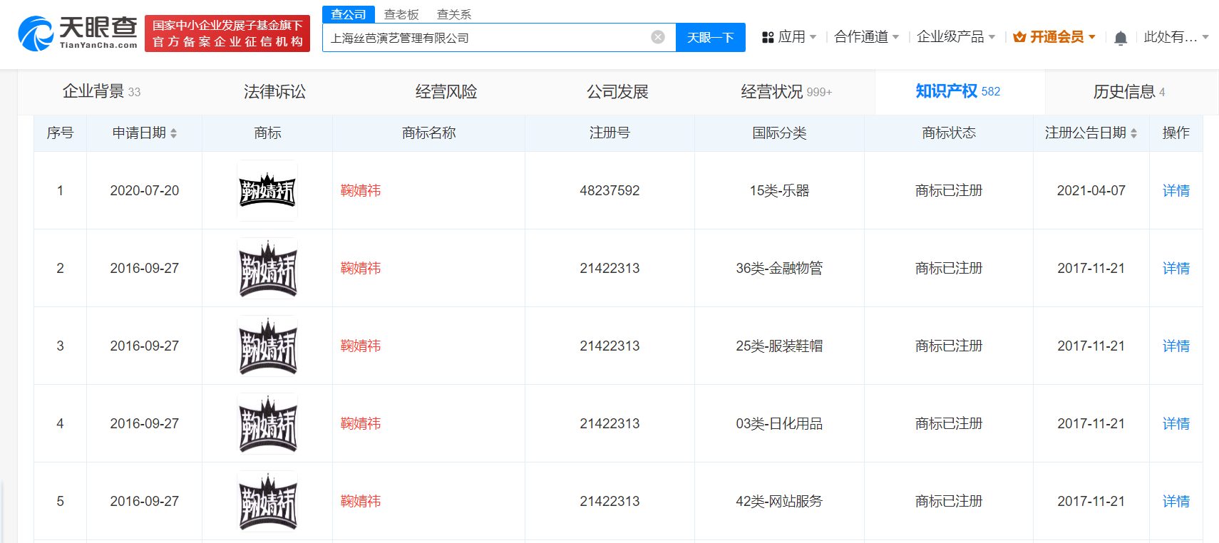
天眼查知识产权信息显示,上海丝芭文化传媒集团有限公司已于2022年备案了鞠婧祎.cn、ju-jingyi.com、ju-jingyi.cn、ju-jingyi.com.cn网站域名,上述域名打开均为“鞠婧祎官方网站”。此外,丝芭传媒旗下上海丝芭演艺管理有限公司已注册多枚“鞠婧祎”商标,商标状态均为已注册。

天眼查信息:https://www.tianyancha.com/search/t401?key=%E9%9E%A0%E5%A9%A7%E7%A5%8E

本文来自投稿,不代表创造权威IP 赋能创业者——IP百创立场,如若转载,请注明出处:创造权威IP 赋能创业者——IP百创

(0)
打赏 微信扫一扫 微信扫一扫 支付宝扫一扫 支付宝扫一扫
上一篇 2024年6月19日
下一篇 2024年6月19日

相关推荐

  • #黄山中铁轨道旅游开发公司成立# 注册资本2亿

    天眼查App显示,近日,黄山中铁轨道旅游开发有限公司成立,法定代表人为于伟,注册资本2亿人民币,经营范围含城市公共交通、旅游业务、道路旅客运输经营等。股东信息显示,该公司由中铁浙江投资发展有限公司、黄山旅游集团有限公司、中铁(上海)投资集团有限公司等共同持股。 天眼查信息:https://www.tianyancha.com/company/71066916…

    2024年9月5日
  • 从“P系列”到“Pura”,华为重构高端手机格局

    4月18日10:08,华为Pura 70 Ultra和华为Pura 70 Pro先锋开售,不到一分钟,线上即售罄。在线下,华为的门店也出现排队长龙,华为Pura 70系列引发了消费者的抢购潮,可以说是一机难求。 华为Pura 70系列开售即热卖,展现出强大的势能。 华为之所以选择在这一天启动“HUAWEI Pura 70系列先锋计划”,是因为12年前的4月1…

    互联网 2024年4月19日
  • 账面不忍直视,口气依然冲天:摩尔线程的2025硬气实录

    摩尔线程,这个上市即在资本市场引发轩然大波的硬科技公司,在2026年刚刚到来之际,就交出了一份2025年业绩快报。 从快报来看,摩尔线程虽然商业化进程在加速,但依然没少亏损。 巨亏中,也有好的一面 摩尔线程作为一家创业初期的芯片设计公司,“先流血后造血”几乎已经是这个行业的发展常态,即便是英伟达这样的科技巨头初期发展也是如此。 我们从摩尔线程前三季度的亏损来…

    2026年1月9日
  • 为什么是小红书长出了「轻社交」

    城镇化、城市化和现代化进程中的一面镜子。

    2023年8月24日
  • 泰康人寿站在十字路口

    泰康人寿正在上演保险行业最魔幻的现实主义剧本。 2025年,泰康人寿净利润大增、总资产超过2万亿元、位居全国非上市寿险公司第一名。市场一片叫好声,投资者热情高涨。 但是,在财务数据漂亮的另一端,泰康人寿也面临来自不少消费者的非议。在黑猫投诉、315投诉网站等平台,泰康人寿却常常被消费者投诉套路深、诱导销售、莫名扣费。 一方面是在财务报表上的一路高歌,另一方面…

    2026年3月3日

发表回复

您的电子邮箱地址不会被公开。 必填项已用*标注

联系我们

邮件:939297903@qq.com

工作时间:周一至周五,9:30-18:30,节假日休息

关注微信