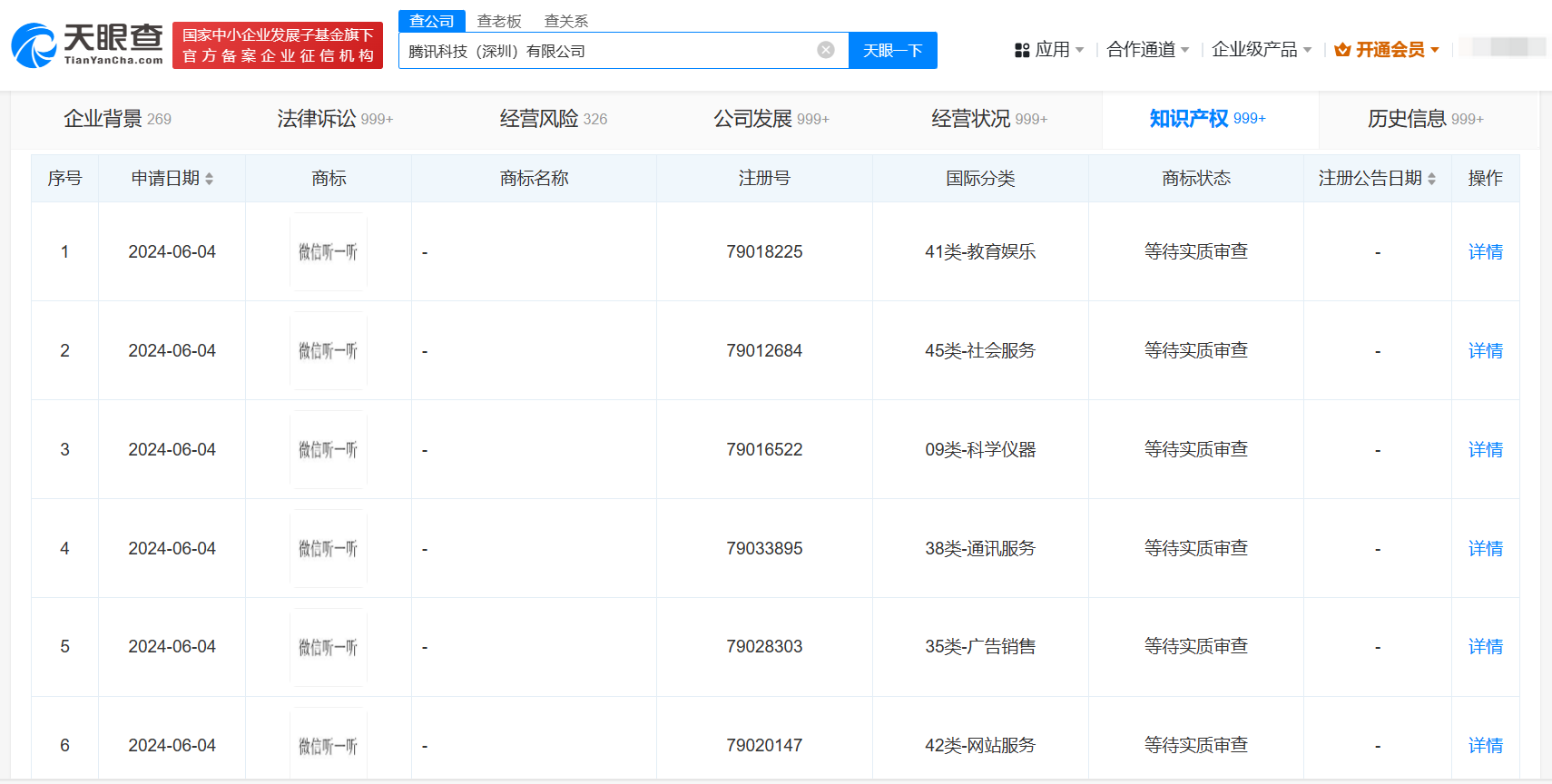
腾讯申请微信听一听商标

天眼查知识产权信息显示,近日,腾讯科技(深圳)有限公司申请多枚“微信听一听”商标,国际分类为广告销售、教育娱乐、通讯服务等,当前商标状态均为等待实质审查。

腾讯申请微信听一听商标

值得一提的是,近日,该公司还申请多枚“微信乐迷圈”商标,当前商标状态也为等待实质审查。据悉,今年年初,微信上线“听一听”功能,其中包括“乐迷圈”。

天眼查信息:https://www.tianyancha.com/company/150041670/zhishi

本文来自投稿,不代表创造权威IP 赋能创业者——IP百创立场,如若转载,请注明出处:创造权威IP 赋能创业者——IP百创

(0)
打赏 微信扫一扫 微信扫一扫 支付宝扫一扫 支付宝扫一扫
上一篇 2024年6月20日
下一篇 2024年6月20日

相关推荐

  • 四川发展商业管理集团增资至20亿

    #四川发展商业管理集团完成更名# 天眼查工商信息显示,近日,四川天府健康产业投资集团有限责任公司发生工商变更,企业名称变更为四川发展商业管理集团有限公司,同时注册资本由10亿人民币增至20亿人民币,增幅100%。 四川发展商业管理集团有限公司成立于2016年12月,法定代表人为钟德金,经营范围包括商业综合体管理服务、城乡市容管理、非居住房地产租赁等。股东信息…

    2025年8月23日
  • 湖南局地暴雪,最低气温跌至-4℃ 搜索 复制

    当“-4℃!寒潮预警!雨雪冰冻天气!”的标题与刺骨的数据一同闯入视线,当手机屏幕亮起省气象台19日6时的紧急预警,我们便不只是天气变化的被动承受者,更是城市治理韧性、社会运行智慧和个体防范意识的主动“应考人”。这轮覆盖湖南大部,挟裹大风、冻雨、冰雪乃至局地暴雪的寒潮,如同一面棱镜,折射出我们在极端天气常态化挑战面前的现实图景与深层课题。 极端天气的预警,早已…

    19小时前
  • 天眼查315数据:#315曝光信息黑洞涉事托普朗宁已成老赖#

    央视315曝光信息黑洞疯狂窃取个人隐私的问题,托普朗宁(北京)教育科技有限公司被点名。 天眼查App显示,托普朗宁(北京)教育科技有限公司成立于2009年6月,法定代表人为柳珍,注册资本5211.27万人民币,经营范围包括广播电视节目制作、经营电信业务、从事互联网文化活动等,由天津科阅科技有限公司、赵亚松等共同持股。天眼风险信息显示,2024年4月,该公司因…

    2025年3月16日
  • #辛杰黄力平均为深圳地铁集团高管# #辛杰商业版图盘点#

    据报道,万科企业在港交所公告称,公司董事长辛杰因个人原因提交书面辞职报告。第二十届董事会第二十四次会议已选举黄力平担任董事长。天眼查任职信息显示,目前,辛杰名下关联2家企业,分别为深圳市地铁集团有限公司、万科企业股份有限公司。值得注意的是,辛杰为深圳市地铁集团有限公司法定代表人 、董事长,黄力平为深圳市地铁集团有限公司董事、总经理。天眼查信息:https:/…

    2025年10月13日
  • 聚划算的新“聚”点:差异化优势供给引爆消费新增量

    复盘2022年秋季第一场S级消费大促,能从中看到什么样的信号? 9月1日到10日,聚划算99划算节,聚焦供给升级,给“买买买”注入新主题。“买免税上聚划算”项目海南免税商品客单价超500元,打造正品免税心智,上线300余款SKU;“量贩囤货”供给上线700余款,覆盖五大民生品类;“时令大品”联合原产地,全周期包销定制+百亿补贴塑造“人无我有”的差异化供给心智…

    2022年9月13日

发表回复

您的电子邮箱地址不会被公开。 必填项已用*标注

联系我们

邮件:939297903@qq.com

工作时间:周一至周五,9:30-18:30,节假日休息

关注微信