小说作者已注册哑舍商标

#哑舍已被原作者注册商标##哑舍#

据媒体报道,《哑舍》今日释出系列剧照。该剧改编自玄色创作的小说作品,由高伟光、梁靖康领衔主演。

小说作者已注册哑舍商标

小说作者已注册哑舍商标

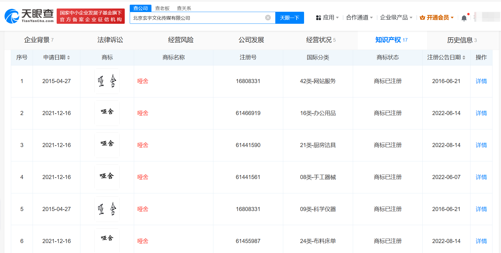
天眼查App显示,由玄色(本名陈思玄)控股的北京玄宇文化传媒有限公司已于2015年-2023年申请多枚“哑舍”商标,国际分类包括网站服务、广告销售、科学仪器、办公用品等,多数商标已成功注册。

天眼查信息:https://www.tianyancha.com/company/5367097630

本文来自投稿,不代表创造权威IP 赋能创业者——IP百创立场,如若转载,请注明出处:创造权威IP 赋能创业者——IP百创

(0)
打赏 微信扫一扫 微信扫一扫 支付宝扫一扫 支付宝扫一扫
上一篇 2024年6月24日
下一篇 2024年6月24日

相关推荐

  • #小红书入股世趣信息科技公司# 后者曾登记开眼鉴宝软著权

    天眼查工商信息显示,近日,世趣信息科技(上海)有限公司发生变更,苏畅卸任法定代表人、董事并退出股东行列,新增小红书科技有限公司全资持股,章子琦任法定代表人、董事。 该公司成立于2021年5月,注册资本100万人民币,经营范围包括艺(美)术品、收藏品鉴定评估服务,旅游开发项目策划咨询,市场营销策划,互联网销售等。知识产权信息显示,该公司已登记“开眼鉴宝”软件著…

    2025年8月25日
  • 抖音盯上网约车生意,切得动滴滴蛋糕吗?

    作者| 把青 编辑| 明明 抖音的本地生活业务又现新动作。 最近,抖音开放了交通出行服务的平台服务商入驻资格,在抖音开放平台可以看到,在交通出行的入驻栏中,出现了打车/网约车、顺风车/拼车、出租车的选项。据了解,T3出行、一喂顺风车以及一众本地出行服务平台都已入驻抖音小程序。 近两年来,抖音加速布局本地生活,从团购、外卖,再到如今的打车,似乎要再造美团2.0…

    行业动态 2022年12月30日
  • 美的集团旗下威灵汽车部件公司增资至12亿# 增幅500%

    天眼查工商信息显示,近日,广东威灵汽车部件有限公司发生工商变更,注册资本由2亿人民币增至12亿人民币,增幅500%。 广东威灵汽车部件有限公司成立于2018年10月,法定代表人为邱向伟,经营范围包括汽车、摩托车零部件、系统及相关产品的研发、设计、制造、销售、技术服务及售后服务等。股东信息显示,该公司由美的集团、佛山市美的空调工业投资有限公司共同持股。 天眼查…

    2026年3月16日
  • 广州南沙平远产业投资基金登记成立出资额1亿

    天眼查工商信息显示,近日,广州南沙平远产业投资基金合伙企业(有限合伙)成立,执行事务合伙人为广州南沙产业创业投资基金管理有限公司,出资额1亿人民币,经营范围含以私募基金从事股权投资、投资管理、资产管理等活动。合伙人信息显示,该基金由梅州平远致远产业投资发展有限公司、广州南沙人工同智创业投资合伙企业(有限合伙)、广州南沙产业创业投资基金管理有限公司共同持股。 …

    2025年10月17日
  • #贵州省创业投资引导基金公司成立# 注册资本4.5亿

    天眼查App显示,近日,贵州省创业投资引导基金有限公司成立,法定代表人为陈茹渟,注册资本4.5亿人民币,经营范围为创业投资、以自有资金从事投资活动、自有资金投资的资产管理服务、社会经济咨询服务、融资咨询服务,由贵州省黔晟国有资产经营有限责任公司全资持股。 天眼查信息:https://www.tianyancha.com/company/7257579957

    2024年10月22日

发表回复

您的电子邮箱地址不会被公开。 必填项已用*标注

联系我们

邮件:939297903@qq.com

工作时间:周一至周五,9:30-18:30,节假日休息

关注微信