小罐茶仍在申请大师手工商标

#盘点小罐茶商业版图##小罐茶创始人道歉#

据媒体报道,6月25日,小罐茶12周年发布会上,杜国楹回应长期来的“大师作”争议,称企业广告语对大家造成了困扰,自己反思多年,郑重向大家道歉,并称多年来致力于将大师技艺数字化,宣布135项制茶专利无偿向社会开源。

小罐茶仍在申请大师手工商标

小罐茶仍在申请大师手工商标

天眼查App显示,小罐茶关联公司北京小罐茶业有限公司成立于2014年12月,法定代表人、董事长为杜国楹,注册资本4亿人民币,由杜国楹、共青城紫茗投资管理合伙企业(有限合伙)、北京健坤投资集团有限公司等12位股东共同持股。对外投资信息显示,该公司持有14家企业股份,其中13家为存续状态,包括其在北京、安徽、福建、云南等多地的公司。

小罐茶仍在申请大师手工商标

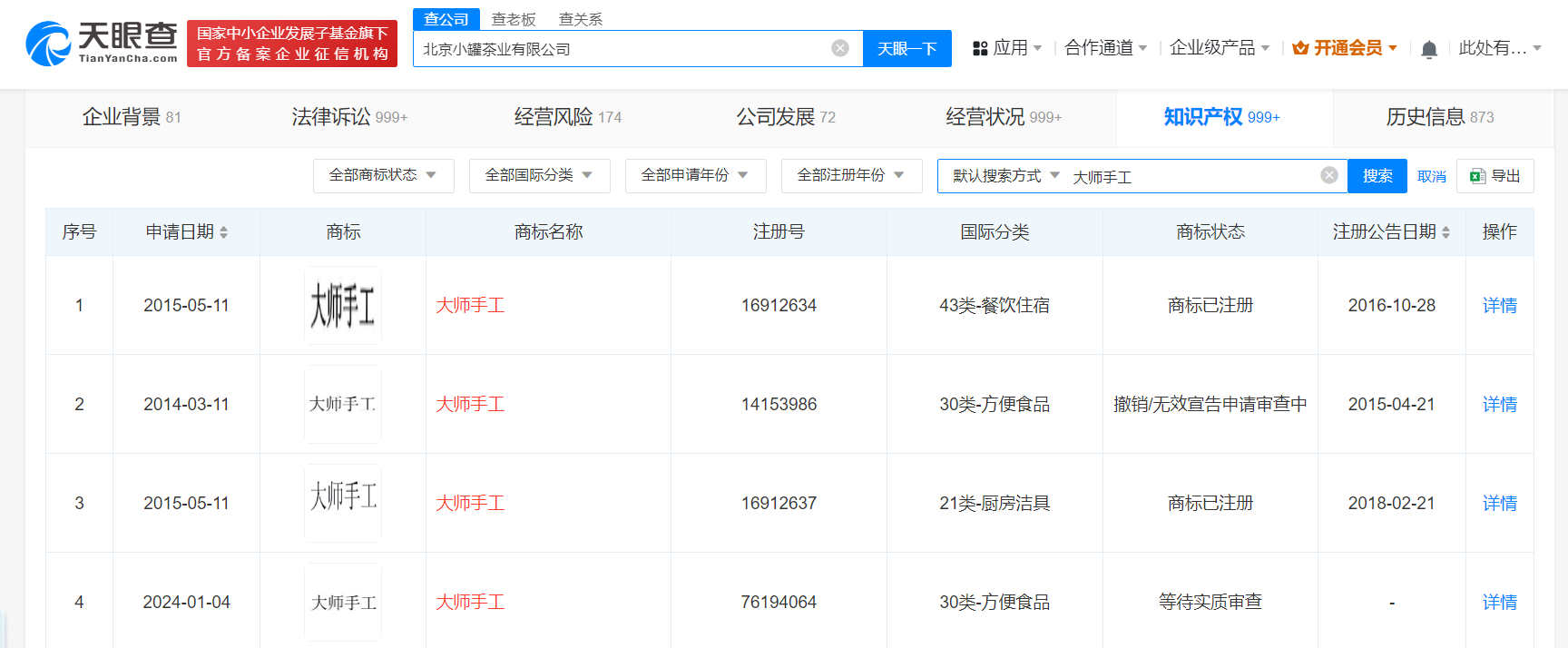
知识产权信息显示,该公司此前已注册多枚“小罐大师”“小罐茶·大师作”“大师手工”“大师手功”商标。值得一提的是,今年1月,该公司再次申请注册一枚“大师手工”商标,国际分类为方便食品,4月,该商标流程信息已变更为“驳回通知发文”。

天眼查信息:https://www.tianyancha.com/company/27000786/zhishi

本文来自投稿,不代表创造权威IP 赋能创业者——IP百创立场,如若转载,请注明出处:创造权威IP 赋能创业者——IP百创

(0)
打赏 微信扫一扫 微信扫一扫 支付宝扫一扫 支付宝扫一扫
上一篇 2024年6月26日
下一篇 2024年6月26日

相关推荐

  • 原经纪人在黄子韬名下多家公司任职

    #盘点黄子韬原经纪人商业版图##黄子韬谈经纪人被抓# 近日,黄子韬在直播中回应经纪人风波。此前,黄子韬公司@龙韬娱乐 发布声明称,CEO(原黄子韬经纪人)和商务负责人严重失职,已交由相关部门调查。 天眼查App显示,黄子韬原经纪人伦某某在12家公司担任法定代表人、执行董事或经理、监事、负责人等,这些公司包括海南永恒星龙文化发展集团有限公司、北京龙韬娱乐文化有…

    2024年6月28日
  • 精锋医疗赴港IPO:一场战略性突围

    新年伊始,港股市场又迎来了“开门红”。 2026年的开年,港股也迎来了一个非常密集的IPO窗口期。除了智谱、MiniMax这样的AI独角兽,也拥有天数智芯这样的AI通用GPU,还有精锋医疗这样的手术机器人。 而即将在1月8日登陆港股的精锋医疗,其上市将开启国产医疗器械突围高端市场的新里程。 资本看中了精锋医疗什么 作为中国首家、全球第二家同时拥有多孔、单孔以…

    2026年1月3日
  • 香港中文大學与叁點零全球研究所&WEB3大學共啟數字菁英培養計畫

    7月10日,香港中文大學亞太工商研究所聯合叁點零全球研究所&WEB3大學正式簽署合作協議,共同啟動“WEB3全球數字菁英人才培養計畫”。此次合作標誌著高等學府與WEB3領域專業教育機構在數字人才培養領域的深度聯動,為全球WEB3生態發展注入新動能。 下圖為叁點零全球研究所創始人&WEB3大學校長杨军,香港中文大學亞太工商研究所常務所长張惠民教…

    2025年7月10日
  • 喜马拉雅三年四战IPO,“耳朵经济”能否讲出新鲜故事?

    “三年四战”IPO,喜马拉雅如此密集向资本市场发起冲击的背后,是音频行业难以解决的营运难题和资金压力。如今,进入“中年期”的喜马拉雅,还能讲好“耳朵经济”的新故事吗? 据相关数据平台公开,喜马拉雅平均每月有3亿用户在线听喜马拉雅的音频内容;2023年,占据了中国所有在线音频平台收听总时长的60%以上,公司实现了成立数十年以来首次全面盈利,这无疑将极大地提升其…

    2024年8月7日
  • 哪怕路远,也终将到达,哪吒汽车启动品牌新表达

    7月份销量表现最炸的新势力品牌是谁?当属哪吒。 哪吒V销量突破10万台,从上市到10万台销量,哪吒V仅用时21个月。 2022年第二十五届成都国际车展现场,哪吒汽车副总裁兼首席品牌官陈赐靓说:“7月销量14037辆,同比增长134%,达成了行业罕见的连续25个月增长。很多人说,哪吒汽车是今年突然冒尖的。 其实,是8年来,用户一点一滴的信任和好评,累积起来的。…

    2022年8月27日

发表回复

您的电子邮箱地址不会被公开。 必填项已用*标注

联系我们

邮件:939297903@qq.com

工作时间:周一至周五,9:30-18:30,节假日休息

关注微信