恒大地产等被强制执行30.5亿

#恒大地产累计被执行超742亿#

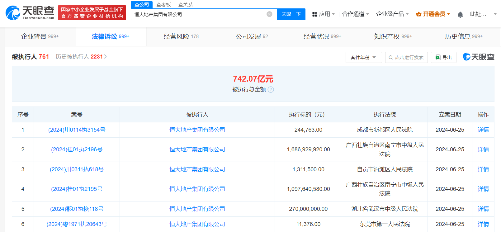
天眼查法律诉讼信息显示,6月25日,恒大地产集团有限公司新增6条被执行人信息,执行标的合计30.56亿余元,涉及票据纠纷、建设工程施工合同纠纷等案件,部分案件被执行人还包括钦州金棕榈商贸城投资开发有限责任公司、防城港恒大金碧房地产开发有限公司、百色恒景房地产开发有限公司等。

恒大地产等被强制执行30.5亿

恒大地产等被强制执行30.5亿

天眼风险信息显示,恒大地产集团有限公司现存760余条被执行人信息,被执行总金额超742亿元。此外,该公司还存在多条限制消费令、失信被执行人(老赖)和终本案件信息。

天眼查信息:https://www.tianyancha.com/company/7219966/sifa

本文来自投稿,不代表创造权威IP 赋能创业者——IP百创立场,如若转载,请注明出处:创造权威IP 赋能创业者——IP百创

(0)
打赏 微信扫一扫 微信扫一扫 支付宝扫一扫 支付宝扫一扫
上一篇 2024年6月26日
下一篇 2024年6月26日

相关推荐

  • 新东方出售与辉同行完成工商变更

    #董宇辉已全资持股与辉同行# 天眼查App显示,近日,与辉同行(北京)科技有限公司发生工商变更,原全资股东北京新东方迅程网络科技有限公司退出,新增董宇辉为股东并全资持股。 与辉同行(北京)科技有限公司成立于2023年12月,法定代表人、执行董事、经理为董宇辉,注册资本1000万人民币。据媒体报道,近日,董宇辉从东方甄选离职,同时,北京新东方迅程网络科技有限公…

    2024年8月7日
  • 马云一米八旗下公司入股博瑞迪生物

    #马云一米八旗下公司入股育种企业# 天眼查App显示,近日,石家庄博瑞迪生物技术有限公司发生工商变更,新增马云一米八旗下一米八农业科技(海南)有限公司等为股东,同时,公司注册资本由约291.8万人民币增至约357.7万人民币,部分主要人员也发生变更。 石家庄博瑞迪生物技术有限公司成立于2017年4月,法定代表人为张嘉楠,经营范围含信息系统集成服务、通讯设备销…

    2024年7月24日
  • 游乐场“把手”馊了,夏天公用设施卫生情况堪忧引热议

    近来,有媒体报道称上海迪士尼乐园“雷明山漂流”安全带和扶手有异味,引发了广泛关注,不少网友表示,这其实并非个例。 网友反馈,上海海昌海洋公园的“火山漂流”项目水筏的把手,也有一股臭味,“手柄馊了”。还有网友表示,体验项目后,双手有一股混合着汗味、橡胶味和某种难以形容刺鼻味道的糟糕感受,特别是事后用洗手液洗了两遍都感觉没有完全除掉那些味道。 园方表示,并非没有…

    2024年7月18日
  • #顺络电子本川智能等成立创投基金# 出资额1.5亿

    天眼查App显示,近日,深圳保腾福顺创业投资基金合伙企业(有限合伙)成立,执行事务合伙人为深圳市保腾资本管理有限公司,出资额1.5亿人民币,经营范围为以私募基金从事股权投资、投资管理、资产管理等活动。合伙人信息显示,该基金由顺络电子、本川智能、深圳市福田资本运营集团有限公司、深圳市保腾联盛投资企业(有限合伙)、深圳市保腾资本管理有限公司共同出资。 据媒体报道…

    2024年9月5日
  • 王祖蓝名下公司拟注销

    #王祖蓝名下手工艺广州公司拟注销# 天眼查App显示,近日,广州手工艺文艺创作有限公司新增一条简易注销公告,公告期自6月13日至7月3日。该公司成立于2017年4月,法定代表人、经理为麦婉雯,董事长为王祖蓝,注册资本500万人民币,经营范围含文艺创作服务、艺(美)术创作服务、舞台机械设计安装服务、灯光设备租赁、音频和视频设备租赁等,由注册于香港的手工艺创作有…

    2024年6月24日

发表回复

您的电子邮箱地址不会被公开。 必填项已用*标注

联系我们

邮件:939297903@qq.com

工作时间:周一至周五,9:30-18:30,节假日休息

关注微信