#中国恒大等被强制执行1.4亿

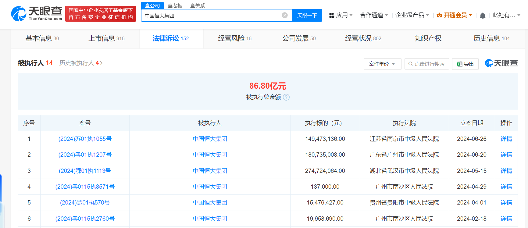
天眼查法律诉讼信息显示,近日,中国恒大(HK.03333)、南京恒康置业有限公司、恒大健康产业集团有限公司新增一条被执行人信息,执行标的1.49亿余元,执行法院为江苏省南京市中级人民法院。

#中国恒大等被强制执行1.4亿

#中国恒大等被强制执行1.4亿

中国恒大集团2006年12月成立于开曼群岛,于2009年11月在港股上市,董事长为许家印。风险信息显示,中国恒大集团存在10余条被执行人信息,累计被执行总金额超86亿元,此外还存在限制消费令和终本案件信息。

天眼查信息:https://www.tianyancha.com/company/3191323651/sifa

本文来自投稿,不代表创造权威IP 赋能创业者——IP百创立场,如若转载,请注明出处:创造权威IP 赋能创业者——IP百创

(0)
打赏 微信扫一扫 微信扫一扫 支付宝扫一扫 支付宝扫一扫
上一篇 2024年6月27日
下一篇 2024年6月27日

相关推荐

  • #中国信达在天津成立信龙腾企管合伙企业# 出资额31.39亿

    天眼查工商信息显示,近日,天津信龙腾企业管理合伙企业(有限合伙)成立,执行事务合伙人为鑫盛利保股权投资有限公司,出资额31.39亿人民币,经营范围为企业管理。股权全景穿透图显示,该合伙企业由中国信达(01359.HK)旗下信达投资有限公司、天津信投纾困企业管理合伙企业(有限合伙)、鑫盛利保股权投资有限公司共同出资。 天眼查信息:https://www.tia…

    2025年8月23日
  • AI学习机踏进AI时代:科大讯飞、网易有道快马加鞭

    配图来自Canva可画 最令家长们头大的问题大概就是给孩子辅导作业了吧,而包括学习机在内的一系列教育硬件产品的诞生,则很好地弥补了这一问题,成为了孩子们在家庭场景中学习的好帮手。随着用户需求的增长,教育智能硬件行业也实现了稳定发展。而在教育硬件赛道,学习机这一品类格外受人关注。 说起学习机,相信绝大多人都不会感到陌生。从最早的小霸王学习机横空出世到如今的智能…

    2024年3月12日
  • 上海久事集团入股上海申花

    #谷际庆任上海申花法定代表人# 天眼查App显示,近日,上海申花足球俱乐部有限公司发生工商变更,上海绿地体育文化发展有限公司退出股东,新增上海久事集团旗下上海久事投资管理有限公司为股东;吴晓晖卸任法定代表人、执行董事,谷际庆任法定代表人、董事长;新增王舒炜、陈志敏为董事。 据媒体报道,久事集团牵头进行申花俱乐部的股改。不久前,上海申花足球俱乐部有限公司的注册…

    2023年4月4日
  • 南派三叔公司申请稻米驿站商标

    #南派三叔公司申请稻米相关商标# 天眼查App显示,近日,杭州十年文化有限公司申请注册多枚“稻米驿站”商标,国际分类涉及教育娱乐、方便食品等,当前商标状态均为等待实质审查。 杭州十年文化有限公司成立于2020年5月,法定代表人为徐磊(南派三叔),注册资本500万人民币,由徐磊全资持股。据悉,盗墓笔记的书粉被称为稻米(盗迷),在长白山脚下的“稻米驿站”,则成为…

    行业动态 2024年7月30日
  • 杨幂仍持有嘉行传媒股份

    #杨幂资本版图盘点# #盘点杨幂嘉行传媒商业版图# 5月8日,杨幂官宣离开嘉行传媒,目前杨幂工作室微博已改名。 ​​​ 天眼查App显示,西安嘉行影视传媒股份有限公司原名西安同大实业股份有限公司,其成立于2007年7月,2016年5月改为现名,同时原主要人员均退出,新增曾嘉、赵若尧等。目前,该公司注册资本为2000万人民币,曾嘉为法定代表人、董事长兼总经理。…

    行业动态 2023年5月8日

发表回复

您的电子邮箱地址不会被公开。 必填项已用*标注

联系我们

邮件:939297903@qq.com

工作时间:周一至周五,9:30-18:30,节假日休息

关注微信