李佳琦异议东方甄选孙佳琦商标

#李佳琦异议孙佳琦商标失败#

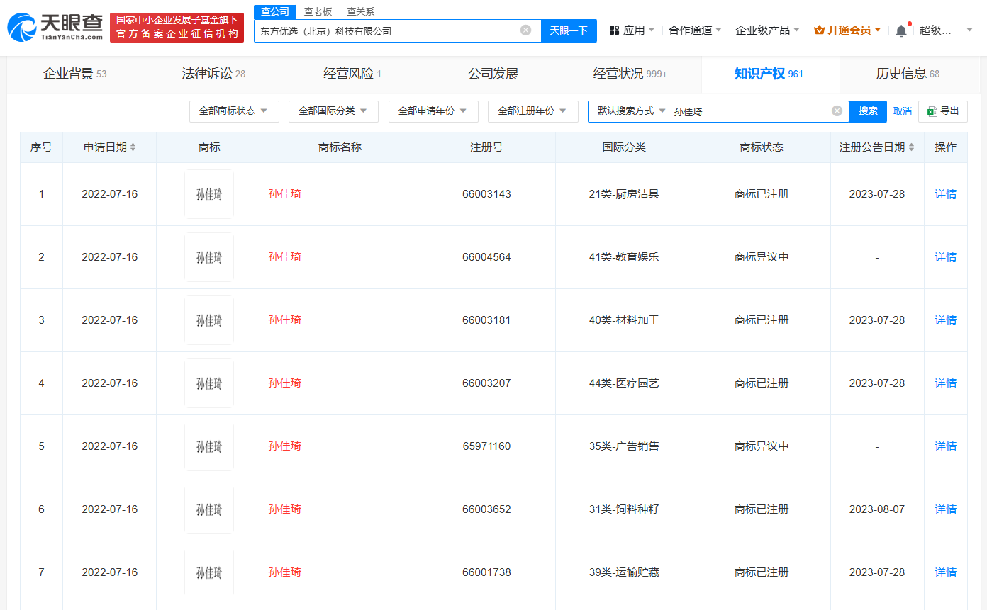
天眼查App显示,近期,东方甄选关联公司东方优选(北京)科技有限公司新增3则关于“孙佳琦”商标准予注册的决定文书。

李佳琦异议东方甄选孙佳琦商标

李佳琦异议东方甄选孙佳琦商标

李佳琦异议东方甄选孙佳琦商标

文书内容显示,异议人李佳琦与宁波镁麒电子商务有限公司对被异议人东方优选(北京)科技有限公司的第65971160号、第66004564号、第65971170号“孙佳琦”商标提出异议。经审查,异议人引证的“李佳琦”“佳琦”商标与“孙佳琦”商标文字构成不同,读音及整体外观区别明显,因而双方商标未构成使用在类似服务上的近似商标,在市场上并存使用不易造成相关公众混淆误认。异议人称被异议商标的注册损害其在先姓名权及其相关权益证据不足,商标局不予支持。

天眼查信息:https://www.tianyancha.com/company/5211748287/zhishi

本文来自投稿,不代表创造权威IP 赋能创业者——IP百创立场,如若转载,请注明出处:创造权威IP 赋能创业者——IP百创

(0)
打赏 微信扫一扫 微信扫一扫 支付宝扫一扫 支付宝扫一扫
上一篇 2024年6月30日
下一篇 2024年6月30日

相关推荐

  • 吴秀波所持4950万股权被冻结

    #吴秀波被冻结4950万股权# 天眼查法律诉讼信息显示,近日,吴秀波新增一条股权冻结信息,股权被执行的企业为霍尔果斯不二文化传媒有限公司,冻结股权数额4950万人民币,冻结期限自2024年7月4日至2027年7月3日,执行法院为北京市第三中级人民法院。 霍尔果斯不二文化传媒有限公司成立于2015年9月,由吴秀波持股99%。天眼风险信息显示,该公司现存3条被执…

    2024年8月1日
  • 宜家,走进了低价“误区”

    前几日,由商务部流通业发展司立项、中国建筑材料流通协会发布了最新的全国建材家居景气指数(BHI),2025年8月,BHI为110.06,环比下跌1.96点,同比下跌8.08点。另外,全国规模以上建材家居卖场8月销售额为1056.50亿元,环比下跌7.16%,同比下跌15.05%。 冰冷的数字,直观反映出家居建材行业持续的低迷及惨淡,在这种环境下,“降价换量”…

    2025年9月28日
  • 郑爽仍有1.2亿案款未履行

    #郑爽涉嫌不合理转让财产被诉##郑爽电视剧出品公司股权被冻结# 天眼查法律诉讼信息显示,近日,霍尔果斯尚晖影视文化传媒有限公司新增股权冻结信息,被执行人为浙江东阳尚晖影视文化传媒有限公司,冻结股权数额300万元。据悉,该公司为郑爽主演的电视剧《绝密者》出品方。 天眼风险信息显示,郑爽名下存在2则终本案件信息,未履行金额超1.2亿元,此外其已多次被限制高消费。…

    2024年7月2日
  • 薛之谦父亲持股公司诉B站侵权

    #薛之谦父亲持股公司起诉B站# 天眼查法律诉讼信息显示,近日,北京潮石音乐科技有限公司与B站关联公司上海宽娱数码科技有限公司相关著作权权属、侵权纠纷案件新增开庭公告,原告为北京潮石音乐科技有限公司,该案将于8月19日在上海市杨浦区人民法院开庭审理。 北京潮石音乐科技有限公司成立于2020年7月,法定代表人为李艳艳,注册资本约128.57万人民币。股东及主要人…

    2024年7月31日
  • 吴京起诉商贸公司侵权索赔131万

    #吴京维权索赔131万# 天眼查App显示,近日,北京市西城区人民法院向江西省大成商贸有限公司公告送达原告吴京与该公司及第三人于某人格权纠纷案件起诉状副本、开庭传票等。公告内容显示,原告吴京要求该公司立即停止侵权,回收、销毁全部侵权产品、包装,赔礼道歉并赔偿经济损失、精神抚慰金和维权合理开支共计131万元,同时承担本案全部诉讼费用。 天眼查信息:https:…

    2024年9月11日

发表回复

您的电子邮箱地址不会被公开。 必填项已用*标注

联系我们

邮件:939297903@qq.com

工作时间:周一至周五,9:30-18:30,节假日休息

关注微信