恒大地产等被强制执行8亿

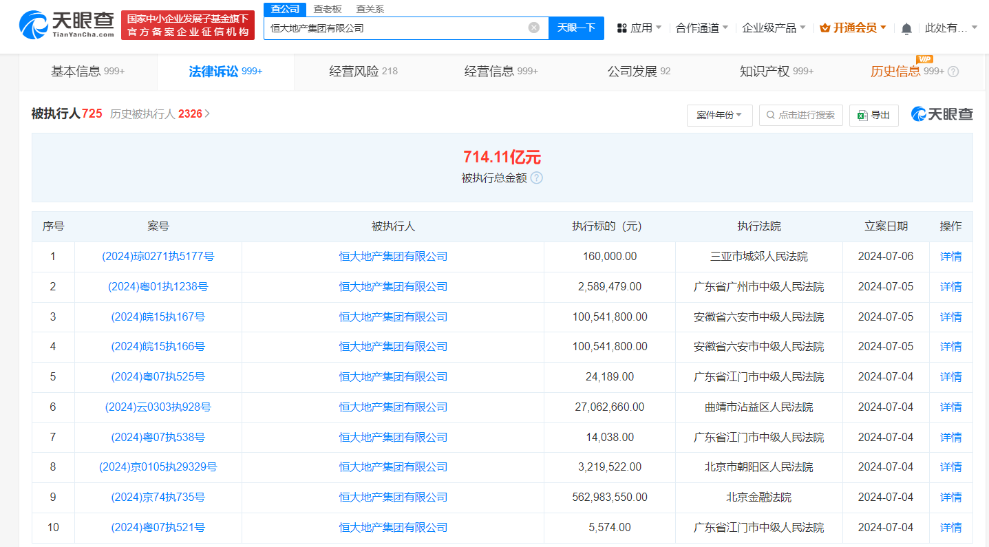
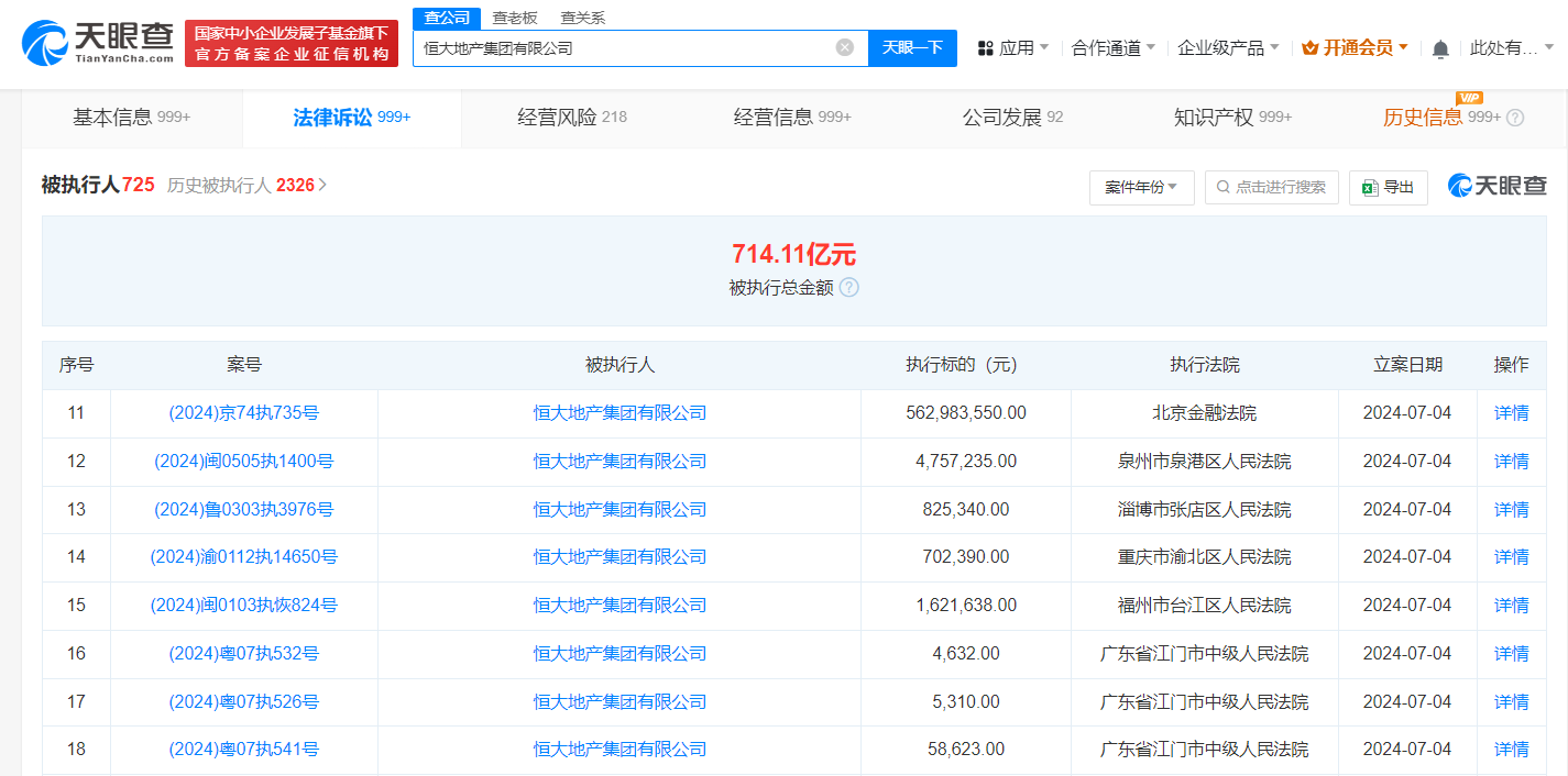
天眼查法律诉讼信息显示,7月4日至6日,恒大地产集团有限公司新增18条被执行人信息,执行标的合计8.05亿余元,涉及票据追索权纠纷、金融借款合同纠纷等案件,部分案件被执行人还包括南昌恒富置业有限公司、南昌中电投高新置业有限公司等。

恒大地产等被强制执行8亿

恒大地产等被强制执行8亿

恒大地产等被强制执行8亿

天眼风险信息显示,恒大地产集团有限公司现存720余条被执行人信息,被执行总金额超714亿元。此外,该公司还存在多个限制消费令、失信被执行人(老赖)和终本案件信息。

天眼查信息:https://www.tianyancha.com/company/7219966/sifa

本文来自投稿,不代表创造权威IP 赋能创业者——IP百创立场,如若转载,请注明出处:创造权威IP 赋能创业者——IP百创

(0)
打赏 微信扫一扫 微信扫一扫 支付宝扫一扫 支付宝扫一扫
上一篇 2024年7月9日 下午6:28
下一篇 2024年7月9日 下午6:35

相关推荐

  • 谢霆锋锋味旗下一公司注销

    天眼查App显示,近日,锋收(上海)餐饮管理有限公司经营状态由存续变更为注销。此前,该公司已发布注销备案公告,注销原因为决议解散。 锋收(上海)餐饮管理有限公司成立于2021年11月,法定代表人为赵雷,注册资本500万人民币,经营范围含餐饮管理、信息咨询服务、企业管理咨询、市场营销策划、社会经济咨询、食品销售等。股东信息显示,该公司由锋味国际有限公司、王维宏…

    2024年8月26日
  • 百威中国销售公司被执行3263万

    天眼查法律诉讼信息显示,近日,百威(中国)销售有限公司、百威(中国)销售有限公司江苏分公司新增一条被执行人信息,执行标的3263万余元。 百威(中国)销售有限公司成立于2005年4月,法定代表人为周臻,注册资本5000万人民币,由注册于香港的百威集团控股有限公司全资持股。 天眼查信息:https://www.tianyancha.com/company/32…

    2024年7月10日
  • 物业上演“割肉剜疮”大撤退

    收购,把规模做上来,一度是物业行业在销售市场和资本市场双重“丰收”的一条主线。 2020年,数据显示,上市物企披露的有效收购事件共76起,共花费金额107亿元,是2019年有效收并购事件27起的2.81倍。比如,蓝光嘉宝服务先后完成17次股权收并购,共花费10.1亿元;这一年,共有17家物企成功登陆资本市场,比2014―2018年上市物业数量总和还多7家。 …

    2025年7月22日
  • 王宝强诉家装家政平台侵权索赔50万

    #王宝强起诉多家公司侵权# 天眼查法律诉讼信息显示,8月15日,运城市盐湖区人民法院向运城市电子商务商会、北京比鲁影视传媒有限公司公告送达王宝强与同骋天下(北京)科技有限公司及上述两公司人格权纠纷一案民事起诉状副本、应诉通知书等,原告王宝强请求三被告立即停止侵权,删除“同骋工匠”网站及微信公众号中使用了其肖像、姓名的宣传内容,同时赔礼道歉并赔偿损失50万元。…

    2024年8月15日
  • 恒大地产等被强制执行19.2亿

    天眼查App显示,7月2日,恒大地产集团有限公司新增9条被执行人信息,执行标的合计19.2亿余元,部分案件被执行人还包括恒大园林集团有限公司、济南泉睿投资有限公司、恒大地产集团长沙置业有限公司等,执行法院包括青岛市中级人民法院、兰州市中级人民法院、长沙市中级人民法院等。 风险信息显示,恒大地产集团有限公司现存710余条被执行人信息,被执行总金额超716亿元。…

    2024年7月3日

发表回复

您的电子邮箱地址不会被公开。 必填项已用*标注

联系我们

邮件:939297903@qq.com

工作时间:周一至周五,9:30-18:30,节假日休息

关注微信