恒大集团等被强制执行4亿

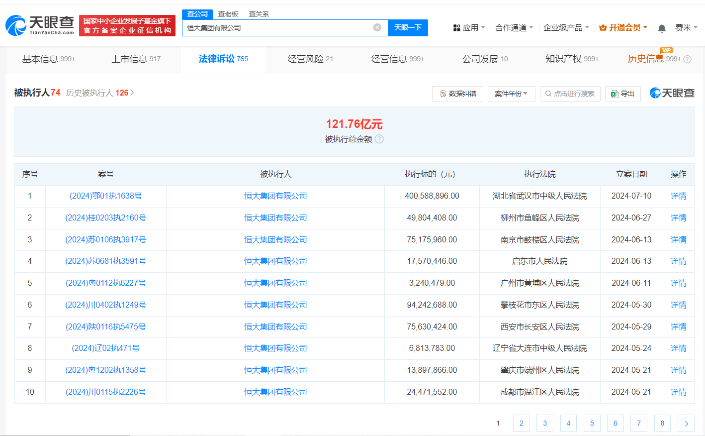
天眼查法律诉讼信息显示,7月10日,恒大集团有限公司及恒大旗下恒大童世界集团有限公司、乌鲁木齐恒霄旅游开发有限公司、内蒙古恒鑫旅游开发有限公司等新增一条被执行人信息,执行标的4亿余元,涉及借款合同纠纷案件,执行法院为湖北省武汉市中级人民法院。

恒大集团等被强制执行4亿

恒大集团等被强制执行4亿

恒大集团等被强制执行4亿

风险信息显示,恒大集团有限公司现存70余条被执行人信息,被执行总金额超121亿元。此外,该公司还存在多条限制消费令、失信被执行人(老赖)和终本案件信息。

天眼查信息:https://www.tianyancha.com/company/2351644028/sifa

本文来自投稿,不代表创造权威IP 赋能创业者——IP百创立场,如若转载,请注明出处:创造权威IP 赋能创业者——IP百创

(0)
打赏 微信扫一扫 微信扫一扫 支付宝扫一扫 支付宝扫一扫
上一篇 2024年7月11日
下一篇 2024年7月11日

相关推荐

  • 咖啡豆价格涨到47年来最高,九块九的咖啡要喝不到了?

    咖啡豆价格涨到47年来最高,九块九的咖啡要喝不到了?

    2024年12月1日
  • 揭秘暴利假陈皮关联公司

    #暴利假陈皮关联公司成立仅2年##央视曝光20倍暴利假陈皮# 据报道,接到群众举报,反映陈皮市场存在年份虚标、产地及工艺造假等问题,关联公司涉及江门市新会懂润农业有限公司、江门市新会区古道柑普茶业有限公司。 天眼查工商信息显示,涉事公司江门市新会区古道柑普茶业有限公司成立于2017年1月,法定代表人为颜财源,注册资本100万人民币,经营范围包括茶叶制品生产、…

    2025年12月15日
  • 助力企业数字化升级,火山引擎发布云上增长解决方案

    会上,火山引擎发布全新Slogan“云上增长新动力”,并推出以云为底座的一系列产品解决方案,包括企业上云和智能营销通用方案,以及覆盖金融、汽车、消费、文娱、医疗、通信传媒六大行业的云上增长方案。这是在去年推出IaaS云基础产品以来,火山引擎在云市场的再次加码。

    2022年8月26日
  • 同行不同命:极兔喜、韵达愁?

    配图来自Canva可画 年前买坚果、牛奶、灯笼、对联等年货,年后寄香肠、腊肉、泡菜、水果等特产,春节前后是快递业迎来收发货小高峰,三通一达,顺丰、京东、极兔相继宣布“春节不打烊”消息,全力保障快递运力。 春节快递收发高峰,公路货运流量呈上涨趋势。据G7公路货运指数显示,2023年1月第一周公路货运指数为 95.7,环比上涨 5.5%,同比收窄至 21.5%,…

    2023年2月16日
  • 恒立实业全资收购智锂科技旗下新能源公司

    天眼查App显示,近日,新余锂想新能源有限公司发生工商变更,原股东江西智锂科技股份有限公司退出,新增*ST恒立为全资股东,同时公司法定代表人及主要人员均发生变更。 新余锂想新能源有限公司成立于今年4月,注册资本1000万人民币,经营范围含电池制造、电子专用材料制造、电子专用材料销售、电池销售、基础化学原料制造、供应链管理服务等。 此前恒立实业发展集团股份有限…

    2024年9月23日

发表回复

您的电子邮箱地址不会被公开。 必填项已用*标注

联系我们

邮件:939297903@qq.com

工作时间:周一至周五,9:30-18:30,节假日休息

关注微信