剑侠世界4要来了?

#金山软件申请剑侠世界4无限商标# #金山为剑侠世界4申请商标#

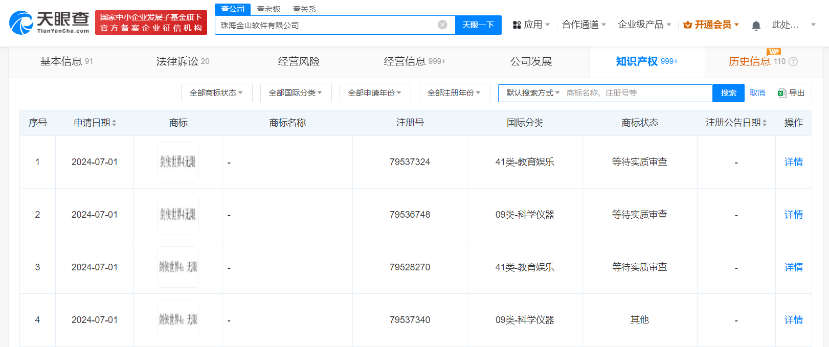
天眼查知识产权信息显示,近日,珠海金山软件有限公司申请注册多枚“剑侠世界4无限”“剑侠世界4:无限”商标,国际分类为教育娱乐、科学仪器,当前商标状态均为等待实质审查。

剑侠世界4要来了?

剑侠世界4要来了?

公开信息显示,《剑侠世界》是金山西山居承袭“剑侠情缘”系列游戏研发的3D MMOARPG手游。

天眼查信息:https://www.tianyancha.com/company/737273/zhishi

本文来自投稿,不代表创造权威IP 赋能创业者——IP百创立场,如若转载,请注明出处:创造权威IP 赋能创业者——IP百创

(0)
打赏 微信扫一扫 微信扫一扫 支付宝扫一扫 支付宝扫一扫
上一篇 2024年7月15日
下一篇 2024年7月15日

相关推荐

  • #华电新能源等在天津成立投资合伙企业# 出资额45.2亿

    天眼查App显示,近日,华康(天津)投资合伙企业(有限合伙)成立,执行事务合伙人为河北华电冀北新能源有限公司,出资额45.2亿人民币,经营范围为以自有资金从事投资活动。合伙人信息显示,该合伙企业由华电新能源集团股份有限公司、华电金泰(北京)投资基金管理有限公司、河北华电冀北新能源有限公司共同出资。 天眼查信息:https://www.tianyancha.c…

    2024年9月9日
  • 小杨哥带货牛肉卷签约时为原切肉标准

    #小杨哥带货假牛肉卷销售额387万##疯狂小杨哥假牛肉卷被罚款50万# 9月9日,@王海 发视频称:疯狂小杨哥带货的“鲜多裕”假原切牛肉卷已被罚款50万,有4.2万名消费者被骗,退一赔十只需要赔偿4200万给消费者。 天眼查App显示,“鲜多裕”关联公司湖北鲜多裕网络科技有限公司成立于2023年3月,法定代表人为陈雨田,注册资本100万人民币。天眼风险信息显…

    2024年9月10日
  • 阿里被质疑期权迟迟不兑现,员工要发起大规模维权行动?

    这几天,有一个关于阿里的话题一直挂在某职业社交APP的热榜上。这个话题是「阿里拿期权骗人,其员工将发起大规模维权」。 看到这个话题,小柴的第一反应是不至于吧!毕竟在互联网圈,阿里巴巴的员工福利可是让全网羡慕嫉妒恨的。那么到底是怎么回事呢?‍‍‍‍‍‍‍ 该话题下一条点赞评论热度最高的帖子是这么说的:「曝阿里员工将发起大规模维权行动,阿里拿期权骗人,迟迟不兑现…

    2024年3月12日
  • 改写中美加航海装备排位:高梵鹅绒服以专业科技助力极地科考

    近日以来全国多地大雪、降温,今冬主题就一个字——冷。 国际大牌羽绒服在高端市场强势占位,国产品牌凭借什么去突破这种局面? 先从一个真实故事说起: 11月1日,中国第40次南极考察正式启航,“雪龙”和“雪龙2号”船由上海出发,历时5个多月,执行科学考察、人员运送和后勤补给任务。中国极地科学考察面对狂风极寒的自然环境挑战,需要“保暖科技”品牌们的硬核技术支持。 …

    2023年12月22日
  • 发生重大火灾事故学校已注销

    #揭秘方城英才学校##班主任疑协助百名师生逃生后仍被判刑# 据报道,12月19日,河南方城县独树镇砚山铺村英才学校重大火灾被告人徐某某、贾某、李某涉嫌教育设施重大安全事故罪一案,在方城县法院审理。法院当庭宣判,判处李宇(英才学校创办人、实际控制人)有期徒刑七年、徐向阳(英才学校校长)有期徒刑六年六个月、贾霞(英才学校起火宿舍宿管员)有期徒刑六年。 天眼查Ap…

    2025年12月24日

发表回复

您的电子邮箱地址不会被公开。 必填项已用*标注

联系我们

邮件:939297903@qq.com

工作时间:周一至周五,9:30-18:30,节假日休息

关注微信