虎头局再被列为经营异常

天眼查App显示,近日,虎头局关联公司上海万物有样餐饮管理有限公司因未依照规定的期限公示年度报告,被上海市市场监督管理局列入经营异常名录。值得一提的是,2023年7月,该公司也曾被列为经营异常。

虎头局再被列为经营异常

虎头局再被列为经营异常

虎头局再被列为经营异常

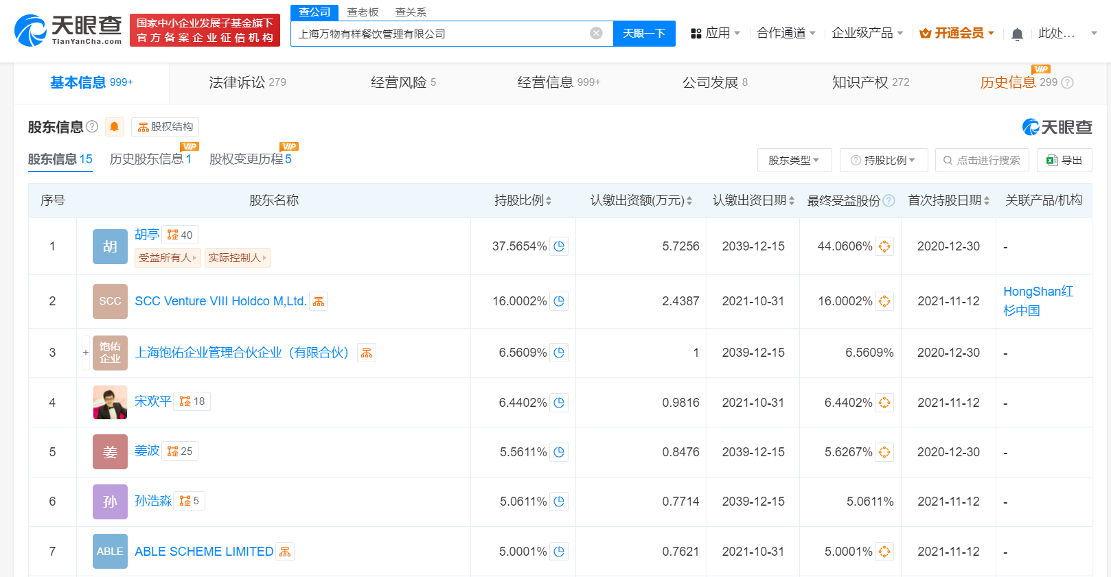
上海万物有样餐饮管理有限公司成立于2020年12月,法定代表人为胡亭,注册资本约15.24万人民币,由胡亭、上海饱佑企业管理合伙企业(有限合伙)、宋欢平等共同持股。风险信息显示,该公司目前存在10余条被执行人信息,被执行总金额超2134万元,此外还存在多条限制消费令、失信被执行人(老赖)和终本案件信息。

天眼查信息:https://www.tianyancha.com/company/4154108908

本文来自投稿,不代表创造权威IP 赋能创业者——IP百创立场,如若转载,请注明出处:创造权威IP 赋能创业者——IP百创

(0)
打赏 微信扫一扫 微信扫一扫 支付宝扫一扫 支付宝扫一扫
上一篇 2024年7月15日 下午10:21
下一篇 2024年7月15日

相关推荐

  • #比亚迪投资工业仿真软件商励颐拓# 后者股东包括华为哈勃

    天眼查App显示,近日,重庆励颐拓软件有限公司发生工商变更,股东新增比亚迪股份有限公司、深圳市创启开盈商务咨询合伙企业(有限合伙),同时公司注册资本由约6132万人民币增至约6462万人民币。 天眼查显示,该公司成立于2018年7月,法定代表人为李博,经营范围包括计算机软件开发、销售、安装、调试;货物及技术进出口;计算机硬件及外围设备的销售及租赁业务;销售纸…

    2023年3月6日
  • 华晨宇演唱会主办方已注册演唱会商标

    #火星演唱会已被申请注册为商标##华晨宇 欢迎同行来抄# 近日,华晨宇在2025年火星演唱会海口站宣布正式告别独创的”火星乐园1.0″演唱会模式,并公开表示”欢迎同行来抄1.0版本”,引发网友讨论。公开信息显示,火星演唱会主办单位包括天娱传媒、亚美娱乐、华晨宇工作室。 天眼查知识产权信息显示,北京亚美时代文化传媒有限公司曾…

    行业动态 2025年12月1日
  • 茶颜悦色退股果茶品牌果呀呀

    天眼查App显示,近日,果呀呀关联公司长沙新鲜力企业管理有限公司发生工商变更,湖南茶悦文化产业发展集团有限公司退出股东行列,新增长沙市梦莱品牌管理有限公司为股东。 长沙新鲜力企业管理有限公司成立于2015年7月,法定代表人为张志雄,注册资本55.56万人民币,经营范围为企业管理服务、冷热饮品制售、预包装食品零售。股东信息显示,该公司现由长沙嗨果企业咨询管理有…

    行业动态 2024年8月14日
  • 旗舰9系 巅峰力作!享界S9T售价30.98万元起,9月21日开启交付

    2025年9月16日,在鸿蒙智行享界S9T新品发布会上,享界S9T正式上市。作为鸿蒙智行首款旅行车,享界S9T兼顾轿车的优雅舒适与SUV的豪华大空间,并首批搭载华为乾崑智驾ADS 4、全新华为途灵平台、智慧电动门、华为百万像素智慧投影大灯、全维防碰撞4.0、鸿蒙ALPS健康座舱、华为悦彰音响卓越系列等旗舰9系领先科技配置,是一款集高颜值、大空间、超智慧、长续…

    2025年9月17日
  • 娃哈哈旗下江西吉林两地公司完成更名

    天眼查App显示,近日,吉安娃哈哈启力饮料有限公司发生工商变更,企业名称变更为吉安恒枫饮料有限公司。 吉安恒枫饮料有限公司成立于2011年4月,法定代表人为王斌,注册资本600万美元,经营范围包括饮料生产、食品生产、食品销售等。股东信息显示,该公司由荣辉投资有限公司、丽水宏博饮料有限公司共同持股。值得一提的是,近期,吉林娃哈哈启力饮料有限公司也完成更名,企业…

发表回复

您的电子邮箱地址不会被公开。 必填项已用*标注

联系我们

邮件:939297903@qq.com

工作时间:周一至周五,9:30-18:30,节假日休息

关注微信