薛之谦公司已注册戒指品牌商标

#INWARD为薛之谦公司旗下品牌#

#薛之谦戒指#

今日,薛之谦生日场演唱会为谦友们送上刻有“717”的生日戒指作为礼物。通过查询二手平台,该款戒指已被炒至数百元至千元以上。据悉,戒指品牌为IN WARD,该品牌天猫旗舰店关联公司为上海映惑商贸有限公司。

天眼查App显示,上海映惑商贸有限公司成立于2022年6月,法定代表人为林殷,注册资本100万人民币,经营范围包括互联网销售、珠宝首饰零售、工艺美术品及收藏品零售等。股东信息显示,该公司由林殷和上海潮石文化传播有限公司共同持股,后者由薛之谦和父亲薛良园分别持股50%。

薛之谦公司已注册戒指品牌商标

薛之谦公司已注册戒指品牌商标

薛之谦公司已注册戒指品牌商标

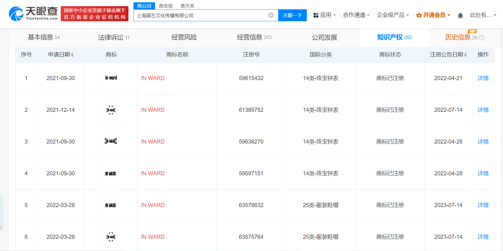
此外,上海潮石文化传播有限公司已注册多枚“IN WARD”商标,国际分类涉及珠宝钟表、服装鞋帽。

天眼查信息:https://www.tianyancha.com/company/2321088899/zhishi

本文来自投稿,不代表创造权威IP 赋能创业者——IP百创立场,如若转载,请注明出处:创造权威IP 赋能创业者——IP百创

(0)
打赏 微信扫一扫 微信扫一扫 支付宝扫一扫 支付宝扫一扫
上一篇 2024年7月17日
下一篇 2024年7月17日

相关推荐

  • 国调基金二期等在辽宁再成立私募基金

    天眼查App显示,近日,辽宁国调战新产业基金合伙企业(有限合伙)成立,执行事务合伙人为沈阳市诚泓投资管理有限公司,出资额19.94亿人民币,经营范围为以私募基金从事股权投资、投资管理、资产管理等活动。合伙人信息显示,该基金由中国国有企业结构调整基金二期股份有限公司、国新基金旗下国脉兴辽企业管理(北京)合伙企业(有限合伙),以及辽宁控股(集团)有限责任公司、辽…

    2024年8月23日
  • #三一重能在天津成立新公司# 注册资本1000万

    天眼查App显示,8月29日,三一(天津)风电装备有限公司成立,法定代表人为李强,注册资本1000万人民币,经营范围含机械电气设备制造、新能源原动设备制造、新能源原动设备销售、风力发电技术服务等。股东信息显示,该公司由三一重能全资持股。 天眼查信息:https://www.tianyancha.com/company/7105200652

    2024年8月30日
  • #淘天集团在杭州成立数字科技公司# 注册资本1000万

    天眼查App显示,近日,杭州淘天数字科技有限公司成立,法定代表人为殷隽,注册资本1000万人民币,经营范围含食品互联网销售、食品销售、日用品销售、家用电器销售、网络设备销售、信息系统运行维护服务、网络技术服务、计算机软硬件及外围设备制造、供应链管理服务等。股东信息显示,该公司由淘天有限公司全资持股。 天眼查信息:https://www.tianyancha….

    2024年8月30日
  • 长荣酒店官网将台湾与中国并列

    #长荣桂冠酒店台籍经理剪掉五星红旗# 据媒体报道,近日,一则关于巴黎长荣桂冠酒店拒绝悬挂中国国旗的消息引发关注,据悉,长荣桂冠酒店系中国台湾品牌。 据长荣桂冠酒店官网显示,其“选择酒店”一栏“亚洲”区域下,包含“台湾”“马来西亚”“泰国”“中国”,把“台湾”与“中国”并列。天眼查App显示,长荣桂冠酒店在上海成立有一家公司,为长荣(上海)酒店有限公司,其成立…

    2024年8月15日
  • #比亚迪无人驾驶全地形车专利公布# 进出风口在顶盖增加涉水深度

    天眼查知识产权信息显示,近日,比亚迪股份有限公司申请的“全地形车”专利公布。 摘要及说明书显示,全地形车车架内设有用于放置动力模块的第一放置空间,动力模块适于与车轮相连以提供动力;顶盖位于车架的顶部,设有进风口和出风口,进风口和出风口分别与第一放置空间连通。将进风口和出风口设置于顶盖上,能够提高进风口和出风口的离地高度,从而增加全地形车的涉水深度。本发明的全…

    2024年7月25日

发表回复

您的电子邮箱地址不会被公开。 必填项已用*标注

联系我们

邮件:939297903@qq.com

工作时间:周一至周五,9:30-18:30,节假日休息

关注微信