威马汽车被强制执行6.4亿

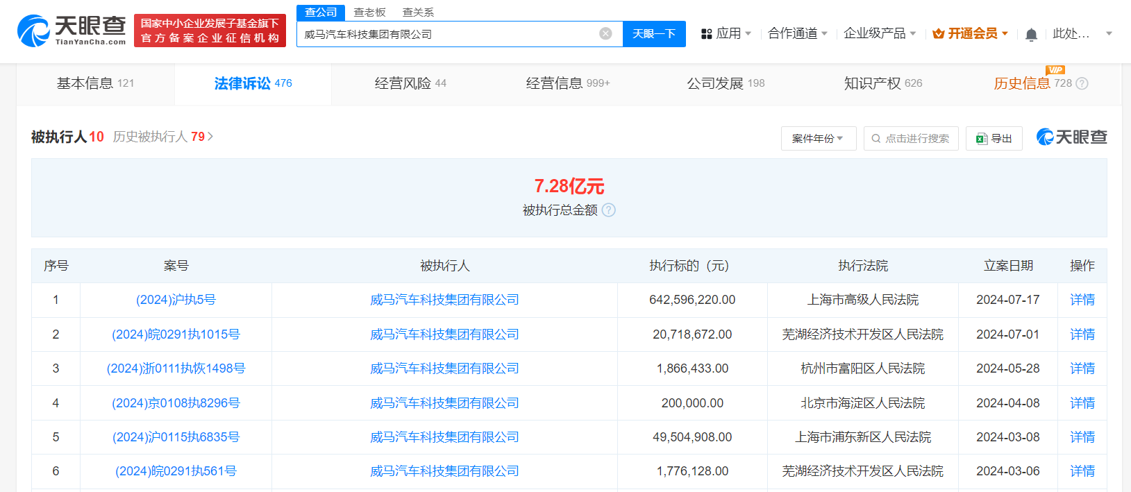
天眼查法律诉讼信息显示,近日,威马汽车科技集团有限公司、威马新能源汽车销售(上海)有限公司、威马智慧出行科技(上海)有限公司、威马汽车制造温州有限公司新增一条被执行人信息,执行标的6.42亿余元,执行法院为上海市高级人民法院。

威马汽车被强制执行6.4亿

威马汽车被强制执行6.4亿

威马汽车被强制执行6.4亿

威马汽车科技集团有限公司成立于2012年5月,法定代表人为SHEN HUI,注册资本60亿人民币,由苏州威马智慧出行科技有限公司全资持股。天眼风险信息显示,该公司目前存在10条被执行人信息,被执行总金额7.28亿元,此外,还存在多条限制消费令、失信被执行人(老赖)及终本案件信息。

天眼查信息:https://www.tianyancha.com/company/3179210675/sifa

本文来自投稿,不代表创造权威IP 赋能创业者——IP百创立场,如若转载,请注明出处:创造权威IP 赋能创业者——IP百创

(0)
打赏 微信扫一扫 微信扫一扫 支付宝扫一扫 支付宝扫一扫
上一篇 2024年7月18日
下一篇 2024年7月18日

相关推荐

  • #百度申请注册文心千帆商标

    #百度申请文心千帆大模型商标# 天眼查App显示,近日,百度在线网络技术(北京)有限公司申请注册“文心千帆大模型”商标,国际分类为网站服务,当前商标状态为申请中。此外,百度已申请注册多枚“文心工场”、“文心一言”、“万话”等商标,商标状态均为申请中。 据悉,百度近日推出面向客户提供企业级大语言模型服务的“文心千帆”大模型平台,不仅包括文心一言,还包括百度全套…

    2023年3月28日
  • 苏州康养集团增资至20亿增幅100%

    天眼查App显示,近日,苏州市健康养老产业发展集团有限公司发生工商变更,注册资本由10亿人民币增至20亿人民币,增幅100%。 该公司成立于2021年8月,法定代表人为陈隆,经营范围包括养老服务、护理机构服务、养生保健服务等。股东信息显示,该公司由苏州国有资本投资集团有限公司、苏州苏高新集团有限公司、张家港市城市投资发展集团有限公司、苏州市吴江文化旅游发展集…

    2025年12月27日
  • 智元机器人关联公司增资至9128.3万增幅约10.5%

    天眼查工商信息显示,近日,智元机器人关联公司智元创新(上海)科技股份有限公司发生工商变更,注册资本由约8263.7万人民币增至约9128.3万人民币,增幅约10.5%。 该公司成立于2023年2月,法定代表人为邓泰华,经营范围含智能机器人的研发、服务消费机器人销售、智能机器人销售、人工智能理论与算法软件开发、人工智能基础软件开发、人工智能基础资源与技术平台、…

    2025年12月2日
  • 起底举报公职人员店主烟花店

    #举报公职人员店主烟花店成立不足3年##举报公职人员后喝农药店主已去世# 12月1日,湖南郴州市联合调查组通报称,近日,北湖区一烟花爆竹店店主彭某某实名举报公职人员涉嫌违纪违规的问题,并在网络上发布其本人饮用疑似“敌草快”视频。12月2日,有网友发帖称,当事人彭某某已经去世。 天眼查App显示,郴州市北湖区勇鑫烟花零售店成立于2023年9月,经营者为彭某某,…

    行业动态 2025年12月2日
  • 商业破圈背后,3D虚拟人的真风口时代到了

    配图来自Canva可画 近年来包括ChatGPT、虚拟人等在内的一系列技术的爆发,让整个产业界重新燃起了对新技术革命的信心。面对扑面而来的“超级风口”,很多企业的心态却是“愈加复杂”:一方面风口带来的产业机遇人人向往;而另一方面,很多言过其实的“科技”一再被证伪,谁也不愿意去做那个“风口上的猪”,这种心理也反映在人们对待虚拟人行业的态度上。 在很多人看来,今…

    2023年8月24日

发表回复

您的电子邮箱地址不会被公开。 必填项已用*标注

联系我们

邮件:939297903@qq.com

工作时间:周一至周五,9:30-18:30,节假日休息

关注微信