泛海控股被强制执行17.8亿

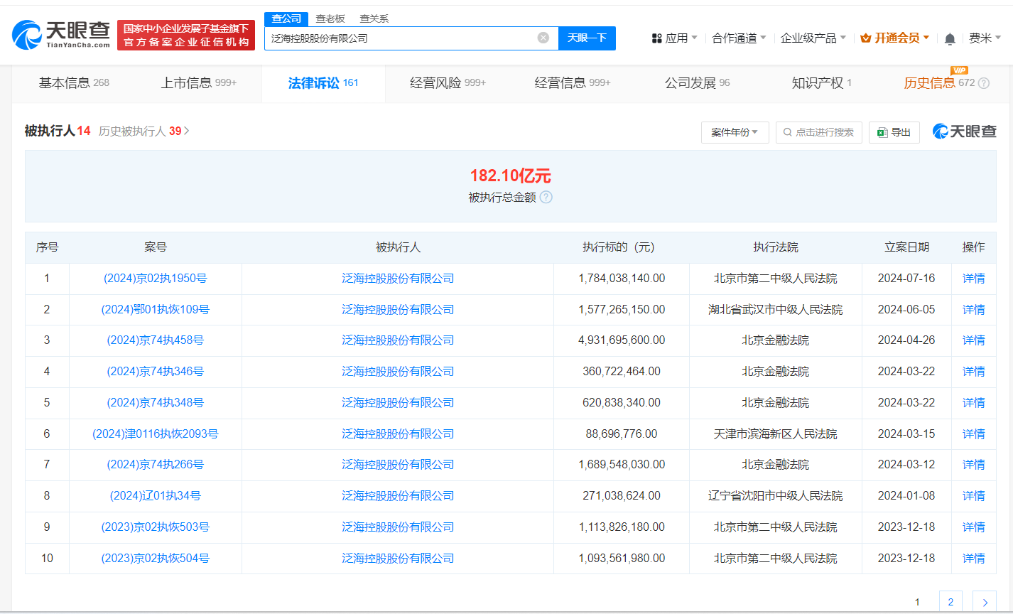
天眼查法律诉讼信息显示,近日,泛海控股股份有限公司新增1则被执行人信息,执行标的17.8亿余元,执行法院为北京市第二中级人民法院。

泛海控股被强制执行17.8亿

泛海控股被强制执行17.8亿

泛海控股被强制执行17.8亿

风险信息显示,泛海控股股份有限公司现存14条被执行人信息,被执行总金额超182亿元。此外,该公司还存在多个股权冻结、限制消费令和终本案件信息。

天眼查信息:https://www.tianyancha.com/company/877576/sifa

本文来自投稿,不代表创造权威IP 赋能创业者——IP百创立场,如若转载,请注明出处:创造权威IP 赋能创业者——IP百创

(0)
打赏 微信扫一扫 微信扫一扫 支付宝扫一扫 支付宝扫一扫
上一篇 2024年7月22日 下午5:23
下一篇 2024年7月22日

相关推荐

  • 梓渝经纪公司新公司名叫鹤玺

    #梓渝经纪公司成立音乐文化公司# 天眼查App显示,近日,北京鹤玺音乐文化有限公司成立,法定代表人为李莼,注册资本100万人民币,经营范围包括文艺创作、文化娱乐经纪人服务、组织文化艺术交流活动等。股东信息显示,该公司由北京瑞鹤文化传媒有限公司全资持股,后者由梓渝(郑朋)经纪人李莼全资持股,变更记录显示,此前,梓渝(郑朋)转让10%股权给李莼。 天眼查信息:h…

    2026年3月5日
  • 小鹏汽车于保定成立科技公司# 注册资本500万

    天眼查App显示,近日,保定橙鹏汽车科技有限公司成立,法定代表人为李初旭,注册资本500万人民币,经营范围包括汽车零部件研发;小微型客车租赁经营服务;汽车销售;集中式快速充电站;电动汽车充电基础设施运营等。股权穿透图显示,该公司由北京小鹏汽车有限公司全资持股,后者由小鹏汽车销售有限公司全资持股。 天眼查信息:https://www.tianyancha.co…

    2023年3月2日
  • 上海商汤智能科技公司增资至177.5亿增幅约9%

    天眼查工商信息显示,近日,上海商汤智能科技有限公司发生工商变更,注册资本由162.5亿人民币增至177.5亿人民币,增幅约9%。 该公司成立于2017年12月,法定代表人为杨帆,经营范围含在国家允许外商投资的领域依法进行投资,为其所投资企业提供产品生产、销售和市场开发过程中的技术支持、员工培训、企业内部人事管理等服务。股东信息显示,该公司由商汤集团有限公司全…

    2025年10月28日
  • 荣耀500系列发布:双超配置重塑档位标准,售价2699元起

    【天极网手机频道】 11月24日,荣耀500系列在杭州正式发布,该产品系列在“影像、性能、续航、外观、体验”等方面实现全维升级突破,重塑档位标准。荣耀500系列共两个版本,分别为荣耀500超级标准版与荣耀500超级Pro版,起售价分别为2699元、3599元,目前已经开启预售,11月27日10:00全渠道正式开售。 以“双超”内核 重塑档位标准 荣耀终端股份…

    2025年11月24日
  • 中信金融资产等在甘肃成立企管合伙企业# 出资额23.7亿

    天眼查App显示,近日,甘肃公信联企业管理合伙企业(有限合伙)成立,执行事务合伙人为华融资本管理有限公司,出资额约23.7亿人民币,经营范围为企业总部管理、自有资金投资的资产管理服务。合伙人信息显示,该合伙企业由中信金融资产(HK.02799)、甘肃长达路业有限责任公司和华融资本管理有限公司共同出资。 天眼查信息:https://www.tianyancha…

    2024年9月6日

发表回复

您的电子邮箱地址不会被公开。 必填项已用*标注

联系我们

邮件:939297903@qq.com

工作时间:周一至周五,9:30-18:30,节假日休息

关注微信