侵权杨洋商家30万赔款仍未履行

#餐饮公司侵权杨洋案成终本案件#

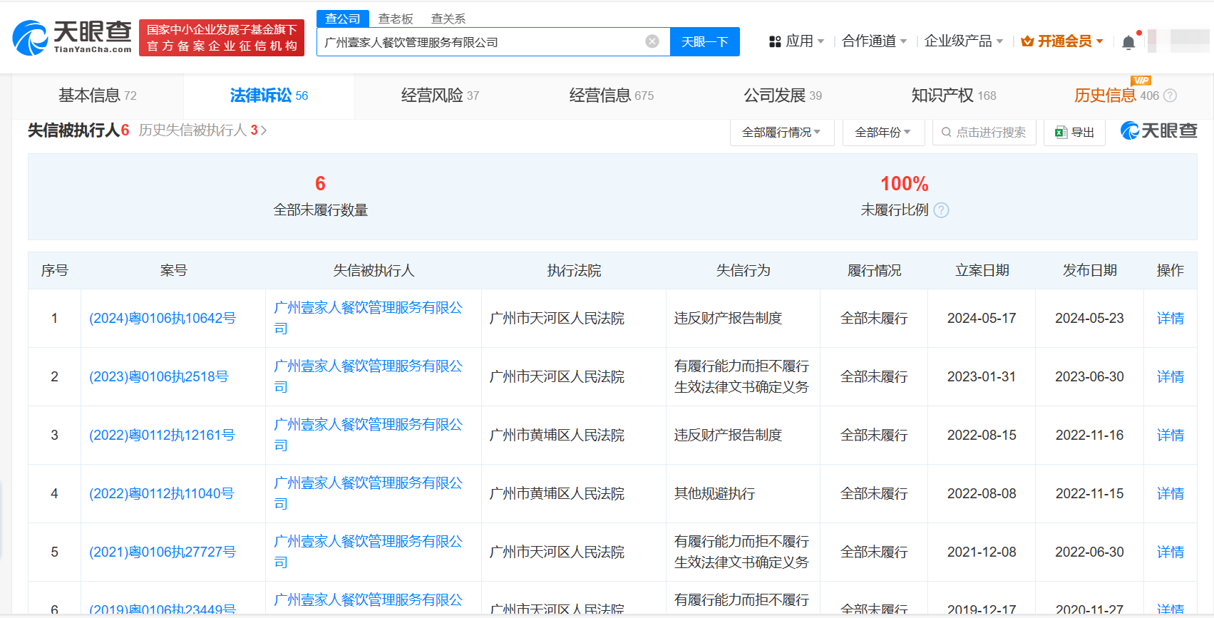
天眼查法律诉讼信息显示,近日,广州壹家人餐饮管理服务有限公司新增一则终本案件信息,未履行金额30.2万余元,涉及杨洋与该公司相关肖像权纠纷案件。案件流程信息显示,杨洋于2022年起诉该公司,法院2023年向该公司公告送达民事判决书。今年1月,该公司因此案被强制执行30.2万余元,随后又被限制高消费。

侵权杨洋商家30万赔款仍未履行

侵权杨洋商家30万赔款仍未履行

侵权杨洋商家30万赔款仍未履行

值得一提的是,广州壹家人餐饮管理服务有限公司已多次被列为失信被执行人(老赖),并多次被列入经营异常名录。

天眼查信息:https://www.tianyancha.com/company/25486335/sifa

本文来自投稿,不代表创造权威IP 赋能创业者——IP百创立场,如若转载,请注明出处:创造权威IP 赋能创业者——IP百创

(0)
打赏 微信扫一扫 微信扫一扫 支付宝扫一扫 支付宝扫一扫
上一篇 2024年7月24日
下一篇 2024年7月24日

相关推荐

  • 陈晓名下仅1家工作室存续

    #陈晓陈妍希 婚姻破裂# 今日,有八卦媒体爆料称陈晓陈妍希婚姻破裂,引发网友关注。 天眼查App显示,陈晓共关联3家工作室,包括无锡晓晓星影视工作室、上海陈晓影视文化工作室、新沂晓娱儿影视文化工作室,其中后两家已分别于2020年、2022年注销。目前为存续状态的无锡晓晓星影视工作室成立于2018年5月,出资额50万人民币,投资人为陈晓,经营范围含电影的制作、…

    2024年6月19日
  • #奇瑞汽车在石家庄成立动力电池公司# 注册资本2000万

    天眼查App显示,近日,石家庄奇达动力电池科技有限公司成立,法定代表人为袁毅,注册资本2000万人民币,经营范围含电池制造、电池销售、机动车修理和维护,普通货物仓储服务等。股东信息显示,该公司由奇瑞汽车旗下芜湖奇达动力电池系统有限公司全资持股。 天眼查信息:https://www.tianyancha.com/company/7076202023

    2024年8月12日
  • 全面高压化+全面超充化:解决新能源车焦虑的两把钥匙

    新能源汽车的发展正在踏入快车道。据中汽协数据,今年1-10月,我国新能源汽车产销分别完成735.2万辆和728万辆,同比分别增长33.9%和37.8%,市场占有率达到30.4%。 但是,新能源汽车仍然面临诸多痛点。巨量算数发布的《2022年中国新能源汽车用户调研》显示,在新能源汽车用户使用不满意因素中,续航能力不足、充电时间过长、充电不方便位列其中,在用户不…

    2023年12月8日
  • 把事当事的你,如何在职场中掌控自若?

    一个四十不惑的中年男人,胸有远大理想,但却四处碰壁,他还有机会逆风翻盘吗?如果我说,只要把握住人生中关键的几步,就可能创造奇迹、掌控人生,你信吗? 要说绝望、一事无成,莫过于公元207年的刘备,46岁的他回首往事,虽然贵为中山靖王之后,但家世没落,只能“贩履织席”为生。纵然有匡扶汉室的宏图壮志,但征战20余年,屡战屡败,投奔过公孙瓒、吕布,也曾在曹操、袁绍、…

    2023年10月26日
  • AI搜索爆了,小红书、百度都急了

    说起近年来最火爆的技术,那一定非AI莫属了。从ChatGPT的横空出世,再到国内外掀起的百模大战,AI一度成为兵家必争之地。伴随着AI技术的逐渐成熟,越来越多AI应用被创造出来,AI绘画、AI笔记、AI助手…… 在AI应用遍地开花的同时,AI和行业的结合也愈发紧密。众所周知,在进入互联网时代以后,手机的普及率持续提升,搜索早已成为人们的日常习惯之一。不过,和…

    2025年1月24日

发表回复

您的电子邮箱地址不会被公开。 必填项已用*标注

联系我们

邮件:939297903@qq.com

工作时间:周一至周五,9:30-18:30,节假日休息

关注微信