旭旭宝宝公司登记马猴潮选logo著作权

#旭旭宝宝公司申请马猴超市商标#

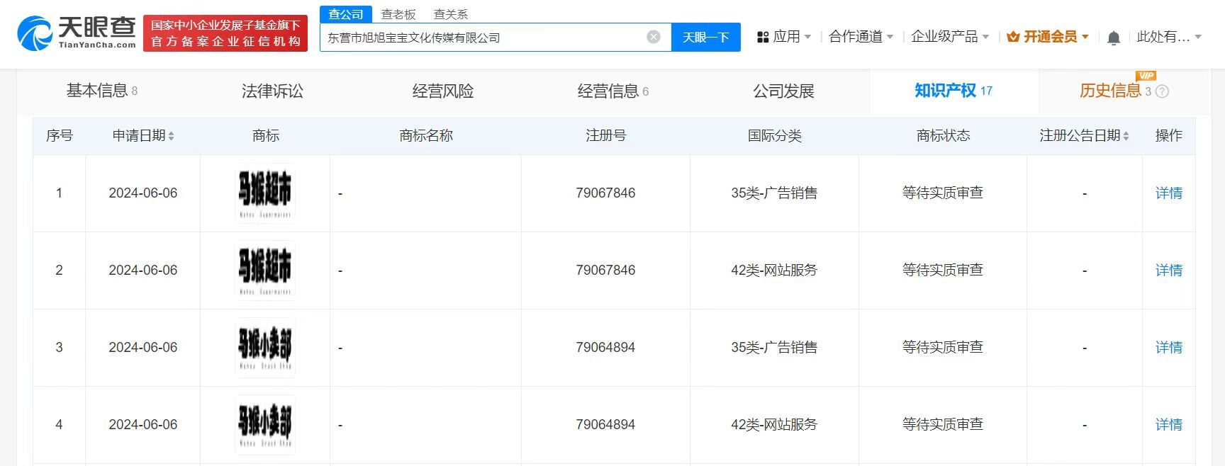
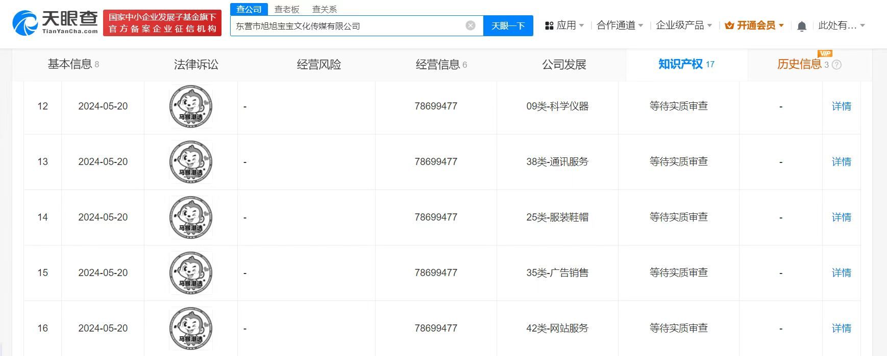
天眼查知识产权信息显示,近日,旭旭宝宝关联公司东营市旭旭宝宝文化传媒有限公司登记“马猴潮选logo”美术作品著作权。此外,近期,该公司已申请多枚“马猴小卖部”“马猴超市”“马猴潮选”等商标,国际分类为广告销售、网站服务等,当前商标状态均为等待实质审查。

旭旭宝宝公司登记马猴潮选logo著作权

旭旭宝宝公司登记马猴潮选logo著作权

旭旭宝宝公司登记马猴潮选logo著作权

旭旭宝宝公司登记马猴潮选logo著作权

东营市旭旭宝宝文化传媒有限公司成立于2023年8月,法定代表人为苏志伟,注册资本100万人民币,经营范围含摄像及视频制作服务、文化娱乐经纪人服务、体育经纪人服务、互联网销售、网络文化经营等,由苏志伟、杨凯共同持股。据悉,“马猴潮选”系旭旭宝宝公司直播间,近期,旭旭宝宝也开始直播带货。

天眼查信息:https://www.tianyancha.com/company/6378021278

本文来自投稿,不代表创造权威IP 赋能创业者——IP百创立场,如若转载,请注明出处:创造权威IP 赋能创业者——IP百创

(0)
打赏 微信扫一扫 微信扫一扫 支付宝扫一扫 支付宝扫一扫
上一篇 2024年7月26日
下一篇 2024年7月26日

相关推荐

  • 百信银行:天糊开局,却打不出王炸?

    中国数字银行赛道正进入一场前所未有的“模式验证期”。随着金融监管趋严、利率市场化推进、互联网流量红利见顶,行业从“拼规模”转向“拼风控”、“拼场景”、“拼生态”。在这场没有硝烟的战争中,百信银行作为国内首家独立法人形式的互联网银行,虽在股东背景与科技融合上具备先发优势,却面临着净利润增长乏力、消费信贷市场被多方蚕食、资金成本高企的严峻现实。 2025年前三季…

    2025年11月11日
  • 智己汽车新专利可提醒驾驶员疲劳状态

    #智己汽车基于驾驶员状态的车辆控制专利获授权# 天眼查知识产权信息显示,近日,智己汽车科技有限公司申请的“基于驾驶员状态的车辆控制方法、装置、车辆及存储介质”专利获授权。 摘要显示,所述方法包括:接收用户设置的对于不同驾驶员状态等级的控制策略,所述驾驶员状态包括疲劳驾驶状态;根据所述控制策略生成对应不同驾驶员状态等级的车辆控制信号并存储,所述车辆控制信号至少…

    2024年8月9日
  • 威马汽车等被强制执行1127万

    天眼查法律诉讼信息显示,9月3日,威马汽车科技集团有限公司新增2条被执行人信息,执行标的合计1127万余元,涉及买卖合同纠纷等案件,被执行人还包括威马新能源汽车销售(上海)有限公司、深圳市安尔泰五金制品有限公司等,执行法院为诸暨市人民法院、东莞市第二人民法院。 威马汽车科技集团有限公司成立于2012年5月,法定代表人为SHEN HUI,注册资本60亿人民币,…

    2024年9月4日
  • 二手电商闲鱼,踉跄迎来行业“乱纪元”

    闲鱼与其身后庞大且被资本寄予厚望的二手经济,可能会面临新一轮的平台大战和内耗。

    2023年3月17日
  • 十个勤天公司由2位导演持股

    #十个勤天成员均在公司任职##蒋敦豪发长文回应# 据媒体报道,近日,《种地吧》发布招聘启事,被猜测要换人或加新人,引发粉丝反对。随后,导演发微博道歉,并称“十个勤天只会是十个勤天”。蒋敦豪也发长文回应称,“新人是十个勤天这家公司的新员工,但不是十个勤天的新成员,十个勤天只会是我们10个人。” 天眼查App显示,“十个勤天”关联公司为十个勤天(杭州)农业发展有…

    2024年7月23日

发表回复

您的电子邮箱地址不会被公开。 必填项已用*标注

联系我们

邮件:939297903@qq.com

工作时间:周一至周五,9:30-18:30,节假日休息

关注微信