任泉持股公司因工资问题被罚1万

#任泉持股的分享时代因工资问题被罚#

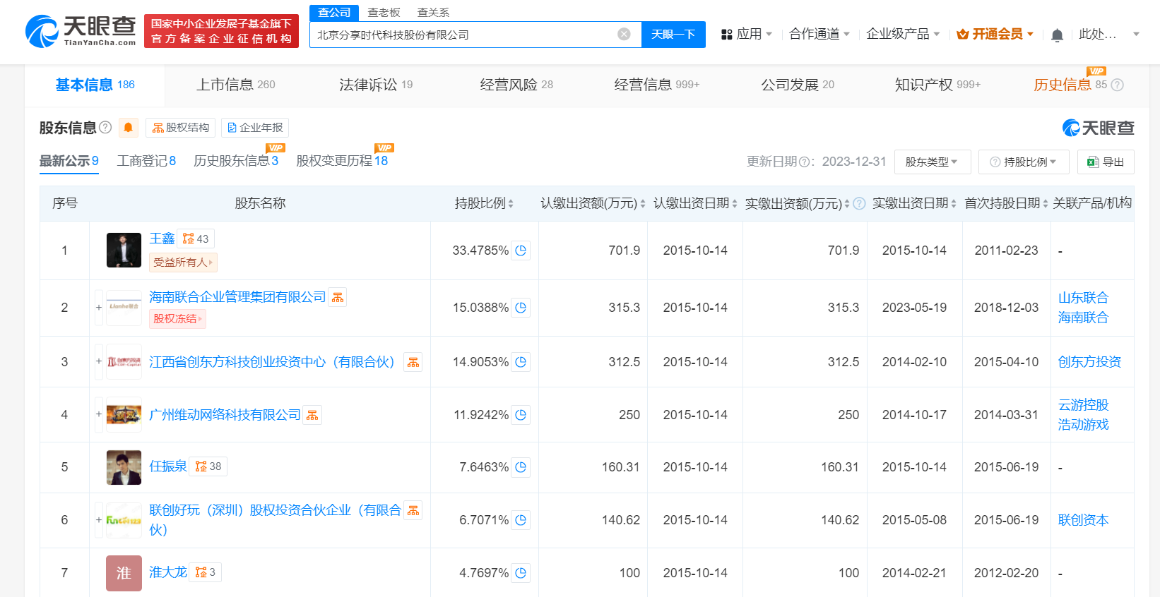
天眼查经营风险信息显示,近日,北京分享时代科技股份有限公司因涉及工资问题,违反《劳动保障监察条例》,被北京市朝阳区人力资源和社会保障局罚款1万元。

北京分享时代科技股份有限公司成立于2011年2月,法定代表人为王鑫,注册资本约2824万人民币,由王鑫、海南联合企业管理集团有限公司、任振泉(任泉)等共同持股。值得一提的是,该公司曾于2016年6月在新三板挂牌,2019年2月终止挂牌。

任泉持股公司因工资问题被罚1万

任泉持股公司因工资问题被罚1万

任泉持股公司因工资问题被罚1万

天眼查信息:https://www.tianyancha.com/company/2314245312

本文来自投稿,不代表创造权威IP 赋能创业者——IP百创立场,如若转载,请注明出处:创造权威IP 赋能创业者——IP百创

(0)
打赏 微信扫一扫 微信扫一扫 支付宝扫一扫 支付宝扫一扫
上一篇 2024年7月29日
下一篇 2024年7月29日

相关推荐

  • 电动车新国标迎来修订机会,用户的真实需求能被满足吗?

    电动车安全问题频出,新国标无心之失?

    2024年4月12日
  • 首次官宣“说唱造梦者”的周杰伦,能给说唱综艺续命吗?

    ​作者| 李寻欢 编辑| 赤木瓶子 歌词里“英文可以少一点”、方言可以多一点、不要有脏字,做说唱要松弛,但又要有自己的个性。 在优酷新说唱综艺《说唱梦工厂》的第一期,面对好奇的GAI和布瑞吉,周杰伦对“期望见到什么样的说唱歌手”给出了他的答案。 请周杰伦的好处显而易见。光是“周杰伦官宣新音综”的消息,就让《说唱梦工厂》在全网斩获了数十个热搜,更别提,这还是周…

    行业动态 2024年5月27日
  • 网文IP改编「生死局」,是编剧太“坑”还是观众太“挑”?

    作者| 李寻欢 今年上半年剧集市场的爆款剧和黑马剧最突出的特点是什么? 答案显而易见:多为大女主剧和女性群像剧。《玫瑰的故事》黄亦玫敢爱敢恨,《墨雨云间》薛芳菲逆风翻盘,《惜花芷》花芷逐步成为一家之主。 这些剧分开看似乎都是传统言情剧,但细分下来,类型不可谓不繁多,包括但不限于现言成长、大女主爽剧和古风甜宠,且都是由IP改编而来。《玫瑰的故事》改编自亦舒同名…

    行业动态 2024年8月6日
  • #工银投资等在珠海成立产业投资基金# 出资额20亿

    天眼查工商信息显示,近日,珠海工融华金产业投资基金合伙企业(有限合伙)成立,执行事务合伙人为珠海华金领创基金管理有限公司、工银资本管理有限公司,出资额20亿人民币,经营范围为以私募基金从事股权投资、投资管理、资产管理等活动,创业投资。合伙人信息显示,该基金由工银金融资产投资有限公司、工银资本管理有限公司、珠海市新质生产力投资基金合伙企业(有限合伙)、珠海华金…

    2025年9月5日
  • #华润新能源等在曹县成立风电公司# 注册资本11亿

    天眼查App显示,近日,华润风电(曹县)有限公司成立,法定代表人为马旭,注册资本11亿人民币,经营范围含风力发电技术服务、太阳能发电技术服务、以自有资金从事投资活动、新能源原动设备制造等。股东信息显示,该公司由华润新能源(曹县)有限公司、中铁二十四局集团有限公司、中车山东风电有限公司、电气风电共同持股。 天眼查信息:https://www.tianyanch…

    2024年4月12日

发表回复

您的电子邮箱地址不会被公开。 必填项已用*标注

联系我们

邮件:939297903@qq.com

工作时间:周一至周五,9:30-18:30,节假日休息

关注微信