恒大地产等被强执14.8亿

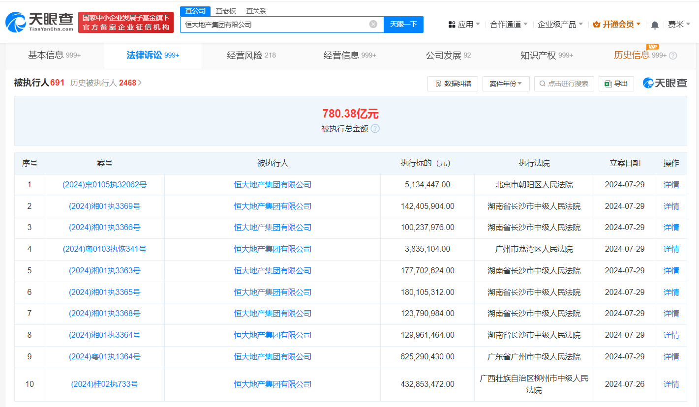
天眼查法律诉讼信息显示,7月29日,恒大地产集团有限公司新增9条被执行人信息,执行标的合计14.8亿余元,部分案件被执行人还包括恒大地产集团长沙置业有限公司、湖南湘天房地产开发有限公司、怀化市骏达房地产开发有限公司等。

恒大地产等被强执14.8亿

恒大地产等被强执14.8亿

天眼风险信息显示,恒大地产集团有限公司存在690余条被执行人信息,被执行总金额超780亿元,此外,该公司还存在多条限制消费令、失信被执行人(老赖)及终本案件信息。

天眼查信息:https://www.tianyancha.com/company/7219966/sifa

本文来自投稿,不代表创造权威IP 赋能创业者——IP百创立场,如若转载,请注明出处:创造权威IP 赋能创业者——IP百创

(0)
打赏 微信扫一扫 微信扫一扫 支付宝扫一扫 支付宝扫一扫
上一篇 2024年7月31日
下一篇 2024年7月31日

相关推荐

  • #美团在哈尔滨成立新公司# 注册资本500万美元

    天眼查App显示,近日,哈尔滨汉骑科技有限公司成立,法定代表人为孙可青,注册资本500万美元,经营范围含工程和技术研究和试验发展,电子产品销售,计算机系统服务,人工智能基础软件开发,人工智能应用软件开发,软件开发,助动自行车、代步车及零配件销售等。股东信息显示,该公司由美团关联公司Xigua Limited全资持股。 天眼查信息:https://www.ti…

    2024年6月17日
  • 中信证券接手首创旗下济南首钜置业

    #中信证券再接手首创旗下公司# 天眼查App显示,近日,济南首钜置业有限公司发生工商变更,原全资股东北京首创商业管理有限公司退出,新增中信证券为股东并全资持股,同时,公司法定代表人及多位主要人员也发生变更。该公司成立于2016年8月,注册资本约3.63亿人民币。 值得一提的是,近日,北京首创商业管理有限公司还退出武汉首钜商业管理有限公司(曾用名:武汉首创钜大…

    2024年8月21日
  • 蚂蚁集团子公司入股秘塔AI公司

    天眼查App显示,近日,上海秘塔网络科技有限公司发生工商变更,新增蚂蚁集团子公司上海云玡企业管理咨询有限公司,以及南通合远壹号创业投资合伙企业(有限合伙)为股东,同时,公司注册资本由约299.58万人民币增至约363.28万人民币。 上海秘塔网络科技有限公司成立于2018年4月,法定代表人为闵可锐,经营范围含网络技术服务、软件开发、计算机软硬件及辅助设备的销…

    2024年8月19日
  • 洋码头的“爆雷”,是C2C买手制的“锅”

    来源 | 熔财经 文 | 安安 房东无租可收,租户交租难住,银行贷款难收。 去年,蛋壳公寓爆雷事件让多少人触目惊心。只是时隔一年,这趟“雷”轮到“洋码头”身上了。 近日多家媒体报道称,从去年7月份开始,账户内十多万货款便无法提现。另据多位买手透露,称自己的货款遭到平台长期拖欠支付,数额从数万至数十万不等。另外,洋码头上海静安区的总部办公场所目前已人去楼空;物…

    互联网 2022年9月22日
  • 中国电信申请天翼AI商标

    天眼查知识产权信息显示,近日,中国电信集团有限公司申请多枚“天翼AI”“Tele AI”图形商标,国际分类为广告销售、网站服务、通讯服务和科学仪器,当前商标状态均为等待实质审查。 天眼查信息:https://www.tianyancha.com/company/3137567605/zhishi

    2024年8月21日

发表回复

您的电子邮箱地址不会被公开。 必填项已用*标注

联系我们

邮件:939297903@qq.com

工作时间:周一至周五,9:30-18:30,节假日休息

关注微信