南派三叔公司申请稻米驿站商标

#南派三叔公司申请稻米相关商标#

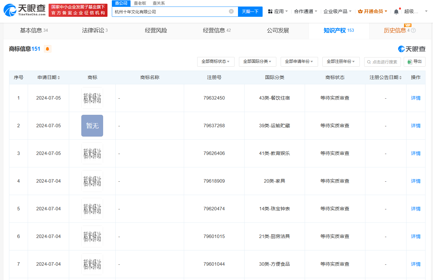
天眼查App显示,近日,杭州十年文化有限公司申请注册多枚“稻米驿站”商标,国际分类涉及教育娱乐、方便食品等,当前商标状态均为等待实质审查。

南派三叔公司申请稻米驿站商标

南派三叔公司申请稻米驿站商标

南派三叔公司申请稻米驿站商标

杭州十年文化有限公司成立于2020年5月,法定代表人为徐磊(南派三叔),注册资本500万人民币,由徐磊全资持股。据悉,盗墓笔记的书粉被称为稻米(盗迷),在长白山脚下的“稻米驿站”,则成为许多粉丝的打卡地。

天眼查信息:https://www.tianyancha.com/company/3432026914

本文来自投稿,不代表创造权威IP 赋能创业者——IP百创立场,如若转载,请注明出处:创造权威IP 赋能创业者——IP百创

(0)
打赏 微信扫一扫 微信扫一扫 支付宝扫一扫 支付宝扫一扫
上一篇 2024年7月31日
下一篇 2024年7月31日

相关推荐

  • 杨幂起诉实业公司侵权

    #杨幂诉实业公司网络侵权# 天眼查法律诉讼信息显示,近日,北京互联网法院向上海影力实业有限公司公告送达杨幂与其网络侵权责任纠纷一案起诉状副本、应诉通知书、开庭传票等,自公告发出之日起经过30日即视为送达,并定于举证期满后的第3日线上公开审理此案。 天眼查信息:https://www.tianyancha.com/judicialcase/detail/121…

    2024年8月22日
  • 三一重工在北京成立机械公司# 注册资本1000万

    天眼查App显示,近日,北京三一机械有限公司成立,法定代表人为王伟,注册资本1000万人民币,经营范围含金属加工机械制造,机械设备销售,机械零件、零部件销售,汽车零配件零售,汽车零配件批发,新能源汽车整车销售,新能源汽车废旧动力蓄电池回收及梯次利用,新能源汽车电附件销售,充电桩销售等。股权全景穿透图显示,该公司由三一汽车制造有限公司全资持股,后者为三一重工全…

    2024年8月26日
  • #王小川百川智能在广州成立新公司# 注册资本1000万

    天眼查App显示,近日,广州百川科技有限公司成立,法定代表人为李施政,注册资本1000万人民币,经营范围含第一类医疗器械销售、第二类医疗器械销售、保健食品(预包装)销售、人工智能应用软件开发、互联网数据服务、健康咨询服务、药品互联网信息服务、依托实体医院的互联网医院服务等。股东信息显示,该公司由王小川实控的北京百川智能科技有限公司全资持股。 天眼查信息:ht…

    2024年6月17日
  • 雷军想带货,但条件不允许?

    这段时间,雷军前往巴黎出差,在短视频里意外又展现了一波“带货天赋”,据悉,雷军同款充电宝、耳机、墨镜甚至辣酱……无一不火,正如雷军当初无意间让凡客起死回生,大佬一个细微的举动,够普通品牌忙活半辈子。 如果说互联网的尽头是带货,那雷军就是直播带货界的“沧海遗珠”,翻看其抖音评论区,不少人苦口婆心地劝雷总带货。雷总从善如流,近日,雷军在个人抖音号的商品橱窗里上线…

    2024年8月16日
  • 南派三叔曾持股公司已注册藏海花商标

    8月26日,由南派三叔担任总监制的探险题材网剧《藏海花》正式开播,多个相关话题登上热搜。 天眼查知识产权信息显示,“藏海花”已被多方申请注册为商标,申请人包括多家科技、文化创意、酒业公司及多位自然人,国际分类涉及家具、教育娱乐、方便食品等,当前商标状态多为已注册。 值得一提的是,杭州宁静海文化创意有限公司已成功注册多枚“藏海花”商标,该公司成立于2014年7…

    2024年8月27日

发表回复

您的电子邮箱地址不会被公开。 必填项已用*标注

联系我们

邮件:939297903@qq.com

工作时间:周一至周五,9:30-18:30,节假日休息

关注微信