董宇辉公司成功注册俞辉同行商标

#与辉同行成功注册俞辉同行商标#

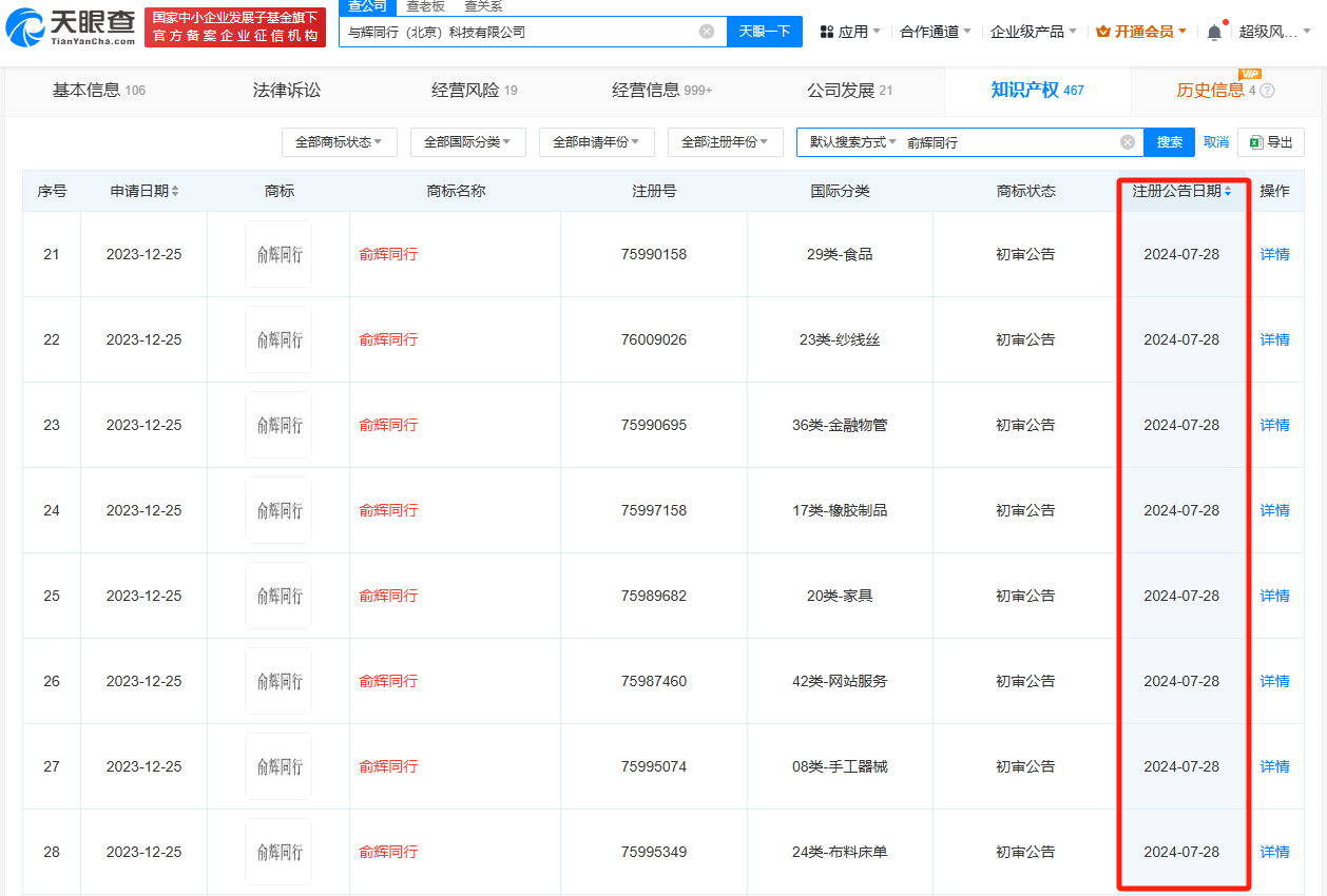
天眼查App显示,近日,与辉同行(北京)科技有限公司申请注册的多个“俞辉同行”商标新增注册公告,国际分类涉及食品、家具、运输工具等。

董宇辉公司成功注册俞辉同行商标

董宇辉公司成功注册俞辉同行商标

董宇辉公司成功注册俞辉同行商标

董宇辉公司成功注册俞辉同行商标

该公司成立于2023年12月,法定代表人、执行董事、经理为董宇辉,监事为俞敏洪,现由北京新东方迅程网络科技有限公司全资持股。据媒体报道,近日,董宇辉从东方甄选离职,俞敏洪称将与辉同行“送”给董宇辉。

天眼查信息:https://www.tianyancha.com/company/6714087152/zhishi

本文来自投稿,不代表创造权威IP 赋能创业者——IP百创立场,如若转载,请注明出处:创造权威IP 赋能创业者——IP百创

(0)
打赏 微信扫一扫 微信扫一扫 支付宝扫一扫 支付宝扫一扫
上一篇 2024年7月31日
下一篇 2024年7月31日

相关推荐

  • 王鹤棣潮牌登记咖啡作品著作权

    #王鹤棣潮牌登记蛋糕咖啡作品著作权# 天眼查App显示,近日,广州缔造品牌管理有限公司“D.DESIRABLE千层蛋糕”“D.DESIRABLE热拿铁”两项作品著作权获得登记批准,类别均为美术作品。 该公司成立于2022年9月,法定代表人为康亢,监事为王鹤棣,由王鹤棣、康亢分别持股51%和49%。公开资料显示,该公司为王鹤棣潮牌D.Desirable关联公司…

    2024年7月25日
  • 40元低价游组团社刚被吊销许可证

    #40元低价游旅行社被吊证后仍组团##官方通报老人报40元团4天3晚游桂林# 近日,据媒体报道,有网民发布视频,称其母亲参加“40元4天3晚桂林低价游”,引发关注。对此,桂林市通报称,该旅游团组团社海南佰骏国际旅行社有限公司涉嫌的违法违规行为,将由海南省旅游行政主管部门依法查处;地接社桂林美好国际旅游有限公司涉嫌组织不合理低价游,导游涉嫌向旅游者虚假宣传兜售…

    2024年7月17日
  • 巨头疲软 行业内卷,极越为谁而“亡”?

    在上海嘉定叶城路1688号的极越办公楼里,最显眼的位置上,写着一句话:“中国智能汽车史上,必将拥有每个极越人的名字。”

    本以为这句话是公司的企业愿景,未曾想这原来是命运的嘲弄。毕竟,极越用一种极其荒唐的方式,为今年的电车圈划下了一个不太完美的符号,的确也足以被中国智能汽车史铭记。

    今年9月12日,极越宣布极越07上线48小时,订单量突破5000台,几乎赶上了今年前八个月极越01总销量,让人一度以为极越可能借此翻身,极越CEO夏一平更是为此激动落泪。

    可惜夏一平哭得太早了。仅仅三个月后,形势便急转而下,极越汽车整体进入了“停摆”状态。停工、裁员、欠款、交付延迟等等一系列事件轮番上演,把极越的窘迫推到了风口浪尖。

    据悉,极越会议室里,夏一平和股东、员工、供应商、车主代表们依旧还在进行谈判,但实质性的解决方案并没有什么进展。

    事实上,极越走到今天这一步早就有迹可循。

    数据显示,2024年1-11月,极越汽车整体销量为1.3万多辆,这个数字在一些头部车企身上,可能只是一个月的成绩。哪怕是极越的“同宗兄弟”极氪汽车,在2024年1-11月,累计交付量都达到了194,933辆,其中极氪001单月最高销量达到了14383辆。

    自2021年起,极越在百度与吉利的双重期待下一脚踏入造车圈,满身的二代光环并没有让其顺风顺水,半幅方向盘、按键开门、“带鱼屏”、声控充电口,集反人类设计之大成的极越汽车一直备受诟病,但“草台班子”的管理团队似乎对此很不以为然,甚至一度将这些问题称之为超前设计。

    或许,新能源造车阵营里远不止一个“极越”。然而今时不同往日,每家造车新势力活着的机会只有一次,倒则倒矣,他们已经很难像蔚来一样,等来合肥那样的“救世主”。

    巨头无心救“废柴”

    就在极越闪崩后,风起云涌的舆论冲击着极越,并波及这家车企的股东,大家呼吁吉利和百度站出来解决问题。或许是迫于压力,在12月13日,沉默的百度与吉利联合发布了一则声明,对极越汽车解散及后续处理问题作出了一系列回应。

    但这份声明似乎并没有要为极越未来托底的意思,反而引发了对极越更大的看空情绪。

    公开资料显示,今年上半年,百度原本计划再给极越注资30亿元,但被后者账面上的巨大窟窿吓退。11月底,夏一平曾去百度寻求资金支持,后续的结果已不言而喻。

    数据显示,截至目前,百度已累计为极越投资了88亿,其中,2022年投了41亿,2023年投了47亿。但巨额投资并没有为百度换来可观的回报,甚至在本次声量巨大的爆雷之前,不少消费者连极越这家车企都没听说过。

    有趣的是,在极越汽车“闪崩”之后,一家传媒公司宣称为极越垫付了3700万做抖音投放,并向极越讨债。但问题是,这3700万打造的极越品牌账号,哪怕把之前所有视频的流量加起来,都还比不过倒闭后的一天流量。极越如此无水准的烧钱,着实匪夷所思。

    百度之所以要下场造车,并且拿到主导权,其实是希望能够把自身的自动驾驶技术推向终端市场,进行直接的实力展示。如果这个构想能够在终端市场体现,对于百度就是极大的战略成功。

    所以百度对造车一直都有着极大的热情。

    但有意思的是,在造车大业上,百度不止一次失利。除了极越,2017年至2019年,百度还曾三次投资威马汽车,成为其最大外部股东,结局大家也都看到了。自2022年开始,威马汽车便陆续陷入各种困境,去年更是直接破产重整。

    时至今日,百度对造车的热情早已大不如前,它的心思更多转移到了大模型上。但大模型的烧钱速度比造车有过之而无不及,想要同时兼顾造车和大模型,对于百度来说,是一个不小的压力,所以钱只能用在刀刃上。

    同时,全球科技圈在疯卷大模型,微软,谷歌,META等海外厂商已经明显加大了资本开支,百度当然也会选大模型。加上极越如此不争气,百度止损也就在情理之中了。而对于摇摇欲坠的极越,一份声明或许已是最大的慷慨。

    再看吉利这边。

    这两年汽车市场兴起的价格战让一众车企苦不堪言。吉利虽然还能维持得住销量与业绩,但其经营成本也在不断攀升,尤其是支撑一家科技企业的研发成本,数据显示,2023年,吉利的研发开支分别为67.65亿元、78.1亿元。2024年上半年,吉利的研发开支达到45.53亿元,同比增长52%。

    纵使财大气粗,吉利也在计划开源节流,一来,自己花得越来越多,二来,整个车市行情如此。乘联会数据显示,2020—2023年,国内汽车行业利润率分别为6.2%、6.1%、5.7%和5%,呈现持续下行的走势。乘联会秘书长崔东树整理的数据显示,2024年前三季度,汽车行业利润率为4.6%,其中9月的行业利润率仅为3.4%。

    曾经的吉利一度信奉车海战术,旗下子品牌数不胜数,但现在为了省钱,吉利似乎正在努力改变这一点。上个月,极氪与领克宣布战略整合,根据吉利控股集团预计,通过最大化协同,其研发投入将降低10%~20%、BOM成本将降低5%~8%、产能利用率提升3%~5%、营销服务管理费用降低10%~20%。

    另外,几何也计划并入银河。

    种种迹象表明,这两位奋战在自己领域的巨头分身乏术,自顾不暇,谁也没有心思与精力再去拯救极越。而极越也仿佛一个资金黑洞。

    今年8月,包括吉利汽车、百度、极越三方管理层在内的董事会上,百度方高管询问极越的盈利预期,极越回答还需两年时间与100亿资金投入。

    然而,谁还愿意再拿出100亿与两年时间?所以,即使被百度吉利两大巨头加持,极越汽车也只能遗憾没有“好大哥”了。

    造车圈正在失去魅力

    在极越之前,新能源圈车企暴雷的故事并不新鲜。截至目前,爱驰、天际、高合、威马、赛麟汽车、拜腾汽车、博郡汽车、奇点汽车、雷丁汽车……一众新势力皆没跨过生死线。就连成绩不错的哪吒,前段时间也是危机重重。

    22222222222

    这些车企有的直接宣告破产,有的还在苦苦挣扎。在新能源造车史上,的确也有濒危车企起死回生的先例。典型的例子是蔚来汽车,2020年,蔚来汽车陷入资金瓶颈,合肥出资70亿支持,2024年,合肥国资再度增资蔚来33亿元。

    但极越们会等来下一个“合肥”吗?

    首先,此一时彼一时。当年,蔚来汽车作为昔日初代造车巨头,起码占据了先发优势,而极越遇到“合肥”的概率应该不大。毕竟,在当前的新能源汽车里,月销量才破千的极越实在令人看不到潜力,想要翻身几乎没有机会。

    其次,地方出手与否要取决于当地的财政状况,而极越汽车在两大巨头眼里所剩的价值尚且已经不多,地方审视一家企业只会变得更为严格。

    除了等待地方国资援手,这些车企还有没有被其他势力接盘的可能?事实上,巨头车企、互联网公司、新能源企业……任意一方都有过出手的经历。

    先看传统车企,长城汽车就曾接手了包括汉龙汽车、汉腾汽车、众泰汽车等多家破产企业的资产;吉利汽车也曾整合力帆汽车,并收购猎豹汽车长沙工厂。

    但问题的关键就在于当前一大批濒死的车企,崩盘后留下的窟窿连巨头看了都发愁。威马暴雷的时候,总计拖欠供应链、市场服务、销售和其他服务等合作伙伴的金额曾高达17.34亿元,涉及的债权对象不乏科大讯飞、特来电、比亚迪、蓝色光标、米其林等知名公司。

    残酷的是,目前已经累计超过30家企业在向极越催款。

    3333333333

    而吉利对极越的态度,某种程度上可能代表了所有传统车企巨头。

    再看互联网企业。国内互联网造车要么直接下场,如小米;要么投资间接下场,百度之外,360等一众企业也频频出现在各大车企名单上。百度颗粒无收的同时,360们也基本面临只付出无收获的惨淡局面。

    数据显示,2022年,360出现14年以来首次亏损,金额达到22亿元,其中,投资哪吒背后的合众新能源带来的投资亏损达到8.9亿元。2023年—2024年前三季度,360仍亏损4.92亿元、5.79亿元。

    百度养不起极越,360们更无能为力。

    最后还有一波新能源产业链企业。但有一点需要注意,头部的新能源产业玩家早在前两年就完成了对汽车市场的布局,其产业生态基本饱和。以宁德时代为例,宁德时代入股的汽车企业已经高达九家,包括智己汽车、极氪汽车,其中,拜腾汽车也已暴雷。

    可以说,整个造车圈的吸引力在一次次车企暴雷中被严重消耗,曾经热情大方的巨头资方用真金白银只换来了一盆冷水。如今,造车圈正在逐渐被资本抛弃,而整个市场似乎也失去了重新争取资本信任的底气。

    根据中汽协会的统计,2024年前三季度,重点汽车企业的销售利润率降至4.2%,超过60家的新能源汽车生产企业中,仍然只有特斯拉、比亚迪、理想、赛力斯4家实现盈利。

    极越的闹剧,无疑让电动车赛道所余不多的底气又少了一分。同时也在警醒各大蠢蠢欲动的巨头和资本,这就是盲目入局造车的代价。

    难以割舍的造车梦

    眼看新能源赛道的洗牌速度让无数车企招架不住,2025年,这片不再享有“新手保护期”的圈子还会有人孤勇地闯入吗?事实上,尽管造车势力一波接着一波地倒下,但在另一方面,还有一些企业依旧怀揣造车梦。

    今年1月份,吉祥航空的母公司均瑶集团发布产品理念和车型宣传图;7月份,卖扫地机器人的追觅被爆出进入造车赛道,计划整个造车团队有200人,首款新车采用增程式。

    一些城市对造车经济也心怀向往。典型的例子是青岛。青岛在之前发布了一则2025年的造车计划,提出到2025年,力争整车产量达到40万辆,数据显示,2023年,青岛新能源汽车产业链产值突破1500亿元。

    444444444444

    从汽车消费市场的角度来看,新能源的确已是大势所趋。

    数据显示,今年前11月,新能源汽车产销分别完成1134.5万辆和1126.2万辆,同比分别增长34.6%和35.6%。同时,11月新能源汽车产销首次双双突破150万辆,当月新能源汽车渗透率达52.3%,较去年同期增长12个百分点,已连续5个月突破50%。

    这种程度的市场渗透率足够让一些企业甘愿冒着暴雷的风险去尽力一试,尤其那些自身业务越来越不明朗的公司。

    而对地方城市而言,造车经济所蕴含的现实价值依旧不可小觑,公开资料显示,今年一季度,郑州(15%)、合肥(12%)、深圳(11.5%)工业增加值增速领跑26座万亿城市。

    其中,很大一部分要归功于新能源汽车产业。

    但造车从来就不是一件易事,尤其如今资本风口逐渐落幕,年年攀高的资金成本,成了制约各大企业造车计划的主要因素。从过往案例也可以发现,无数暴雷的造车势力,倒下的根本原因其实都是因为没钱。

    至于造车到底需要烧多少钱,连一些资深人士都给不出准确的答案。

    据悉,李斌在2016年认为200亿元是造车门槛价,2022年,他又公开表示400亿可能什么都干不了。何小鹏也说过200亿不够花,而极越据说还有70亿的窟窿没有填平。

    总而言之,造车所需的资本只会更多,不会变少。

    Statista数据显示,从2020到2021年,造车最疯狂的这两年里,全球汽车研发支出分别为1090亿美元、1161亿美元和1240亿美元,每年同比增长都超过6.5%。特斯拉从2007年到开始持续赚钱的2019年,研发费用和资本开支累计高达185亿美元,近1300亿人民币,至2022年则为426.3亿美元,近3000亿人民币。

    而贾跃亭的法拉第未来Faraday Future,十年里累计亏掉了41.154亿美元(约288亿人民币)。截至2024年6月30日,也仅仅交付了10辆车。2025年往后,烧钱速度只会随着新能源市场的成长而进一步拉大,但能卖出去几辆车还是令人绝望的未知数。

    另外,国内造车势力在无形中掀起了数场竞速赛,无论是在性能上、价格上、还是车型上,其激烈的竞争注定让新来者在短时间内难以适从。数据显示,2023年,国内共推出超过1000种新车型,新能源车市场整体购买均价由2023年3月份的19.1万,下降至2024年3月的17.23万。

    或许,新能源汽车被打上消费品烙印的那一刻起,就意味着车企再无喘息的机会。还在局外的新势力摩拳擦掌,跃跃欲试的同时,也需要看清局内滚滚硝烟。

    总而言之,这个行业的确也已经不再欢迎没钱的新势力,极越肯定不会是最后一个造车失败者,也许明天,就会有新的车企成为行业发展现状所付出的新“代价”。

    道总有理,曾用名歪道道,互联网与科技圈新媒体。本文为原创文章,谢绝未保留作者相关信息的任何形式的转载。

    2024年12月19日
  • #现代汽车在上海成立技术开发公司# 注册资本1亿

    天眼查App显示,近日,现代前瞻汽车技术开发(上海)有限公司成立,法定代表人为HUHJAEHO,注册资本1亿人民币,经营范围含汽车零部件研发,软件开发,信息技术咨询服务,货物进出口,技术进出口,人工智能应用软件开发等,由现代汽车(中国)投资有限公司、现代汽车研发中心(中国)有限公司共同持股。 天眼查信息:https://www.tianyancha.com/…

    2024年8月9日
  • 南派三叔公司申请稻米驿站商标

    #南派三叔公司申请稻米相关商标# 天眼查App显示,近日,杭州十年文化有限公司申请注册多枚“稻米驿站”商标,国际分类涉及教育娱乐、方便食品等,当前商标状态均为等待实质审查。 杭州十年文化有限公司成立于2020年5月,法定代表人为徐磊(南派三叔),注册资本500万人民币,由徐磊全资持股。据悉,盗墓笔记的书粉被称为稻米(盗迷),在长白山脚下的“稻米驿站”,则成为…

    2024年7月31日

发表回复

您的电子邮箱地址不会被公开。 必填项已用*标注

联系我们

邮件:939297903@qq.com

工作时间:周一至周五,9:30-18:30,节假日休息

关注微信