赛力斯申请汽车租赁商标

#赛力斯申请融资租赁商标#

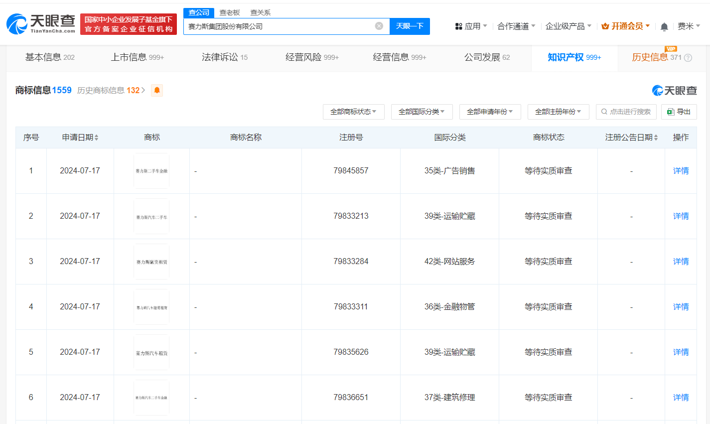
天眼查知识产权信息显示,近日,赛力斯申请注册多枚“赛力斯汽车租赁”“赛力斯融资租赁”“赛力斯汽车融资租赁”“赛力斯租赁”等商标,国际分类为广告销售、网站服务、建筑修理等,当前商标状态均为等待实质审查。

赛力斯申请汽车租赁商标

赛力斯申请汽车租赁商标

值得一提的是,不久前,该公司已申请“赛力斯金融”“赛力斯保险”“赛力斯二手车”“赛力斯售后”等商标,当前商标状态也为等待实质审查。

天眼查信息:https://www.tianyancha.com/company/145463019/zhishi

本文来自投稿,不代表创造权威IP 赋能创业者——IP百创立场,如若转载,请注明出处:创造权威IP 赋能创业者——IP百创

(0)
打赏 微信扫一扫 微信扫一扫 支付宝扫一扫 支付宝扫一扫
上一篇 2024年7月31日
下一篇 2024年7月31日

相关推荐

  • 抖音颓势已显,618美妆在天猫爆发

    各大电商平台为618打的火热,抖音却面临着一个异常严峻的问题:头部主播正在失去带货号召力。

    2024年6月2日
  • 巨亏转盈?极兔是真的猛!

    “收一单亏一单”,曾经是很多人对极兔的刻板印象。作为国内快递业的一匹黑马,行业中的“后起之秀”,极兔在过去三年的增长极其迅猛。据公开资料显示,从2020年到2022年的三年间,其收入就从15.32亿美元,增长到了72.67亿美元,其年复合增长率几乎达到了50%。 在营收规模快速扩张的同时,其亏损也在快速放大。招股书显示,2020年至2021年,极兔速递年内亏…

    2024年9月6日
  • #茅台科创基金等入股思朗科技# 后者为高性能计算芯片研发商

    天眼查App显示,近日,上海思朗科技有限公司发生工商变更,新增茅台旗下茅台科创(北京)投资基金合伙企业(有限合伙)、茅台金石(贵州)产业发展基金合伙企业(有限合伙)和鸣汐股权投资基金(海南)合伙企业(有限合伙)等为股东,同时,该公司注册资本由约1250万人民币增至约1375万人民币。 上海思朗科技有限公司成立于2016年6月,法定代表人为查浩,经营范围含集成…

    2024年8月2日
  • 余承东重要官宣暗藏深意:原生鸿蒙,掀开新纪元!

    原生鸿蒙,正在迎来发展的关键节点。 2月24日,华为余承东发布视频,透露“华为3月份将要发布一款别人想不到的产品”,即“第一款为原生鸿蒙而生的新形态手机”。同时,他表示:“腾讯、字节、阿里、美团等生态伙伴,正全力冲刺优化应用!” 这个视频虽短,但透露的信息量很大,那么其对于原生鸿蒙的发展凸显了哪些重要信号呢? “别人想不到的产品”,透露重要信号余承东对华为3…

    互联网 2025年2月24日
  • 揭秘女子被困十年涉事精神病院

    #仙岳医院曾因人身自由权纠纷被诉##女子因父母拒绝签字被困精神病院十年# 据媒体报道,近日,有网友发文称,一名女生曾患精神疾病,治愈后因父母拒绝签字,多年来无法出院。澎湃新闻采访了解到,由于多方努力,当事人目前已办理出院。 天眼查App显示,涉事医院厦门市仙岳医院(厦门市精神卫生中心、厦门医学院附属仙岳医院)法定代表人为陈进东,开办资金8547.6万人民币,…

    2024年6月20日

发表回复

您的电子邮箱地址不会被公开。 必填项已用*标注

联系我们

邮件:939297903@qq.com

工作时间:周一至周五,9:30-18:30,节假日休息

关注微信