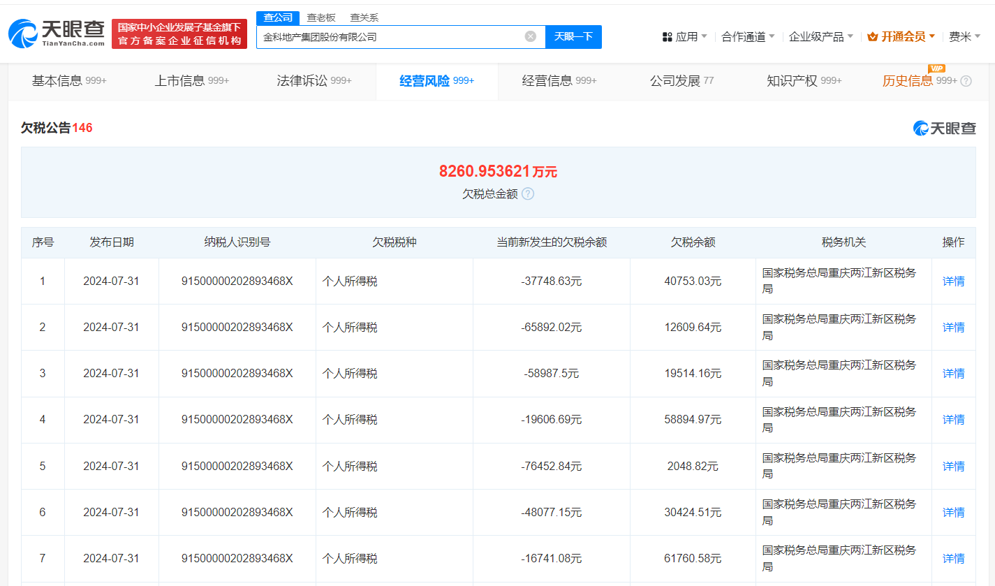
金科地产欠税8246万被公告

天眼查经营风险信息显示,近日,*ST金科新增欠税公告,欠税税种含个人所得税、印花税、增值税、城市维护建设税,欠税余额合计8246万余元。

金科地产欠税8246万被公告

金科地产欠税8246万被公告

金科地产欠税8246万被公告

金科地产集团股份有限公司成立于1994年3月,法定代表人为周达,注册资本约53.4亿人民币,由黄红云、重庆市金科投资控股(集团)有限责任公司、重庆国际信托股份有限公司等共同持股。风险信息显示,该公司存在290条被执行人信息,被执行总金额超39亿,此外还存在多个失信被执行人(老赖)、限制消费令、终本案件等信息。

天眼查信息:https://www.tianyancha.com/company/21434048/jingxian

本文来自投稿,不代表创造权威IP 赋能创业者——IP百创立场,如若转载,请注明出处:创造权威IP 赋能创业者——IP百创

(0)
打赏 微信扫一扫 微信扫一扫 支付宝扫一扫 支付宝扫一扫
上一篇 2024年8月1日
下一篇 2024年8月1日

相关推荐

  • 解构华为式服务:让每一次服务变成消费者的温暖回忆

    “压力太大,面对带有负面情绪的用户,还要保持微笑,太难了。”这是某品牌线下服务门店一位工作人员的心声。 服务很难,做好服务更难,那么华为到底是如何做服务的?华为为什么既能做到产品上的“遥遥领先”,也能做到服务上的“遥遥领先”? 从三个维度,重新定义“服务”在调研中,笔者发现:华为服务有着鲜明的“华为印记”,总结起来,就是高端、专业、有温度。具体来说,是无所不…

    2023年9月23日
  • #淘天集团在杭州成立数字科技公司# 注册资本1000万

    天眼查App显示,近日,杭州淘天数字科技有限公司成立,法定代表人为殷隽,注册资本1000万人民币,经营范围含食品互联网销售、食品销售、日用品销售、家用电器销售、网络设备销售、信息系统运行维护服务、网络技术服务、计算机软硬件及外围设备制造、供应链管理服务等。股东信息显示,该公司由淘天有限公司全资持股。 天眼查信息:https://www.tianyancha….

    2024年8月30日
  • vivo X200系列这波骚操作,高端化依然有三大挑战

    据Canalys此前公布的研究数据显示,2025年第一季度,全球智能手机市场同比增长1%。 值得注意的是,在全球智能手机市场增速放缓的大背景下,高端市场的争夺却愈发白热化。其中,苹果凭借Vision Pro的生态延展性抢占元宇宙入口,华为以麒麟9100芯片重启折叠屏“军备竞赛”,而小米、荣耀正通过AI大模型重构交互逻辑。 在此背景下,vivo以“影像+性能”…

    2025年4月23日
  • 当腾讯也开始下滑时……

    小刀马   当市场一直在传闻腾讯开始裁员的时候,用腾讯的话是不断地优化人员,包括一些机构机制的优化,其实这都是在控制成本的一种方式。也预示着业绩出现了一些变化或者下滑,事实也很快被证明了。   日前,腾讯控股发布2022年度第二季度财报。财报显示,该季度腾讯营收1340亿元人民币,同比下滑3%;毛利578.7亿元,同比下滑8%;非国际财务…

    2022年8月18日
  • 中国移动已入股荣耀公司

    #中国移动入股荣耀完成工商变更# 天眼查App显示,近日,荣耀终端有限公司发生工商变更,新增中国移动通信有限公司为股东。据媒体报道,近日荣耀声明称已获得中国移动投资。 荣耀终端有限公司成立于2020年4月,法定代表人为吴晖,注册资本约322.4亿人民币,现由深圳市智信新信息技术有限公司、深圳市鹏程新信息技术合伙企业(有限合伙)、深圳国资协同发展私募基金合伙企…

    2024年8月26日

发表回复

您的电子邮箱地址不会被公开。 必填项已用*标注

联系我们

邮件:939297903@qq.com

工作时间:周一至周五,9:30-18:30,节假日休息

关注微信