万达商管所持1.5亿股权被冻结

#万达商管再被冻结所持股权#

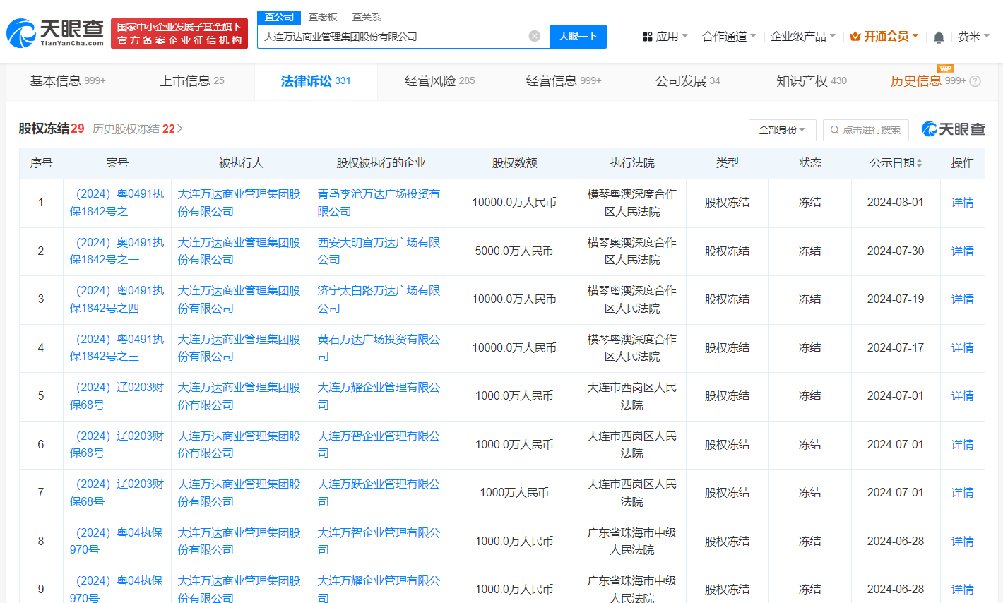
天眼查法律诉讼信息显示,近日,大连万达商业管理集团股份有限公司新增两则股权冻结信息,股权被执行的企业分别为青岛李沧万达广场投资有限公司、西安大明宫万达广场有限公司,冻结股权数额分别为1亿元、5000万元,执行法院均为横琴粤澳深度合作区人民法院。目前,大连万达商业管理集团股份有限公司存在多个股权冻结信息,其持有的多家万达广场公司、企管公司股权已被冻结。

万达商管所持1.5亿股权被冻结

万达商管所持1.5亿股权被冻结

万达商管所持1.5亿股权被冻结

大连万达商业管理集团股份有限公司成立于2002年9月,法定代表人为肖广瑞,注册资本约271.6亿人民币,由大连万达集团股份有限公司、王健林、SHINING FUTURE INVESTMENT LIMITED等共同持股。

天眼查信息:https://www.tianyancha.com/company/3157384770/sifa

本文来自投稿,不代表创造权威IP 赋能创业者——IP百创立场,如若转载,请注明出处:创造权威IP 赋能创业者——IP百创

(0)
打赏 微信扫一扫 微信扫一扫 支付宝扫一扫 支付宝扫一扫
上一篇 2024年8月2日
下一篇 2024年8月2日

相关推荐

  • 璩静名下文化公司改为健康管理公司

    #璩静公司更名为星光健康管理# 天眼查App显示,近日,深圳市哇咔哇咔文化有限公司发生多项工商变更,企业名称变更为深圳市星光健康管理有限公司,璩静由执行董事、总经理变更为董事、经理,邹少欢退出股东行列,新增莫梦怡为股东,同时公司经营范围新增个人商务服务、远程健康管理服务、健康咨询服务、品牌管理、养生保健服务、企业管理咨询等。 该公司成立于今年4月,法定代表人…

    2024年8月27日
  • 从2013到2023,BAT的十年变迁

    BAT过去十年变化着实不少。

    2023年7月16日
  • 短剧再绝杀:爱奇艺、腾讯视频、优酷豁出半条命

    短剧真上头,一分钟穿越获金手指,两分钟重生复仇绝杀,三分钟化身霸总宠娇妻……异世界、逆袭、霸总、复仇、重生等主题,加上紧凑的剧情、精简的时长,以及令人拍案叫绝的桥段设计,让观众纷纷感叹“根本停不下来”。 微短剧蓬勃发展,市场规模不断扩大。《中国微短剧行业发展白皮书〔2024〕》显示,2024年我国微短剧市场规模将达504.4亿元,同比增长34.90%,而内地…

    2024年12月3日
  • 侵权赵丽颖商家等被强执15万

    #化妆品公司侵权赵丽颖被强执# 天眼查App显示,近日,广州市广舟化妆品有限公司、高某某、蒋某新增一则被执行人信息,执行标的15万元,执行法院为新泰市人民法院。 裁判文书信息显示,此前,赵丽颖曾起诉上述公司及人员侵犯其肖像权、姓名权,其中,高某某为某电商平台店铺的经营者。法院判决广州市广舟化妆品有限公司、高某某立即停止侵权行为并向赵丽颖公开赔礼道歉,同时该公…

    2024年8月30日
  • 中信证券接手首创旗下济南首钜置业

    #中信证券再接手首创旗下公司# 天眼查App显示,近日,济南首钜置业有限公司发生工商变更,原全资股东北京首创商业管理有限公司退出,新增中信证券为股东并全资持股,同时,公司法定代表人及多位主要人员也发生变更。该公司成立于2016年8月,注册资本约3.63亿人民币。 值得一提的是,近日,北京首创商业管理有限公司还退出武汉首钜商业管理有限公司(曾用名:武汉首创钜大…

    2024年8月21日

发表回复

您的电子邮箱地址不会被公开。 必填项已用*标注

联系我们

邮件:939297903@qq.com

工作时间:周一至周五,9:30-18:30,节假日休息

关注微信