绿地控股集团被恢复执行4.8亿

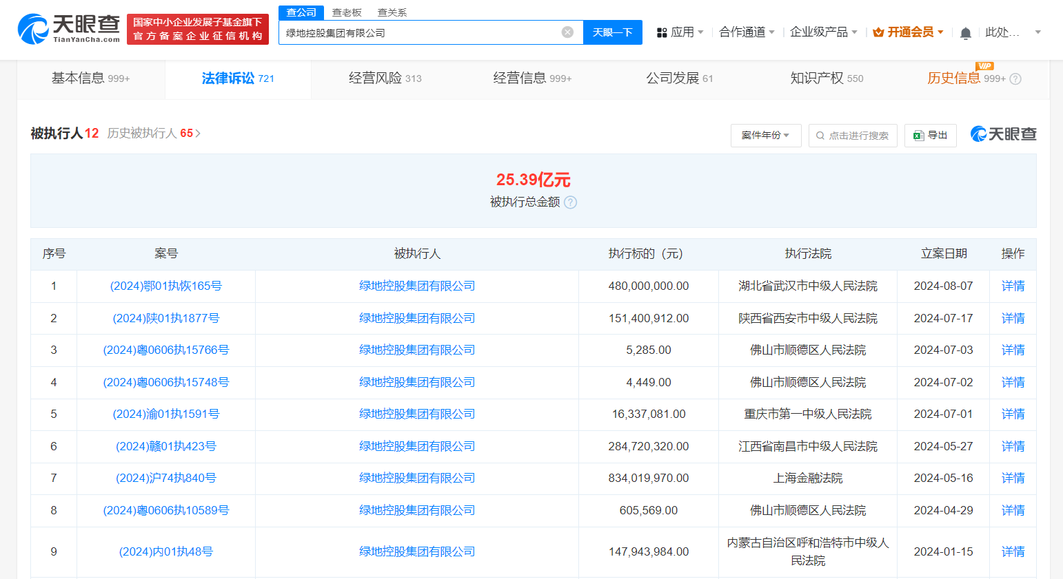
天眼查法律诉讼信息显示,近日,绿地控股集团有限公司及旗下武汉绿地滨江置业有限公司新增一条恢复执行信息,执行标的4.8亿元,执行法院为湖北省武汉市中级人民法院。

绿地控股集团被恢复执行4.8亿

绿地控股集团被恢复执行4.8亿

绿地控股集团被恢复执行4.8亿

绿地控股集团有限公司成立于1992年7月,法定代表人为张玉良,注册资本约226.5亿人民币,由绿地控股、绿地金创科技集团有限公司共同持股。风险信息显示,该公司现存12条被执行人信息,被执行总金额超25亿元,此外还存在多条股权冻结信息。

天眼查信息:https://www.tianyancha.com/company/22271684/sifa

本文来自投稿,不代表创造权威IP 赋能创业者——IP百创立场,如若转载,请注明出处:创造权威IP 赋能创业者——IP百创

(0)
打赏 微信扫一扫 微信扫一扫 支付宝扫一扫 支付宝扫一扫
上一篇 2024年8月8日
下一篇 2024年8月8日

相关推荐

  • 某“口红一哥”带货越来越贵 妈妈内衣涨4倍 百元以下洗发水消失

    2024年双十一大促已经火热开场,各路电商的直播间热度最高。 但是这两天一些网友却曝料,李姓“口红一哥”直播带货越卖越贵,普通打工人已经e点买不起了。 17日是这位“口红一哥”直播间的“母婴节”,打出的标语是“双11便宜再便宜”,但有眼尖的网友发现,其销售的“兔头妈妈儿童分龄胎脂面霜”卖136元2瓶,而这个产品去年10月的直播间价格是199元3瓶,看似今年标…

    2024年10月18日
  • 智慧PC进入到“通感美学时代”

    全球PC市场在刚刚过去的一个季度依然低迷。Canalys最新报告显示,2023年一季度中国PC市场整体下滑23.8%,但华为却保持了34.1%的超高增长率,让人刮目相看。 PC市场发展所酝酿的变革大势已经日趋明朗,华为是这其中的先行者。曾经不解为何华为能在市场低迷之时做到鹤立鸡群,但当我使用了华为MateBook X Pro 2023一段时间后,一切都有了答…

    2023年7月27日
  • #中国燃气在深圳成立智慧交易公司# 注册资本3.5亿

    天眼查App显示,近日,中燃天然气智慧交易(深圳)有限公司成立,法定代表人为刘畅,注册资本3.5亿人民币,经营范围含物联网技术服务、润滑油销售、化工产品销售、煤炭及制品销售、煤炭洗选、石油制品销售、石油钻采专用设备销售、建筑材料销售、有色金属合金销售等。股东信息显示,该公司由中国燃气旗下中燃燃气实业(深圳)有限公司全资持股。 天眼查信息:https://ww…

    2024年9月6日
  • 华电国际增资至102亿

    天眼查App显示,近日,华电国际发生工商变更,注册资本由约98.9亿人民币增至约102.3亿人民币,同时部分主要人员发生变更。 华电国际电力股份有限公司成立于1994年6月,法定代表人为戴军,经营范围为建设、经营管理发电厂和其他与发电相关的产业,电力业务相关的技术服务、信息咨询,电力、热力产品购销及服务等,由中国华电集团有限公司、香港中央结算有限公司、山东发…

    2024年7月29日
  • 老牌公园引入17台机器人作业,开启机器人+园林场景应用

    一座公园里,居然有17台分工不同的机器人。2024年世界机器人大会开幕前夕,北京玉渊潭公园作为分会场举办了“机器人+园林”创新应用场景启动仪式。 玉渊潭公园面积不大,但令人惊讶的是,4月以来总共有11家企业的17台机器人上岗。这些机器人大致分为六类,包括清洁清扫、水面救援、绿化养护、智慧巡检、科普教育、生态监测。机器人的上岗,有效提升了公园智慧化景区建设和服…

    2024年8月22日

发表回复

您的电子邮箱地址不会被公开。 必填项已用*标注

联系我们

邮件:939297903@qq.com

工作时间:周一至周五,9:30-18:30,节假日休息

关注微信