观致汽车被强制执行3257万

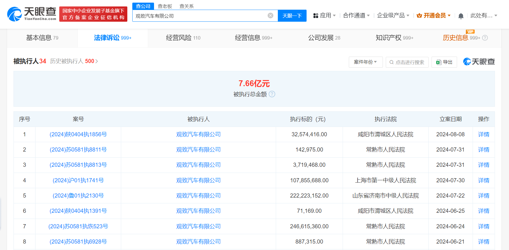
天眼查法律诉讼信息显示,近日,观致汽车有限公司,观致汽车有限公司西安分公司新增一条被执行人信息,执行标的3257万余元,涉及买卖合同纠纷案件,执行法院为咸阳市渭城区人民法院。

观致汽车被强制执行3257万

观致汽车被强制执行3257万

观致汽车被强制执行3257万

观致汽车有限公司成立于2007年12月,法定代表人为何华,注册资本约169.25亿人民币,由杭州诚茂投资有限公司、芜湖奇瑞汽车投资有限公司和QUANTUM(2007)LLC共同持股。风险信息显示,该公司存在30余条被执行人信息,被执行总金额超7.4亿,此外还存在多个失信被执行人(老赖)、限制消费令、终本案件等信息。

天眼查信息:https://www.tianyancha.com/company/2316396918/sifa

本文来自投稿,不代表创造权威IP 赋能创业者——IP百创立场,如若转载,请注明出处:创造权威IP 赋能创业者——IP百创

(0)
打赏 微信扫一扫 微信扫一扫 支付宝扫一扫 支付宝扫一扫
上一篇 2024年8月9日
下一篇 2024年8月9日

相关推荐

  • 况盛夫妇公司已经营异常

    #况盛夫妇公司去年0人参保##况盛回应被马杨起诉# 7月29日,《爸爸当家2》嘉宾况盛发律师声明,回应被马杨起诉一事。据悉,此前况盛与马杨因联名服装合作发生纠纷,后马杨起诉况盛。 天眼查App显示,况盛网店“出差夏威夷HawaiiDealer”关联公司四川盛夏浪人服装有限公司成立于2023年9月,注册资本10万人民币,法定代表人为龚源,由龚源、郭立中分别持股…

    2024年7月31日
  • 12亿存款丢失涉事基金公司经营异常

    #12亿存款丢失涉事基金公司2人参保##揭秘阳光私募12亿存款丢失涉事3公司# 据媒体报道,优策投资阳光私募基金产品存放在长安银行的三个账户12.52亿元存款被转走,而优策投资的法定代表人、托管券商、持有者均声称不知情。 天眼查App显示,涉事浙江优策投资管理有限公司成立于2016年12月,注册资本1000万人民币,法定代表人为焦健,由杭州连芯投资管理合伙企…

    2024年8月16日
  • 留给蒙牛再造一个“蒙牛”的时间,不多了

    “老二”身份渐渐失去威慑力

    2023年2月24日
  • #富力地产及富力酒店被执行77亿

    #富力上百家酒店管理公司被强执# 天眼查法律诉讼信息显示,6月20日,富力地产(HK.02777)和其间接全资附属公司广州兆晞投资有限公司,以及兆晞投资旗下上百家酒店管理公司新增一条被执行人信息,执行标的77.58亿余元,执行法院为广东省高级人民法院。 天眼风险信息显示,广州富力地产股份有限公司现存98条被执行人信息,被执行总金额超184亿元。此外,该公司还…

    2024年6月21日
  • 联想旗下中小企业发展基金更名

    天眼查App显示,近日,中小企业发展基金联想(天津)合伙企业(有限合伙)发生工商变更,企业名称变更为联想中小企业发展创业投资基金(天津)合伙企业(有限合伙)。 该合伙企业成立于2021年12月,执行事务合伙人为天津知己行远二号投资管理中心(有限合伙),出资额30亿人民币,经营范围含以私募基金从事股权投资、投资管理、资产管理等活动。合伙人信息显示,该合伙企业由…

    2024年8月26日

发表回复

您的电子邮箱地址不会被公开。 必填项已用*标注

联系我们

邮件:939297903@qq.com

工作时间:周一至周五,9:30-18:30,节假日休息

关注微信