腾讯申请脱口秀和TA的朋友们商标

#腾讯申请朋友们和TA的脱口秀商标#

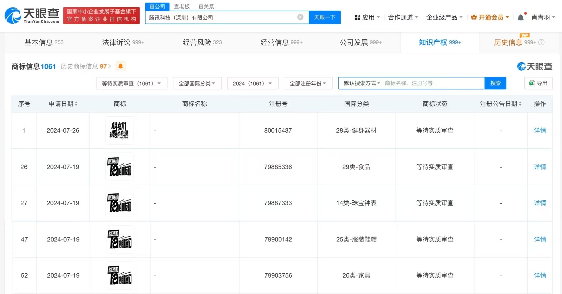
天眼查知识产权信息显示,近日,腾讯科技(深圳)有限公司申请注册多枚“脱口秀和TA的朋友们”“朋友们和TA的脱口秀”商标,国际分类为健身器材、食品、珠宝钟表等,当前商标状态均为等待实质审查。

腾讯申请脱口秀和TA的朋友们商标

据悉,《脱口秀和TA的朋友们》是腾讯视频即将播出的综艺节目,“笑友团”嘉宾包括张雨绮、鲁豫、大张伟、窦文涛、张绍刚。

天眼查信息:https://www.tianyancha.com/company/150041670/zhishi

本文来自投稿,不代表创造权威IP 赋能创业者——IP百创立场,如若转载,请注明出处:创造权威IP 赋能创业者——IP百创

(0)
打赏 微信扫一扫 微信扫一扫 支付宝扫一扫 支付宝扫一扫
上一篇 2024年8月9日
下一篇 2024年8月9日

相关推荐

  • #美团在淄博成立科技新公司# 注册资本1000万

    天眼查App显示,近日,淄博汉骑科技有限公司成立,法定代表人为孙可青,注册资本1000万人民币,经营范围含智能机器人的研发、物联网技术研发、人工智能基础软件开发、网络与信息安全软件开发、信息技术咨询服务、互联网数据服务、共享自行车服务等。股东信息显示,该公司由汉海信息技术(上海)有限公司全资持股,后者为美团旗下Solid Bit Hong Kong Limi…

    2024年8月21日
  • 果链巨头,加速向“英伟达链”转移

    前几日,美国政府宣布允许英伟达向中国出口H200芯片,消息一出,英伟达的股价在盘后涨了2.34%,连带着,其产业链上的企业们也竞价高开:胜宏科技涨逾6%,中际旭创涨超5%,浪潮信息、生益科技、景旺电子等股跟涨。在国内不少公司作为英伟达的供应链合作伙伴,或直接受益于H200芯片的对华出口。 这着实令其他公司羡慕不已,尤其是曾经站在消费电子制造产业聚光灯下的果链…

    2025年12月22日
  • 9岁的一加,成了改变行业的“尖刀”

    生日,是一个特殊的时点,对于一个人是这样,对于一个品牌也是这样。 今年12月17日,智能手机品牌一加迎来了自己的9岁生日,在这个特殊时点,一加也有了新的变化。 “OPPO正式进入双品牌时代,一加作为OPPO旗下,主打性能的先锋品牌,聚焦在性能赛道,为我们的用户打造兼具极致性能和质感设计的精品。在双品牌的协同上,OPPO线上就是一加。” OPPO首席产品官、一…

    2022年12月18日
  • 黑白色的东北大学:6名学子爬不出中国黄金的矿槽

    2025年7月23日,在中国黄金集团内蒙古矿业有限公司乌努格吐山铜钼矿选矿厂内,6名东北大学矿物加工工程专业学生在参观浮选工艺时,钢制格栅板突然脱落,学生坠入下方浮选槽,再也没能活着上来。 几天来,骂声、反思、追责声此起彼伏。然而,偶发事件背后是社会矿井里的必然悲剧。 或者说,浮选槽内黏稠的矿浆,以物理方式终结了六个年轻生命;而社会筛选体系中无形的“矿浆”,…

    2025年7月28日
  • 乳业双雄“阴影”之下,二线乳企“困在原地”

    未上市的乳企拼命上市,上市的乳企也不见得风光。

    2023年2月24日

发表回复

您的电子邮箱地址不会被公开。 必填项已用*标注

联系我们

邮件:939297903@qq.com

工作时间:周一至周五,9:30-18:30,节假日休息

关注微信