蔚来申请注册nomi GPT商标

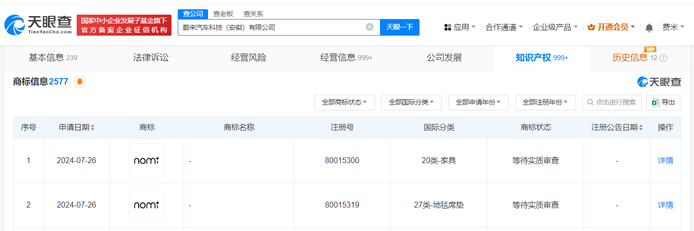
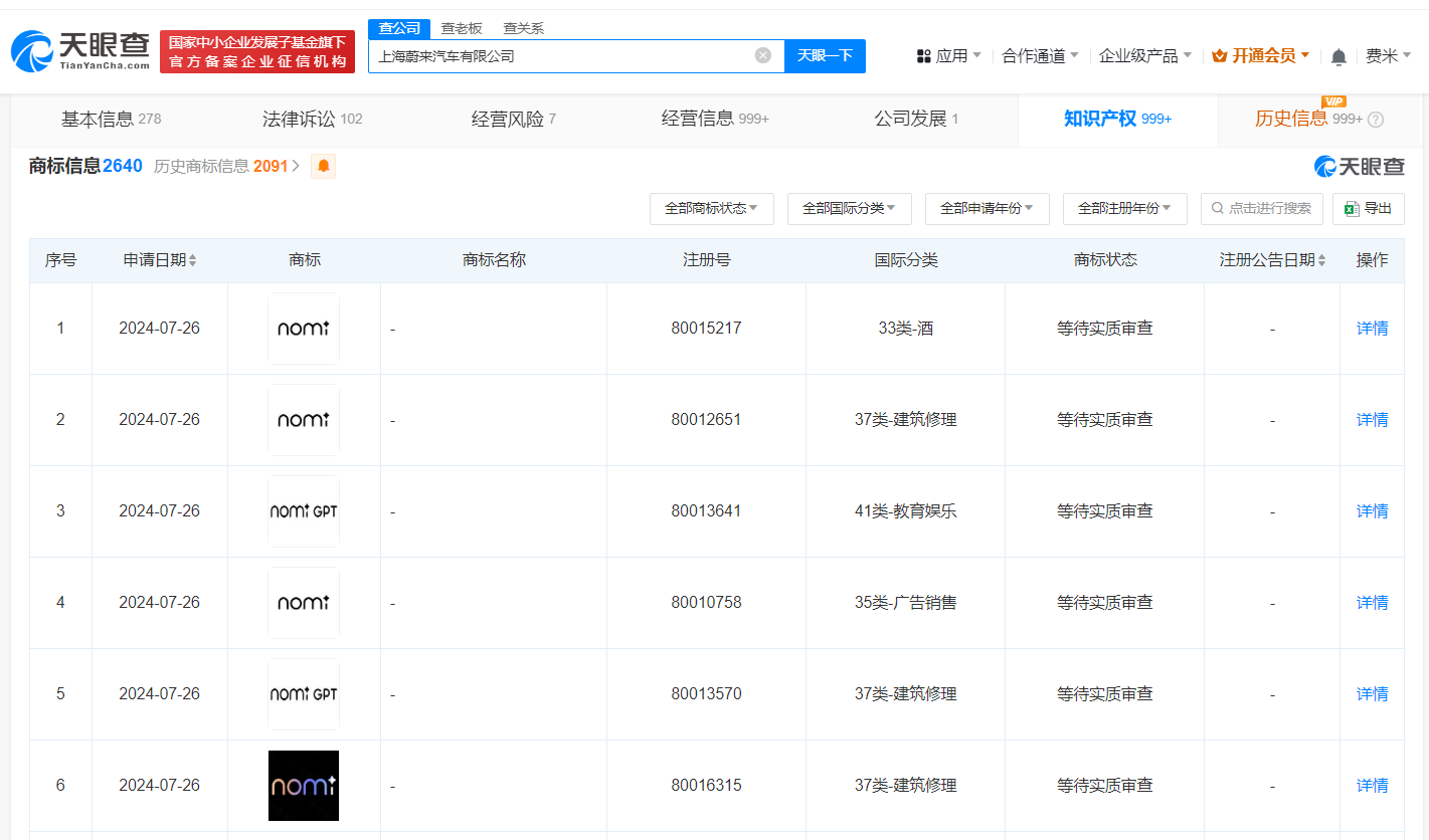
天眼查知识产权信息显示,近日,上海蔚来汽车有限公司申请多枚“nomi”“nomi GPT”商标,国际分类为教育娱乐、广告销售、建筑修理、酒,当前商标状态为等待实质审查。此外,蔚来汽车科技(安徽)有限公司也申请两枚“nomi”商标,国际分类为地毯席垫、家具,当前商标状态也为等待实质审查。

蔚来申请注册nomi GPT商标

蔚来申请注册nomi GPT商标

蔚来申请注册nomi GPT商标

据媒体报道,今年4月,蔚来自研的AI大模型NOMI GPT正式上线。不久前,在蔚来创新科技日上,蔚来发布6大NOMI智能体。

天眼查信息:https://www.tianyancha.com/company/2314879089/zhishi

本文来自投稿,不代表创造权威IP 赋能创业者——IP百创立场,如若转载,请注明出处:创造权威IP 赋能创业者——IP百创

(0)
打赏 微信扫一扫 微信扫一扫 支付宝扫一扫 支付宝扫一扫
上一篇 2024年8月13日
下一篇 2024年8月13日

相关推荐

  • 捅破平板屏幕体验的“天”,华为重构无纸化学习

    现在大学生流行“无纸化学习”,但是也存在一些问题。 在不同环境中,不同光源的光线会让屏幕产生眩光、反光,对于用户来说,不仅看不清,而且很容易产生视觉疲劳和视力损害;用普通手写笔来记笔记虽然比较方便,还能永久保存,但是写起来总是比起在纸上有差距,例如打滑、不流畅…… 如何解决这些痛点?5月15日,华为最新发布的平板电脑HUAWEI MatePad 11.5&#…

    2024年5月16日
  • 金蝶的云转型赌局,终于赢在了最后一秒?

    这一刻,等得太久了。长达五年的漫长亏损,终于要结束了。 日前,金蝶国际发布了备受瞩目的2025财年业绩预告,归母净利润预估在0.6亿到1亿之间。这份财报对于金蝶最大的意义,并不是盈利了多少,而是终于扭亏为盈了。 这对于金蝶来说,无疑是一个振奋人心的好消息。 AI终于兑现了承诺 我们先来看看金蝶国际这份2025年的财报预告业绩成色几何。 总营收方面,金蝶国际预…

    2026年1月27日
  • 大哥远公司已经营异常

    #大哥远公司经营异常# 近日,网红“大哥远”停播引发网友关注。 天眼查App显示,近期,哈尔滨大哥远文化传媒有限公司已因未依照规定期限公示年度报告,被列入经营异常名录。该公司成立于2023年5月,注册资本1万人民币,由亓鹏、李福共同持股。商标信息显示,该公司于去年6月申请“伍贰陆玖”商标,“伍贰陆玖”为大哥远MCN,不过,上述商标状态目前为驳回复审。 天眼查…

    2024年7月22日
  • #石头科技在南京成立新公司# 注册资本5000万

    天眼查App显示,近日,南京石头创新科技有限公司成立,法定代表人为昌敬,注册资本5000万人民币,经营范围含智能家庭消费设备制造、服务消费机器人制造、家用电器研发、影视录放设备制造、电子产品销售、人工智能理论与算法软件开发等。股东信息显示,该公司由石头科技全资持股。 天眼查信息:https://www.tianyancha.com/company/70049…

    2024年6月21日
  • 销售额霸榜却利润承压,石头科技掉进“规模陷阱”?

    好消息、好消息,2023年至今石头扫地机器人已连续十季度销售额排名全球第一。 9月3日,国际数据公司IDC发布《全球智能家居清洁机器人设备市场季度跟踪报告》,石头科技以15.2%的市场份额领跑全球清洁机器人市场,并在核心的扫地机器人品类中以20.7%的份额稳居全球第一。 报告称,2025年上半年,石头科技扫地机器人累计出货量达232.6万台,同比增长67.9…

    2025年9月9日

发表回复

您的电子邮箱地址不会被公开。 必填项已用*标注

联系我们

邮件:939297903@qq.com

工作时间:周一至周五,9:30-18:30,节假日休息

关注微信