理想汽车申请理想AI商标

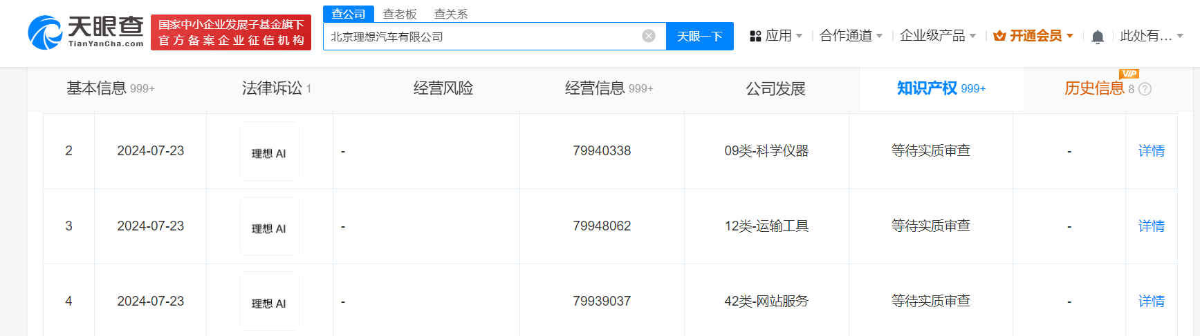
天眼查知识产权信息显示,近日,北京理想汽车有限公司申请注册3枚“理想AI”商标,国际分类为运输工具、科学仪器、网站服务,当前商标状态均为等待实质审查。此前,该公司曾申请注册3枚“LI-AI”商标,当前部分商标已被驳回复审。

理想汽车申请理想AI商标

理想汽车申请理想AI商标

天眼查信息:https://www.tianyancha.com/company/4447188483/zhishi

本文来自投稿,不代表创造权威IP 赋能创业者——IP百创立场,如若转载,请注明出处:创造权威IP 赋能创业者——IP百创

(0)
打赏 微信扫一扫 微信扫一扫 支付宝扫一扫 支付宝扫一扫
上一篇 2024年8月14日 下午5:39
下一篇 2024年8月14日 下午8:19

相关推荐

  • 破解运营商ICT基础设施绿色和安全痛点,华为给出“最优解”

    3月3日,以“Converge.Connect.Create(融合·连接·创造)”为主题的2025年MWC在巴塞罗那拉开帷幕。 作为全球ICT产业发展的风向标,今年的MWC透露出诸多趋势,5G-A、AI等技术融合以及在各个行业中的应用成为热门话题。 在智能化和碳中和的大背景下,运营商如何重构ICT能源基础设施也成为这次大会的聚焦点,值得深入思考和探讨。 碳中…

    行业动态 2025年3月5日
  • 软通动力在杭州成立新科技公司

    天眼查工商信息显示,近日,杭州软通动力驿枢科技有限公司成立,法定代表人为生义龙,注册资本50万人民币,经营范围为技术服务、技术开发、技术咨询、技术交流、技术转让、技术推广,计算机系统服务,软件开发,企业管理咨询,认证咨询,组织文化艺术交流活动,企业形象策划,图文设计制作。股东信息显示,该公司由软通动力(301236)全资持股。 天眼查信息:https://w…

    行业动态 2026年1月8日
  • 南京软件和信息服务产业专项母基金成立# 出资额60亿

    天眼查App显示,近日,江苏南京软件和信息服务产业专项母基金(有限合伙)成立,执行事务合伙人为南京战新私募基金管理有限公司,出资额60亿人民币,经营范围为股权投资、创业投资、以自有资金从事投资活动。合伙人信息显示,该基金由南京雨花创新投资有限公司、南京市紫金产业投资有限公司、江苏省战略性新兴产业母基金有限公司等共同出资。 天眼查信息:https://www….

    2024年9月29日
  • 广州医药集团成立动保科技公司注册资本2亿

    天眼查App显示,近日,广州广药动保科技有限公司成立,法定代表人为刘洋,注册资本2亿人民币,经营范围包括农业科学研究和试验发展、智能农业管理、农业生产托管服务等,由广州神农现代农业有限公司全资持股,后者为广州医药集团有限公司的全资子公司。 天眼查信息:https://www.tianyancha.com/company/7817820734

    2025年10月30日
  • 年底了,热搜上又挤满了买彩票中大奖的人……

    小柴最近夜跑,路过几家彩票店,那一家家都是被挤的水泄不通!‍ 真是别有一番风景,彩票店不远处的超市据说欠了供应商上千万跑路了,卖水果的也关门了,就连刚需的鲜面条店,昨天也关门了。‍‍‍ 小柴在群里感慨,一两万人的社区,现在连一家面条店都养不活了吗?‍‍‍ 至于街边那些小店、餐饮店,关门的关门,歇业的歇业,到了晚上路灯照在玻璃上,一片的破败与凌乱,独独彩票店在…

    2024年12月17日

发表回复

您的电子邮箱地址不会被公开。 必填项已用*标注

联系我们

邮件:939297903@qq.com

工作时间:周一至周五,9:30-18:30,节假日休息

关注微信