智谱AI申请注册清影商标

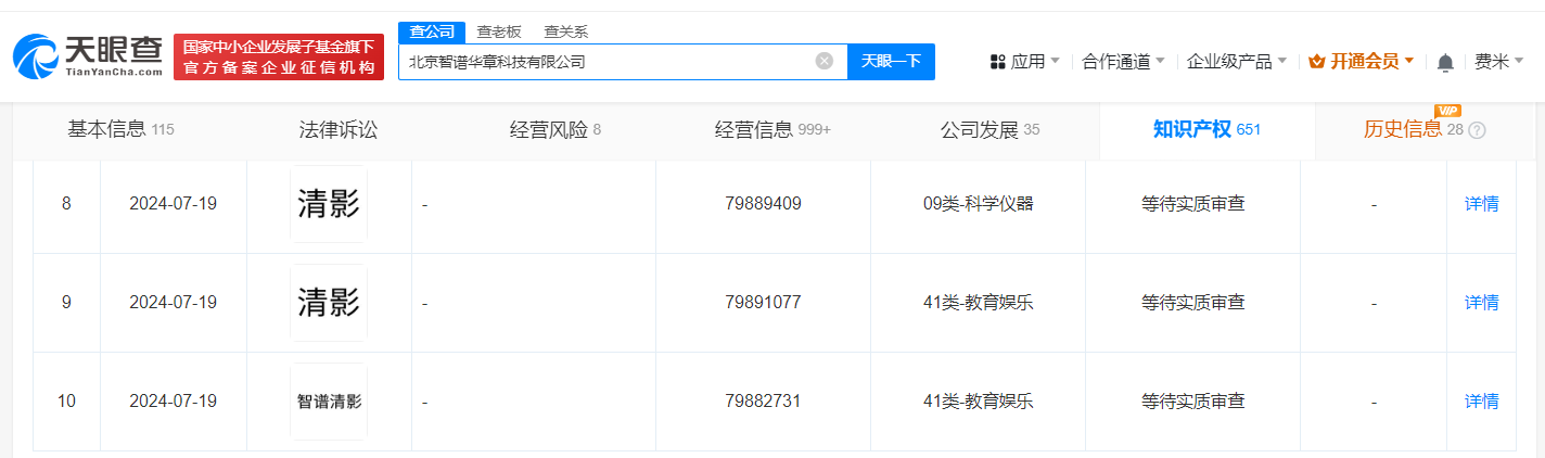
天眼查知识产权信息显示,近日,北京智谱华章科技有限公司申请注册3枚“清影”商标和1枚“智谱清影”商标,国际分类为科学仪器、教育娱乐和网站服务,当前商标状态为等待实质审查。

智谱AI申请注册清影商标

智谱AI申请注册清影商标

据媒体报道,不久前,智谱AI发布AI生成视频模型清影(Ying),其生成6秒高精度视频只需要30秒时间。

天眼查信息:https://www.tianyancha.com/company/3338968231/zhishi

本文来自投稿,不代表创造权威IP 赋能创业者——IP百创立场,如若转载,请注明出处:创造权威IP 赋能创业者——IP百创

(0)
打赏 微信扫一扫 微信扫一扫 支付宝扫一扫 支付宝扫一扫
上一篇 2024年8月14日
下一篇 2024年8月14日

相关推荐

  • 红星美凯龙持乐乐茶148万股权被冻结

    天眼查App显示,近日,乐乐茶关联公司上海茶田餐饮管理有限公司新增一则股权冻结信息,股权被执行的企业为该公司,被执行人为该公司股东西藏奕盈企业管理有限公司,冻结股权数额为148.8万元,冻结期限自2024年8月7日至2027年8月6日,执行法院为上海金融法院。 上海茶田餐饮管理有限公司成立于2016年10月,法定代表人为李明博,注册资本约5779.7万人民币…

    2024年8月19日
  • 优必选在青岛成立智行软件公司

    天眼查App显示,近日,优必智行(青岛)软件有限公司成立,法定代表人为郝宝玉,注册资本500万人民币,经营范围含人工智能应用软件开发、人工智能通用应用系统、人工智能公共服务平台技术咨询服务、信息技术咨询服务、计算机软硬件及辅助设备批发、互联网信息服务等。股东信息显示,该公司由优必选(HK.09880)全资持股。 天眼查信息:https://www.tiany…

    2024年9月3日
  • 丝芭再起诉SNH48原成员

    #丝芭起诉SNH48原成员张怡# 天眼查App显示,近日,上海丝芭文化传媒集团有限公司与张怡其他合同纠纷案件新增开庭公告,被告为张怡,该案将于8月13日在上海市宝山区人民法院开庭。案件流程信息显示,今年5月,该案曾发布一次开庭信息。据悉,张怡为SNH48五期生,后加入SNH48 Team XII并正式出道,2021年10月退出SNH48。 值得一提的是,涉诉…

    2024年7月31日
  • 北京经开区科创基金完成工商登记# 出资额10亿

    天眼查App显示,近日,北京经济技术开发区科技创新股权投资基金(有限合伙)成立,执行事务合伙人为北京亦庄国际产业投资管理有限公司,出资额10.01亿人民币,经营范围为以私募基金从事股权投资、投资管理、资产管理等活动。合伙人信息显示,该基金由北京经济技术开发区政府投资引导基金(有限合伙)、北京亦庄国际产业投资管理有限公司共同出资。 据媒体报道,近日,北京经开区…

    2024年7月18日
  • 亚马逊AWS跑不动了?

    5月2日,亚马逊公布了2025年第一季度的财报。财报数据显示,云计算业务增速放缓以及第二季度的指引低于预期。事实上,这并不是亚马逊AWS第一次增速放缓。 亚马逊AWS作为全球第一大云计算服务公司,这些年跟微软云、谷歌云等其他云计算巨头的差距却被逐渐被缩小。云计算业务作为整个亚马逊集团曾经被资本市场最为看好的业务,如今增速放缓毫无疑问也引发了资本市场对于亚马逊…

    2025年5月21日

发表回复

您的电子邮箱地址不会被公开。 必填项已用*标注

联系我们

邮件:939297903@qq.com

工作时间:周一至周五,9:30-18:30,节假日休息

关注微信