理想汽车申请理想AI商标

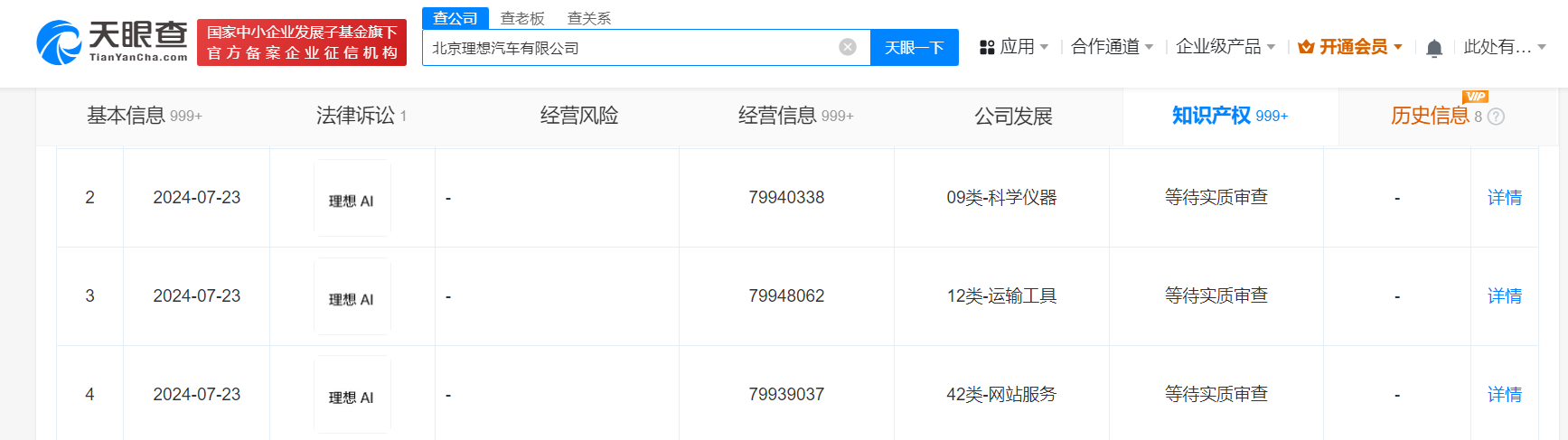
天眼查知识产权信息显示,近日,北京理想汽车有限公司申请注册3枚“理想AI”商标,国际分类为运输工具、科学仪器、网站服务,当前商标状态均为等待实质审查。此前,该公司曾申请注册3枚“LI-AI”商标,当前部分商标已被驳回复审。

理想汽车申请理想AI商标

理想汽车申请理想AI商标

天眼查信息:https://www.tianyancha.com/company/4447188483/zhishi

本文来自投稿,不代表创造权威IP 赋能创业者——IP百创立场,如若转载,请注明出处:创造权威IP 赋能创业者——IP百创

(0)
打赏 微信扫一扫 微信扫一扫 支付宝扫一扫 支付宝扫一扫
上一篇 2024年8月14日
下一篇 2024年8月14日

相关推荐

  • HM所售千元羽绒服不合格被罚

    #HM拆封转移不合格产品备样被罚# 天眼查App显示,近日,H&M关联公司海恩斯莫里斯(上海)商业有限公司因销售不合格羽绒服、拆封转移备样,被北京市西城区市场监督管理局罚款6.6万,并没收非法财物及违法所得8757.32元。 处罚事由显示,当事人此前委托苏州一制衣公司生产羽绒服共89件,商标为COS。当事人将上述产品共32件用于在北京3家分公司销售,…

    行业动态 2023年5月11日
  • 仅退款全面取消了,硬控十亿网友的摇一摇广告啥时候能治?

    这两天,几百万的电商商家可谓喜大普奔。 那个由拼多多在2021年推出、各大电商平台纷纷跟进的,堪称史上最强电商Bug功能,仅退款,终于被取消了。 据北京商报报道,拼多多、淘宝、抖音、快手、京东等多个电商平台不约而同地取消仅退款,意味着仅退款,正式要退出历史舞台了…… 也意味着,商家们,也不再需要千里追踪,拿着大喇叭,讨要被钻漏洞、薅羊毛的不良买家「坑去」的货…

    2025年4月23日
  • 匹克集团在泉州成立新置业公司# 注册资本1000万

    天眼查工商信息显示,近日,泉州市匹克聚鑫置业有限公司成立,法定代表人为许志达,注册资本1000万人民币,经营范围包括房地产开发经营、住房租赁、非居住房地产租赁等。股东信息显示,该公司由福建匹克集团有限公司全资持股。 天眼查信息:https://www.tianyancha.com/company/7869523709  

    行业动态 2025年12月1日
  • 沪上阿姨商业版图# #沪上阿姨已注册多个旗袍形象商标

    #沪上阿姨外包装旗袍图被质疑不雅# 近日,沪上阿姨外包装旗袍图被质疑不雅,引发热议。对此,沪上阿姨客服回应称会向设计部同事反馈。 天眼查App显示,沪上阿姨关联公司上海臻敬实业有限公司成立于2013年11月,注册资本约1089.61万元,法定代表人及董事长为单卫钧,由上海璞海企业管理有限公司、上海森芮企业管理合伙企业(有限合伙)等4家企业共同持股。 该公司直…

    2023年2月23日
  • 东莞科技创新投资集团增资至11亿

    #东莞科技创新投资集团完成更名# 天眼查工商信息显示,近日,东莞科技创新金融集团有限公司发生工商变更,企业名称变更为东莞科技创新投资集团有限公司,原股东东莞市人民政府国有资产监督管理委员会退出,新增东莞市投资控股集团有限公司为全资股东,注册资本由5亿人民币增至11亿人民币,增幅120%,同时,多位主要人员发生变更。 东莞科技创新投资集团有限公司成立于2015…

    行业动态 2025年11月18日

发表回复

您的电子邮箱地址不会被公开。 必填项已用*标注

联系我们

邮件:939297903@qq.com

工作时间:周一至周五,9:30-18:30,节假日休息

关注微信