优酷申请神力霓裳商标

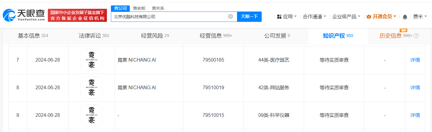
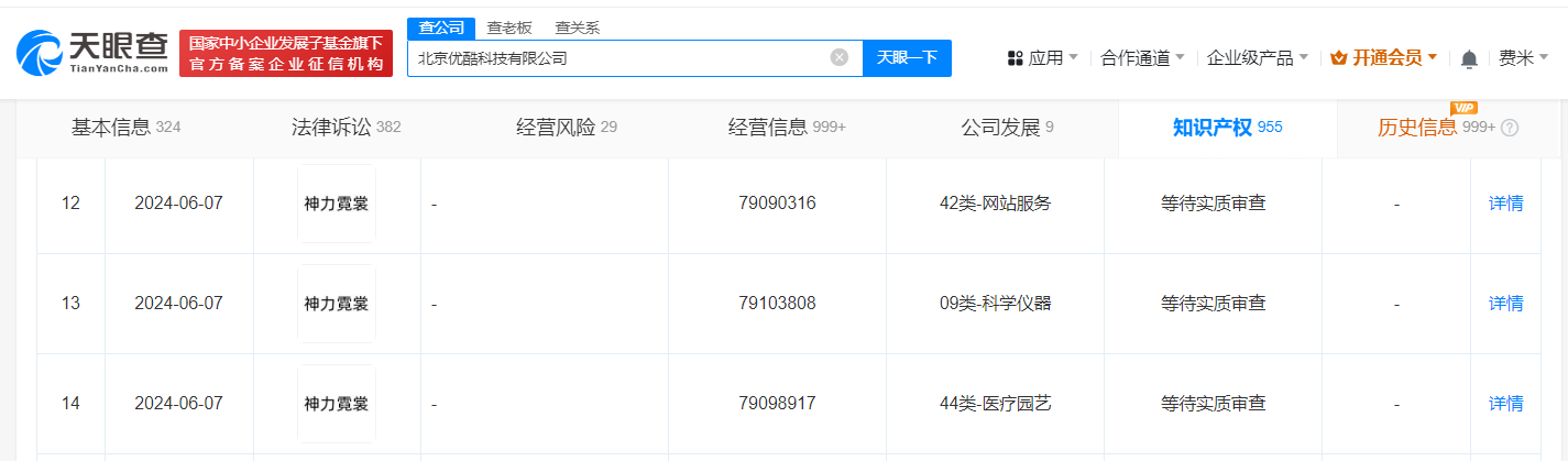
天眼查知识产权信息显示,近日,北京优酷科技有限公司申请注册3枚“霓裳 NICHANG AI”商标和3枚“神力霓裳”商标,国际分类均为医疗园艺、网站服务和科学仪器,当前商标状态均为等待实质审查。

优酷申请神力霓裳商标

优酷申请神力霓裳商标

优酷申请神力霓裳商标

优酷申请神力霓裳商标

据媒体报道,今年6月,阿里大文娱发布自研影视妆造大模型神力霓裳,这也是首个针对影视剧服饰造型设计打造的AI大模型,目前已应用到《掌心》等多部古装和民国剧中。

天眼查信息:https://www.tianyancha.com/company/3180411083/zhishi

本文来自投稿,不代表创造权威IP 赋能创业者——IP百创立场,如若转载,请注明出处:创造权威IP 赋能创业者——IP百创

(0)
打赏 微信扫一扫 微信扫一扫 支付宝扫一扫 支付宝扫一扫
上一篇 2024年8月15日
下一篇 2024年8月15日

相关推荐

  • 厦门先进制造业基金等成立两家合伙企业

    天眼查App显示,近日,厦门新翼微成投资合伙企业(有限合伙)、厦门产投新翼科技投资合伙企业(有限合伙)成立。 前者执行事务合伙人为厦门创程教育科技有限公司,出资额约11亿人民币,由厦门市产业投资有限公司、厦门先进制造业股权投资基金合伙企业(有限合伙)、厦门创程教育科技有限公司共同出资。后者执行事务合伙人为厦门产投新圆科技投资有限公司,出资额约10.5亿人民币…

    2024年9月11日
  • 谈新周期下DID赛道的发展以及SNS的使命

    “SNS.id 的定位是打造一个基础设施层,使 .sol 域名作为更友好的web3用户体验不可缺少的一部分。并打通不同链间的数据的交互性,实现链间的数据可访问性和组合性,给我们SNS.id的持有人带来更多应用场景和超出Solana的体验。” 我们曾幻想过元宇宙,幻想过游戏玩家,反复提及数字身份。这并不是一个新概念,从互联网诞生那一刻起它就已经存在。我们每一个…

    2024年7月13日
  • 小英与丈夫共同关联1家公司

    #上拉如在小英公司任监事##网红小英承认曾送养女孩# 据媒体报道,近日,小英接受了记者采访,回应了“送养女孩”这一事件。报道中称,记者采访当地公安、民政、卫健等部门得知,杨早英家的情况属于民间送养行为,不构成犯罪。 天眼查App显示,小英(本名:杨早英)名下共关联4家企业,其中寻甸县小英一家土特产店、昆明甄宏文化有限公司为存续状态。昆明甄宏文化有限公司成立于…

    2024年10月18日
  • 蚂蚁集团旗下企管公司增资至28.9亿

    天眼查App显示,近日,上海云玓企业管理咨询有限公司发生工商变更,注册资本由11.4亿人民币增至28.9亿人民币。该公司成立于2022年6月,法定代表人为汪涛,经营范围含企业管理咨询、网络技术服务、信息咨询服务、信息系统集成服务、计算机软硬件及辅助设备批发、互联网销售等。股权穿透图显示,该公司由上海云抒企业管理有限公司全资持股,后者为蚂蚁科技集团股份有限公司…

    2024年8月2日
  • 恒大地产等被强制执行2.8亿

    天眼查法律诉讼信息显示,6月27日,恒大地产集团有限公司新增5条被执行人信息,执行标的合计2.83亿余元,涉及建设工程施工合同纠纷等案件,部分案件被执行人还包括恒大集团有限公司、呼和浩特市金碧天下房地产开发有限公司、辽宁东林瑞那斯股份有限公司等。 风险信息显示,恒大地产集团有限公司现存750余条被执行人信息,被执行总金额超737亿元。此外,该公司还存在多条限…

    2024年6月28日

发表回复

您的电子邮箱地址不会被公开。 必填项已用*标注

联系我们

邮件:939297903@qq.com

工作时间:周一至周五,9:30-18:30,节假日休息

关注微信