灵犀互娱申请如鸢商标

#游戏出品方申请如鸢商标#

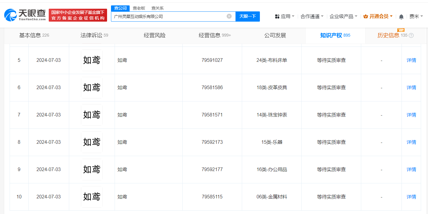
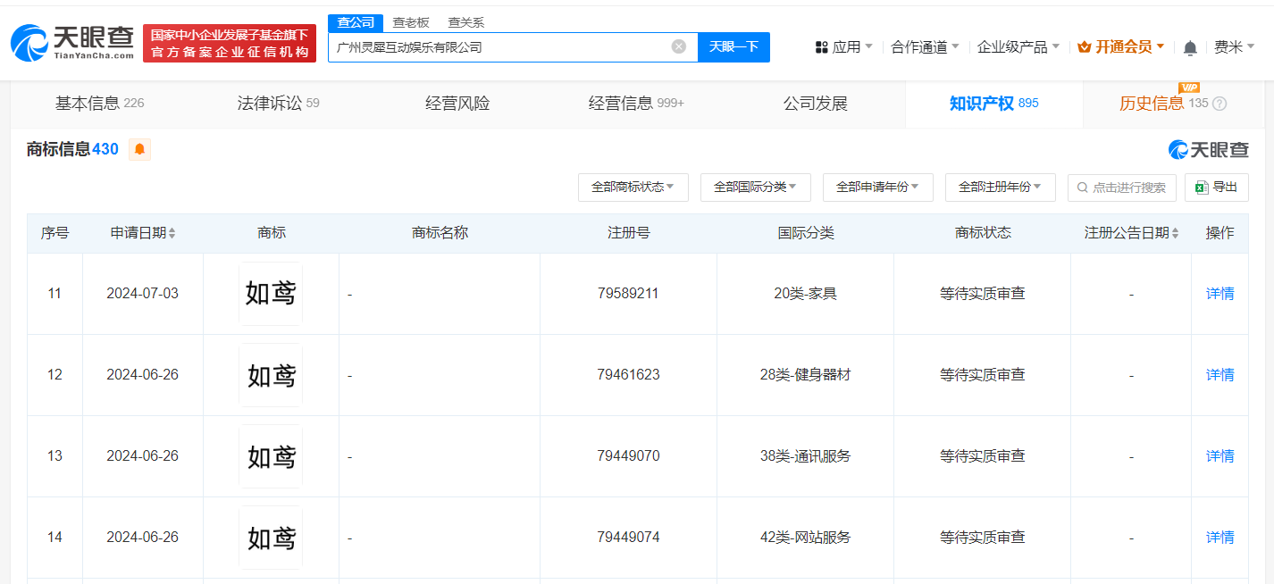
天眼查知识产权信息显示,近日,广州灵犀互动娱乐有限公司申请多枚“如鸢”商标,国际分类包括厨房洁具、饲料种籽、服装鞋帽等,当前商标状态均为等待实质审查。

灵犀互娱申请如鸢商标

灵犀互娱申请如鸢商标

灵犀互娱申请如鸢商标

灵犀互娱申请如鸢商标

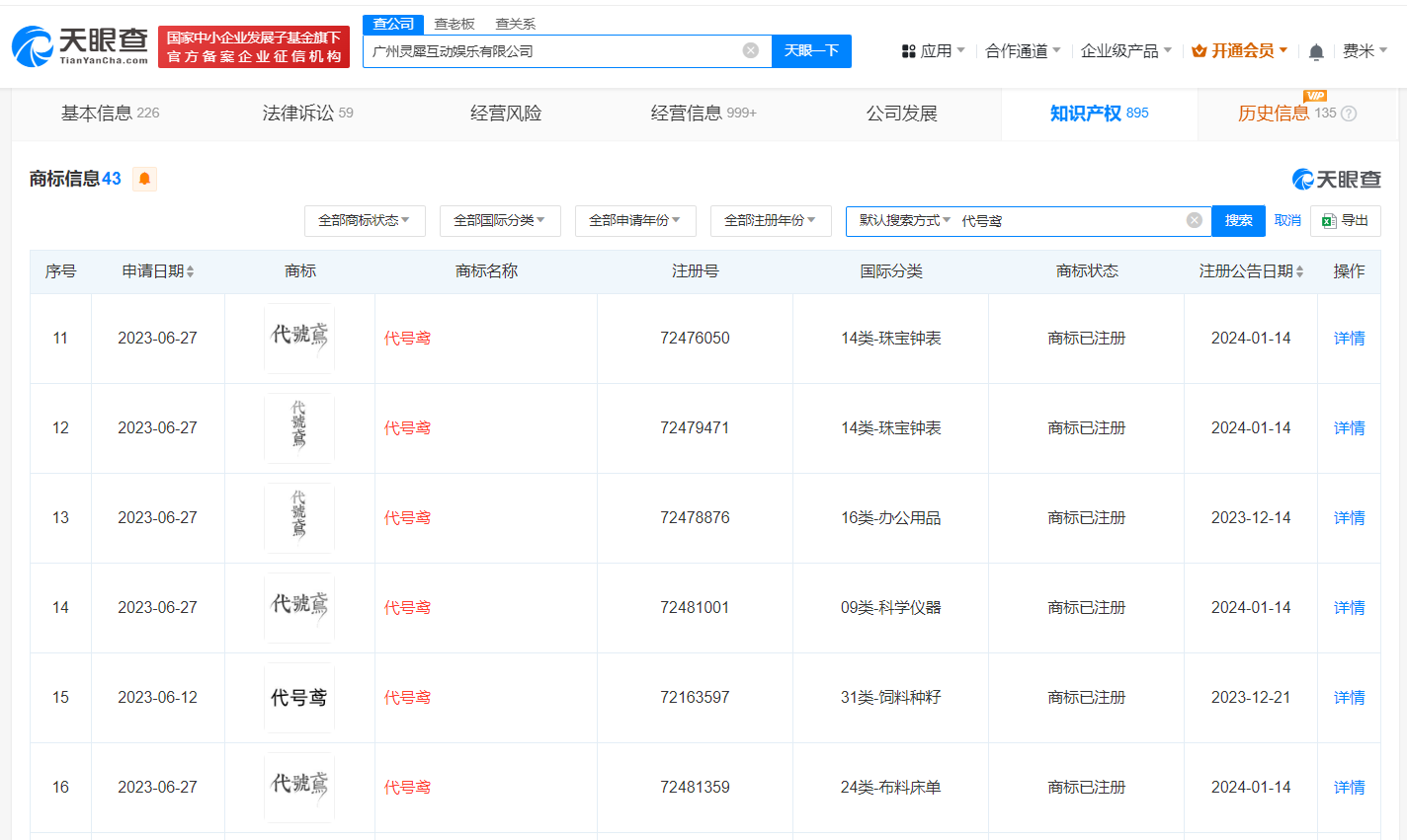
据媒体报道,近日,沉浸式剧情卡牌手游《如鸢》官宣开放预约。开启预约仅8小时,预约人数就突破了340万。据悉,该游戏在国外名为《代号鸢》,在国内过审后改名《如鸢》。天眼查显示,广州灵犀互动娱乐有限公司已于去年成功注册多枚“代号鸢”商标。

天眼查信息:https://www.tianyancha.com/company/3296048261/zhishi

本文来自投稿,不代表创造权威IP 赋能创业者——IP百创立场,如若转载,请注明出处:创造权威IP 赋能创业者——IP百创

(0)
打赏 微信扫一扫 微信扫一扫 支付宝扫一扫 支付宝扫一扫
上一篇 2024年8月15日
下一篇 2024年8月15日

相关推荐

  • 华为申请注册华为坤灵商标

    #华为发布子品牌华为坤灵# 据媒体报道,华为发布面向分销市场的子品牌“华为坤灵”,该品牌今年将面向SOHO办公、酒店餐饮、商业地产、零售商超、办公安防等场景,发布70多款有竞争力的分销专有产品。 天眼查App显示,近日,华为技术有限公司已申请注册多枚“华为坤灵”商标,国际分类涉及网站服务、科学仪器,当前商标状态均为申请中。 天眼查信息:https://sha…

    行业动态 2023年5月8日
  • 中国企业的大航海时代,先要找到“航母”

    叶辉辉,24岁,刚加入华为不到一个月被派到了科摩罗。 这个印度洋岛国,并没有传说中的阳光、沙滩,而是条件艰苦:每天只有一两个小时有电,而且通信信号很差,还是ADSL网络拨号上网,来这边基本就是“失联”。当地的宿舍房屋年久失修,设施破旧,没有水也没有电。 这是华为出海所遇到的诸多困难的缩影,在当下的中国企业出海热潮中,重温华为当年的出海经历,以及由此积累的经验…

    行业动态 2024年8月15日
  • 大连万达商管所持两地万达广场股权被冻结

    #大连万达商管被冻结2.38亿股权# 天眼查天眼风险信息显示,近日,大连万达商业管理集团股份有限公司新增两则股权冻结信息,股权所在企业分别为乐山万达广场实业有限公司、绵阳涪城万达广场有限公司,冻结股权数额分别为约1.88亿人民币、5000万人民币,冻结期限均为三年,执行法院均为成渝金融法院。 大连万达商业管理集团股份有限公司成立于2002年9月,法定代表人为…

    2025年10月8日
  • #豪威集团等在西安成立科技公司# 注册资本1亿

    天眼查工商信息显示,近日,华慧豪威(西安)科技有限公司成立,法定代表人为曲迪,注册资本1亿人民币,经营范围包括集成电路芯片设计及服务、集成电路芯片及产品制造、集成电路芯片及产品销售等。股东信息显示,该公司由豪威集团、 天津华慧芯科技集团有限公司、华慧豪威(天津)科技合伙企业(有限合伙)共同持股。 天眼查信息:https://www.tianyancha.co…

    2025年9月2日
  • 情感投射攻陷话题高地,2024年综艺出圈靠“情绪宣泄”?|年度盘点

    作者| 赤木瓶子 编辑| 李寻欢 2025年的综艺延续了前一年的特点,又一次以抓马叙事牢牢抓住了观众的情绪。《一路繁花》将“禁止虐待老人”、“李小冉直言直语”等话题送上热搜,话题先行的背后,真人秀早已借助于此在2024年的综艺领域大杀四方。 《再见爱人4》引全网围剿麦琳、《歌手2024》掀全网摇人“守国门”、去年宣布停录的《向往的生活》也没能躲过网友们的综艺…

    行业动态 2025年1月16日

发表回复

您的电子邮箱地址不会被公开。 必填项已用*标注

联系我们

邮件:939297903@qq.com

工作时间:周一至周五,9:30-18:30,节假日休息

关注微信