种地吧出品方已申请种地星球商标

#出品方已申请后陡门种地星球商标##十个勤天回到了后陡门家#

据媒体报道,今日,“十个勤天”现身种地星球直播,浙江站游学即将开启,少年们回到后陡门一起整装待发。

种地吧出品方已申请种地星球商标

种地吧出品方已申请种地星球商标

种地吧出品方已申请种地星球商标

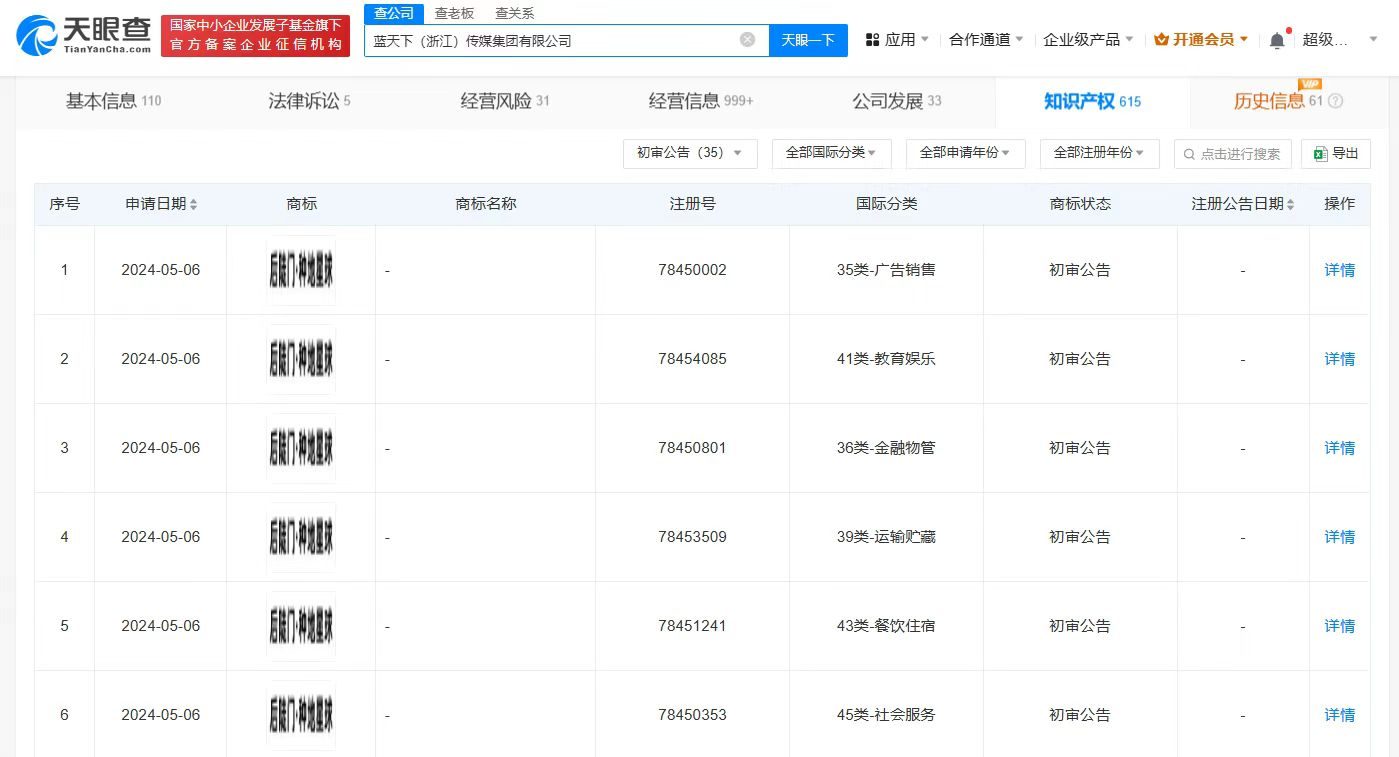
天眼查知识产权信息显示,近日,《种地吧》出品方蓝天下(浙江)传媒集团有限公司申请的6枚“后陡门·种地星球”商标状态更新,由“等待实质审查”变更为“初审公告”,其国际分类包括广告销售、教育娱乐等。

天眼查信息:https://www.tianyancha.com/company/826382668/zhishi

本文来自投稿,不代表创造权威IP 赋能创业者——IP百创立场,如若转载,请注明出处:创造权威IP 赋能创业者——IP百创

(0)
打赏 微信扫一扫 微信扫一扫 支付宝扫一扫 支付宝扫一扫
上一篇 2024年8月15日
下一篇 2024年8月15日

相关推荐

  • 沙县小吃文旅集团公司更名

    #沙县小吃文旅集团更名沙县文旅集团# 天眼查App显示,近日,三明市沙县区小吃文化旅游发展集团有限公司发生工商变更,企业名称变更为三明市沙县区文化旅游发展集团有限公司。 该公司成立于2008年8月,注册资本1.68亿人民币,由三明市沙县区国有资产监督管理领导小组办公室全资持股。对外投资信息显示,该公司全资持股沙县小吃集团有限公司等多家企业。值得一提的是,此前…

    2024年8月21日
  • 做网红,能为迷茫的年轻人托底吗?

    很多人可以说红的都是非常任性和随机。

    2024年1月17日
  • 吴京起诉商贸公司侵权索赔131万

    #吴京维权索赔131万# 天眼查App显示,近日,北京市西城区人民法院向江西省大成商贸有限公司公告送达原告吴京与该公司及第三人于某人格权纠纷案件起诉状副本、开庭传票等。公告内容显示,原告吴京要求该公司立即停止侵权,回收、销毁全部侵权产品、包装,赔礼道歉并赔偿经济损失、精神抚慰金和维权合理开支共计131万元,同时承担本案全部诉讼费用。 天眼查信息:https:…

    2024年9月11日
  • 纯流量逻辑失效,汽车营销如何破局?

    刚刚过去的8月,汽车圈热点不断。 先是知名演员杨幂成为华为享界S9的001号车主,余承东亲自为她交车;再是阿维塔联名限量版新车型阿维塔012迎来全球首秀;紧接着,在刚刚结束的成都车展上,宝马集团BMW和MINI品牌共13款新车亮相成都车展,创造宝马历年参加成都车展的新车之最;小鹏汇天飞行汽车更是惊艳亮相展会,并完成了在成都的首次飞行演示…… 在智能汽车领域,…

    互联网 2024年9月3日
  • 会馆养殖黄鱼菜品谎称野生被罚40万

    #北京一会馆菜品谎称野生黄鱼被罚# 天眼查经营风险信息显示,近日,北京东方国际戏剧文化艺术中心有限公司因作出虚假或者引人误解的商业宣传,被北京市东城区市场监督管理局罚款40万元。处罚事由显示,该公司进货并制作销售的黄鱼均为养殖黄鱼,并非其宣传的“野生黄鱼”。经询问调查,该公司承认店内黄鱼均由北京易初莲花连锁超市供货、黄鱼岛海洋渔业有限公司养殖。当事人自202…

    2024年7月17日

发表回复

您的电子邮箱地址不会被公开。 必填项已用*标注

联系我们

邮件:939297903@qq.com

工作时间:周一至周五,9:30-18:30,节假日休息

关注微信