中国恒大等被强制执行10.9亿

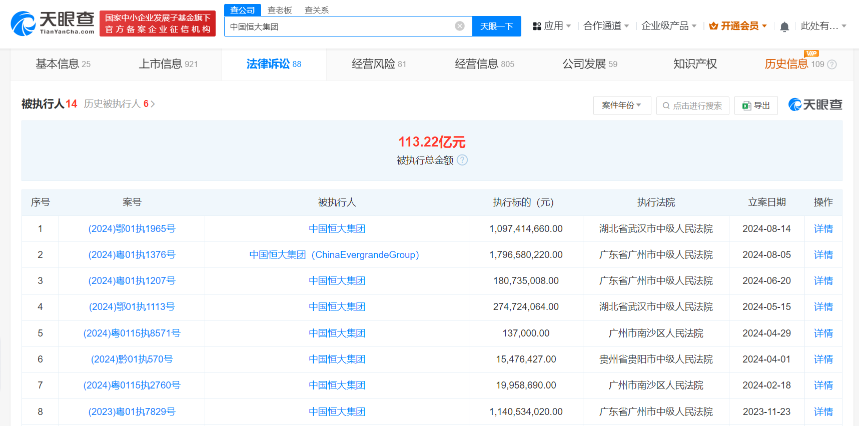
天眼查法律诉讼信息显示,近日,中国恒大(HK.03333)、武汉楚水云山农业开发有限公司、湖北恒祥旅游开发有限公司新增一条被执行人信息,执行标的10.97亿余元,执行法院为湖北省武汉市中级人民法院。

中国恒大等被强制执行10.9亿

中国恒大等被强制执行10.9亿

中国恒大集团(China Evergrande Group)于2006年12月在开曼群岛注册成立,2009年11月在港股上市,执行董事、主席为许家印。天眼风险信息显示,中国恒大集团现存10余条被执行人信息,累计被执行总金额超113亿元,此外还存在限制消费令和终本案件信息。

天眼查信息:https://www.tianyancha.com/company/3191323651/sifa

本文来自投稿,不代表创造权威IP 赋能创业者——IP百创立场,如若转载,请注明出处:创造权威IP 赋能创业者——IP百创

(0)
打赏 微信扫一扫 微信扫一扫 支付宝扫一扫 支付宝扫一扫
上一篇 2024年8月15日
下一篇 2024年8月15日

相关推荐

  • #三一重工在浙江成立研究院# 注册资本1000万

    天眼查App显示,近日,湖州三一重工研究院有限公司成立,法定代表人为刘魁,注册资本1000万人民币,经营范围为技术服务、技术开发、技术咨询、技术交流、技术转让、技术推广,工程和技术研究和试验发展,由三一重工全资持股。 天眼查信息:https://www.tianyancha.com/company/7065209290

    2024年8月2日
  • #阿里影业等在北京成立影业新公司# 注册资本100万

    天眼查App显示,近日,北京自由能量影业有限公司成立,法定代表人为段红爽,注册资本100万人民币,经营范围含电影摄制服务、组织文化艺术交流活动、文化娱乐经纪人服务、电视剧发行等。股东信息显示,该公司由浙江东阳阿里巴巴影业有限公司、浙江拉格朗日影业有限公司共同持股。 天眼查信息:https://www.tianyancha.com/company/711026…

    2024年9月5日
  • 雅迪子公司产品不符合国标被罚7.2万

    #浙江雅迪机车公司被罚7.2万# 天眼查App显示,近日,浙江雅迪机车有限公司因生产不符合保障人体健康和人身财产安全的国家标准产品,被宁波市市场监督管理局罚款7.2万余元,并没收违法生产的产品1台。处罚内容显示,今年4月,执法人员对该公司生产、检验合格并待销的电动自行车进行随机抽样检查,样品经检验不符合强制性国家标准要求。 浙江雅迪机车有限公司成立于2002…

    2024年8月29日
  • 王妈申请强执原合作方220万

    天眼查法律诉讼信息显示,7月10日,武汉孚星文化传媒有限公司新增一条被执行人信息,执行标的220万余元,涉及王志欣(“王妈”)与该公司相关合同纠纷案件,执行法院为武汉东湖新技术开发区人民法院。 武汉孚星文化传媒有限公司成立于2020年9月,法定代表人为杨威,注册资本100万人民币,由武汉骑刷刷智能科技有限公司、周永诚共同持股。据媒体报道,“王妈”王志欣因在大…

    2024年7月11日
  • 在快递最后一公里,谨防新的“二选一”

    最近,菜鸟网络与多多买菜的诉讼有了最新判决,多多买菜被判赔偿菜鸟经济损失及合理维权费用500万元。 法院判决固然应该尊重,不过,这个事情并非表面上那么简单,双方的争端已经持续了2年多的时间,有必要进一步对其中的是非曲直进行深入探讨。 菜鸟“小题大做”? 根据法院文件显示,双方的纠纷主要集中在“菜鸟”、“菜鸟驿站”的标签使用权上,菜鸟指责多多买菜侵权主要有以下…

    互联网 2024年4月26日

发表回复

您的电子邮箱地址不会被公开。 必填项已用*标注

联系我们

邮件:939297903@qq.com

工作时间:周一至周五,9:30-18:30,节假日休息

关注微信