姚振华及宝能地产等被强执17亿

天眼查法律诉讼信息显示,近日,姚振华、宝能地产股份有限公司新增3条被执行人信息,执行标的合计17亿余元,其中包括一起恢复执行案件,部分案件被执行人还包括深圳市宝能投资集团有限公司、深圳市钜盛华股份有限公司、宝能控股(中国)有限公司等,执行法院为广东省深圳市中级人民法院、山东省济南市中级人民法院。

姚振华及宝能地产等被强执17亿

姚振华及宝能地产等被强执17亿

姚振华及宝能地产等被强执17亿

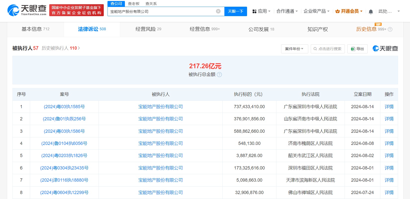
宝能地产股份有限公司成立于2002年7月,法定代表人为张保文,注册资本约11.19亿人民币,由宝能控股(中国)有限公司、深圳市中林实业发展有限公司共同持股。天眼风险信息显示,该公司现存57条被执行人信息,被执行总金额超217亿元,此外还存在限制消费令、失信被执行人(老赖)及终本案件信息。

天眼查信息:https://www.tianyancha.com/company/25202278/sifa

本文来自投稿,不代表创造权威IP 赋能创业者——IP百创立场,如若转载,请注明出处:创造权威IP 赋能创业者——IP百创

(0)
打赏 微信扫一扫 微信扫一扫 支付宝扫一扫 支付宝扫一扫
上一篇 2024年8月16日
下一篇 2024年8月16日

相关推荐

  • 晶科科技等在嘉兴成立创业投资合伙企业# 出资额2亿

    天眼查App显示,近日,嘉兴泽科星槎创业投资合伙企业(有限合伙)成立,执行事务合伙人为许光兴,出资额2亿人民币,经营范围为创业投资。合伙人信息显示,该合伙企业由晶科科技(601778)、上海云泽锦沃私募基金管理有限公司共同出资。 天眼查信息:https://www.tianyancha.com/company/7997343218

    行业动态 2026年3月25日
  • #东方雨虹等在宁波成立建材科技公司# 注册资本1000万

    天眼查工商信息显示,近日,宁波市鄞开雨虹建材科技有限公司成立,法定代表人为吴飞,注册资本1000万人民币,经营范围包括隔热和隔音材料销售、建筑工程机械与设备租赁、建筑工程用机械销售等。股东信息显示,该公司由宁波长丰新农村开发建设有限公司、东方雨虹、宁波奕恒商贸有限公司共同持股。 天眼查信息:https://www.tianyancha.com/company…

    2025年9月4日
  • 中核汇能等在天津成立可再生能源发展合伙企业出资额31.7亿

    天眼查工商信息显示,近日,天津汇能可再生能源发展合伙企业(有限合伙)成立,执行事务合伙人为中核汇能(天津)能源有限公司,出资额31.7亿人民币,经营范围含发电业务、输电业务、供(配)电业务,风力发电技术服务,太阳能发电技术服务,节能管理服务,发电技术服务。合伙人信息显示,该合伙企业由中国康富国际租赁股份有限公司、中核汇能(天津)能源有限公司、中核汇能有限公司…

    2025年11月14日
  • 杨幂发C刊、杨超越演话剧,“长期主义”的风正刮向娱乐圈?

    作者| 赤木瓶子 编辑| 李寻欢 学霸人设或成娱乐圈新的“时尚单品”,难不成明星进组也要看学历了? 林更新考博上岸,网友惊讶之余感慨“怪不得他怼人从来不带脏字”;张静初全程无交流版直播考研读研、冥想读书引不少网友围观,一不小心闯进了“学习搭子”的新赛道;白玉兰最佳男配宁理翻译了一本科普书籍《宇航员的终结:谁将飞往无人星际》坐实学霸身份,有网友发言,“高收入群…

    行业动态 2024年7月19日
  • 中鼎股份入股攻壳智能机器人公司

    天眼查工商信息显示,近日,安徽攻壳智能机器人有限公司发生工商变更,新增中鼎股份为股东,注册资本由1000万人民币增至约1176万人民币,同时新增多位高管。 该公司成立于2025年8月,法定代表人为黎原妃,经营范围包括工业机器人制造、特殊作业机器人制造、服务消费机器人制造等,现由合肥新聚力科技投资有限公司、中鼎股份共同持股。 天眼查信息:https://www…

    2025年12月11日

发表回复

您的电子邮箱地址不会被公开。 必填项已用*标注

联系我们

邮件:939297903@qq.com

工作时间:周一至周五,9:30-18:30,节假日休息

关注微信