融创等被强制执行7.1亿

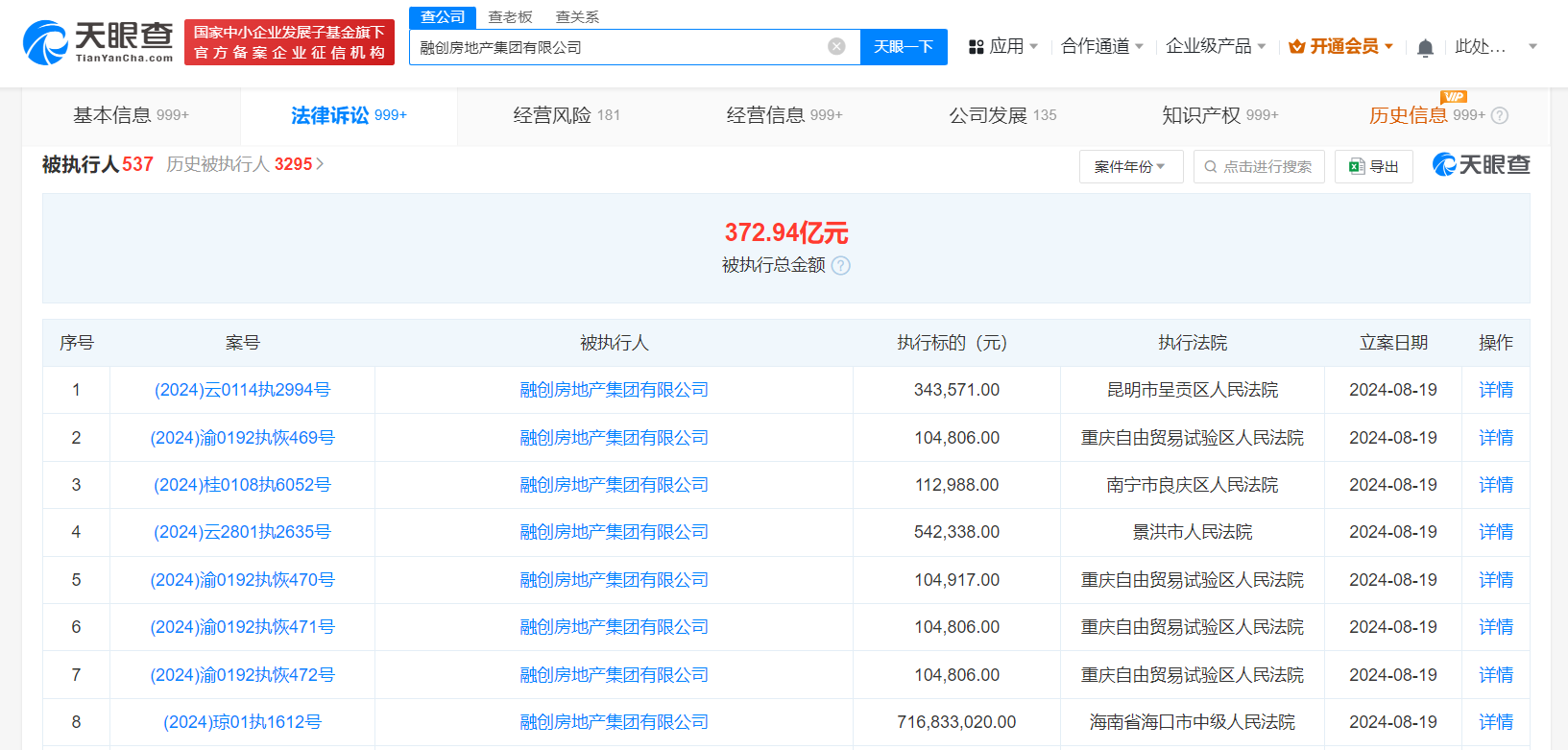
天眼查法律诉讼信息显示,8月19日,融创房地产集团有限公司新增8条被执行人信息,执行标的合计7.18亿余元,涉及票据纠纷等案件,部分案件被执行人还包括海南融创基业房地产有限公司、华宇(福建)置业集团有限公司等。

融创等被强制执行7.1亿

融创等被强制执行7.1亿

风险信息显示,融创房地产集团有限公司现存530余条被执行人信息,被执行总金额超372亿元。此外,该公司还存在多个限制消费令、失信被执行人(老赖)和终本案件信息。

天眼查信息:https://www.tianyancha.com/company/1684115751/sifa

本文来自投稿,不代表创造权威IP 赋能创业者——IP百创立场,如若转载,请注明出处:创造权威IP 赋能创业者——IP百创

(0)
打赏 微信扫一扫 微信扫一扫 支付宝扫一扫 支付宝扫一扫
上一篇 2024年8月20日
下一篇 2024年8月20日

相关推荐

  • 天眼查数据:双氧水泡鸡爪漂白,17.84%的零食相关企业曾出现经营异常

    央视315晚会曝光双氧水泡鸡爪漂白,漂白鸡爪企业买了超5000桶过氧化氢。按照国家的规定,鸡爪加工过程中,不能使用双氧水,这种化学物质首先会破坏食品中的蛋白质等营养成分,消费者如果长期食用经其浸泡的食品,会造成口腔黏膜损伤、肝肾功能损害等健康危害,超剂量食用,则会危及生命。 天眼查专业版数据显示,截至目前,我国拥有超535.4万家零食相关企业。从地域分布上看…

    2026年3月15日
  • 天眼查数据:#灏麟生物曾中标社区卫生服务中心采购项目

    央视315晚会曝光“万能”的外泌体问题,灏麟(天津)生物科技有限公司被点名。 天眼查App显示,灏麟(天津)生物科技有限公司成立于2019年6月,法定代表人为张称,注册资本1000万人民币,经营范围包括人体干细胞技术开发和应用、人体基因诊断与治疗技术开发、细胞技术研发和应用等,由万智恒、张称共同持股。招投标信息显示,该公司于去年9月中标“天津市河东区富民路街…

    2026年3月15日
  • 现在游戏停更都不发预告了?B站离谱操作给行业吹了阵歪风?

    柴油们啊,最近小柴刷到一条信息,看完心里直感慨,如今这节点,每天都在刷新见识、更新认知!‍‍‍‍‍‍‍‍‍‍‍ 事情大概是这样的,小柴在刷小某书的时候发现,小破站也就是B站运营的游戏「摇光录:乱世公主」突然火了,火不是因为它有大更新,而是所有玩家突然被告知,这游戏又将进入B站的游戏坟场了——停更。‍‍‍‍‍‍ 昨天还在充钱买皮肤,今天就被宣布停更,很快,摇光…

    2024年12月11日
  • 胖东来去年成立近十家新公司

    #胖东来商业版图盘点##胖东来每年利润50%发奖金# 据媒体报道,近日,胖东来创始人于东来称将公司近40亿元资产进行分配,相关话题引发热议。 天眼查工商信息显示,胖东来关联企业许昌市胖东来商贸集团有限公司成立于1997年9月,法定代表人为于东来,注册资本5660万人民币,经营范围包括房地产开发销售、场地及柜台租赁、炒货食品分装等。股东信息显示,该公司由于东来…

    2026年3月9日
  • 嘉泽新能增资至约29.1亿

    天眼查App显示,近日,嘉泽新能发生工商变更,注册资本由约24.3亿人民币增至约29.1亿人民币,同时多位高管发生变更。 嘉泽新能源股份有限公司成立于2010年4月,法定代表人为陈波,经营范围包括新能源电站和智能微网的投资、建设、运营、出售等。股东信息显示,该公司由上海博荣益弘科技有限公司、北京嘉实龙博投资管理有限公司、金元荣泰投资管理(宁夏)有限公司等共同…

    2025年11月20日

发表回复

您的电子邮箱地址不会被公开。 必填项已用*标注

联系我们

邮件:939297903@qq.com

工作时间:周一至周五,9:30-18:30,节假日休息

关注微信