小米汽车登记Ultra美术著作权

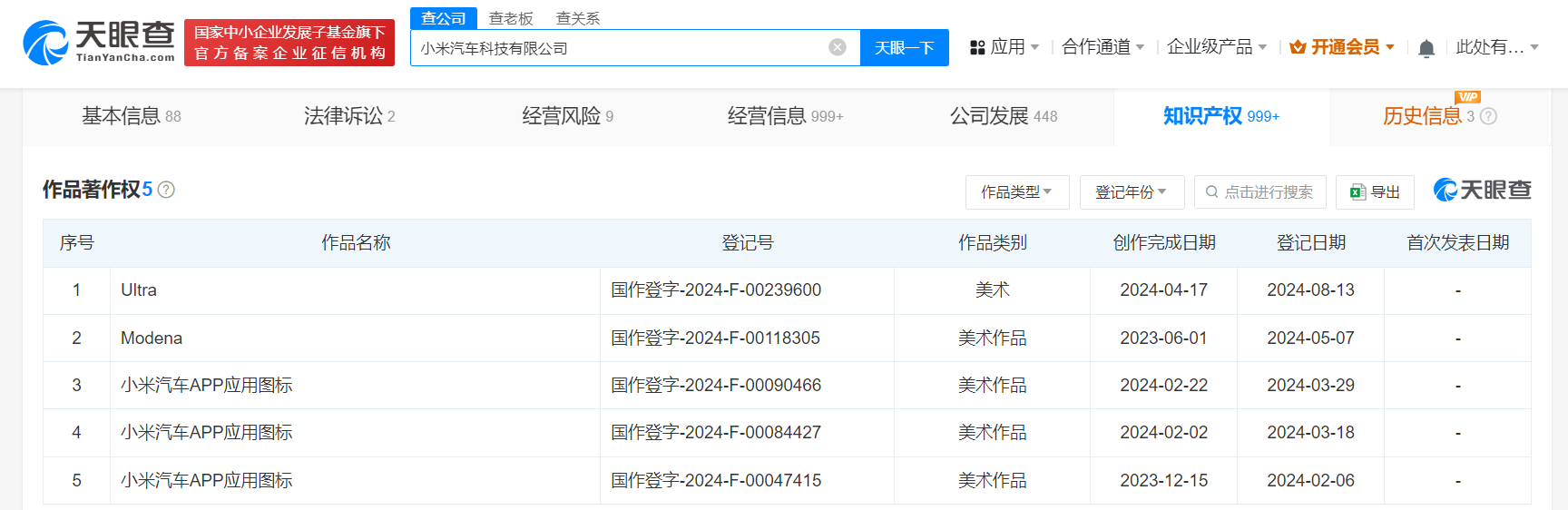
天眼查知识产权信息显示,近日,小米汽车科技有限公司登记“Ultra”美术作品著作权。该公司成立于2021年11月,法定代表人为雷军,注册资本10亿人民币,由小米科技有限责任公司全资持股。

小米汽车登记Ultra美术著作权

小米汽车登记Ultra美术著作权

据媒体报道,不久前,雷军在年度演讲中对外发布小米SU7 Ultra原型车,并宣布该原型车将征战纽博格林北环赛道,而小米SU7 Ultra量产版将于明年上半年面世。不久前,雷军在微博透露,他在纽北赛道驾驶小米SU7 Ultra测试车跑了三圈,还获得纽北赛道驾驶认证。

天眼查信息:https://www.tianyancha.com/company/5247979163/zhishi

本文来自投稿,不代表创造权威IP 赋能创业者——IP百创立场,如若转载,请注明出处:创造权威IP 赋能创业者——IP百创

(0)
打赏 微信扫一扫 微信扫一扫 支付宝扫一扫 支付宝扫一扫
上一篇 2024年8月26日
下一篇 2024年8月26日

相关推荐

  • 碧桂园地产等被强制执行1.8亿

    天眼查法律诉讼信息显示,7月1日,碧桂园地产集团有限公司新增2条被执行人信息,执行标的合计1.8亿元,涉及损害公司利益责任纠纷和合资、合作开发房地产合同纠纷,被执行人还分别包括山东碧桂园房地产开发有限公司、山东新碧房地产开发有限公司等,执行法院为枣庄市台儿庄区人民法院和曲阜市人民法院。 风险信息显示,碧桂园地产集团有限公司现存7条被执行人信息,被执行总金额超…

    2024年7月2日
  • moto razr 40系列诠释“新摩登主义”

    01 “心动,何止一面” “心动,何止一面”2023年6月1日,联想召开moto razr 40系列折叠屏手机新品发布会。 moto razr 40 Ultra与moto razr 40两款重磅小折叠新品正式亮相。 联想集团副总裁、中国区消费业务群总经理张华表示:“全新的moto razr系列是一款能够装入每天心情,人机合一的好产品。希望moto razr …

    2023年6月1日
  • 宁波银行与南京银行,两个不同的银行物种

    作为城商行的两位优等生,日前宁波银行和南京银行都发布了2025年的业绩预告。 截至2025年末,宁波银行总资产36286.01亿元,较年初增长16.11%;实现营业收入719.68亿元,同比增长8.01%;实现归属于母公司股东的净利润293.33亿元,同比增长8.13%。 截至报告期末,南京银行总资产超3万亿元,达到30224.24亿元,较上年末增长16.6…

    2026年1月26日
  • 美邦服饰在广州成立数字科技公司

    #美邦服饰已成立多家数字产业公司# 天眼查App显示,近日,广州美邦数字科技有限公司成立,注册资本1000万人民币,法定代表人为张小英,经营范围含体育用品及器材批发、物联网技术服务、人工智能双创服务平台、服装服饰批发、服装服饰零售、日用品批发、日用品销售、互联网销售等,由美邦服饰及旗下上海潮范电子商务有限公司分别持股90%、10%。 值得一提的是,美邦服饰去…

    2024年7月5日
  • 货拉拉又摊上大事了

    根据央视财经的最新报道,1月21日国家市场监管总局将货拉拉列为综合整治“内卷式”竞争的典型案例予以通报。 国家市场监管总局指出:网络货运头部平台货拉拉存在利用算法不合理压低货运价格、利用平台规则实施强制独家车贴等行为,损害公平竞争市场秩序和货车司机利益,导致竞争性平台跟随实施低价策略,加剧行业“内卷式”竞争,存在垄断风险。 一方面,货拉拉通过“一口价”等低价…

    2026年1月23日

发表回复

您的电子邮箱地址不会被公开。 必填项已用*标注

联系我们

邮件:939297903@qq.com

工作时间:周一至周五,9:30-18:30,节假日休息

关注微信