字节跳动申请抖包商标

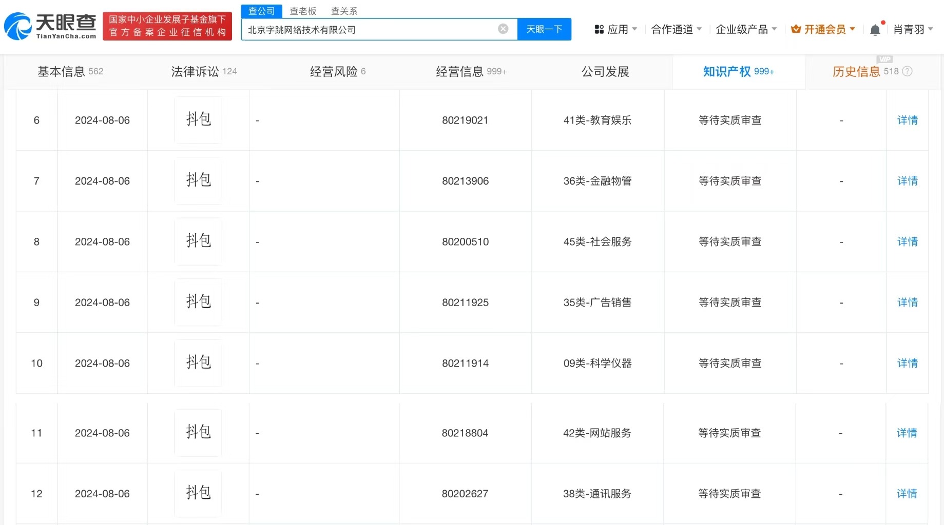
天眼查知识产权信息显示,近日,北京字跳网络技术有限公司申请注册多枚“抖包”“魔兜”商标,国际分类为科学仪器、教育娱乐、网站服务等,当前商标状态均为等待实质审查。

字节跳动申请抖包商标

字节跳动申请抖包商标

据悉,豆包是字节跳动公司基于云雀模型开发的AI工具,模兜是为大模型提供行业专家和行业优质内容的众包服务平台。

天眼查信息:https://www.tianyancha.com/company/3266848464

本文来自投稿,不代表创造权威IP 赋能创业者——IP百创立场,如若转载,请注明出处:创造权威IP 赋能创业者——IP百创

(0)
打赏 微信扫一扫 微信扫一扫 支付宝扫一扫 支付宝扫一扫
上一篇 2024年8月30日
下一篇 2024年8月30日

相关推荐

  • #抖音申请抖心选商标# #抖音申请抖选商标#

    天眼查知识产权信息显示,近日,抖音集团旗下北京字跳网络技术有限公司申请注册多枚“抖心选”“抖选”商标,国际分类为广告销售、科学仪器、教育娱乐等,目前上述商标状态均为等待实质审查。 天眼查信息:https://www.tianyancha.com/company/3266848464/zhishi

    2024年6月27日
  • 长城汽车在洛阳成立销售新公司

    天眼查App显示,8月12日,全极智选(洛阳)汽车销售服务有限公司成立,法定代表人为谭健,注册资本500万人民币,经营范围含汽车销售,摩托车及零配件零售,信息咨询服务,汽车零配件零售,二手车经纪,机动车修理和维护,小微型客车租赁经营服务,电子产品销售等。股权全景穿透图显示,该公司由长城智选信息科技(保定)有限公司全资持股,后者为长城汽车全资子公司。 天眼查信…

    2024年8月14日
  • 深陷泥潭的家具行业,靠吃“老本”艰难求生

    家居行业趋冷,上游遍布全国各地的家具产业带,纷纷“渡劫”。

    2022年8月23日
  • MONA M03成爆款?小鹏汽车为销量拼了!

    又是一年“金九银十”,各家新能源汽车的品牌陆续发布9月份销量数据,大多数车企销量“狂飙”,比亚迪、理想、零跑等不少品牌创下销量新高,新能源汽车形势一片大好。 在一系列喜讯之中,小鹏MONA M03的销量尤为引人注目。据小鹏汽车消息,小鹏MONA M03首月交付即破万,创下了新势力纯电首月交付量纪录,同时,小鹏汽车9月交付量也创造了历史新高,达21352台。 …

    2024年10月17日
  • 华人运通上海公司因劳动仲裁案被限消

    #华人运通上海公司及丁磊再被限消# 天眼查App显示,近日,华人运通控股(上海)有限公司及其法定代表人丁磊因未按执行通知书指定的期间履行生效法律文书确定的给付义务,被上海市闵行区人民法院限制高消费,涉及劳动仲裁案件。案件流程信息显示,今年6月,该公司已因此案被强制执行3万余元。 华人运通控股(上海)有限公司成立于2019年2月,注册资本约2.53亿人民币,由…

    2024年8月20日

发表回复

您的电子邮箱地址不会被公开。 必填项已用*标注

联系我们

邮件:939297903@qq.com

工作时间:周一至周五,9:30-18:30,节假日休息

关注微信