许昕公司已登记背后击球著作权

#许昕已成立背后击球公司##马龙回应背后击球练好了吗#

据报道,近日,马龙被记者提问:背后击球练好了吗?马龙听后,直接而风趣地回答:“没有,应该让许昕来背后”。

许昕公司已登记背后击球著作权

许昕公司已登记背后击球著作权

许昕公司已登记背后击球著作权

许昕公司已登记背后击球著作权

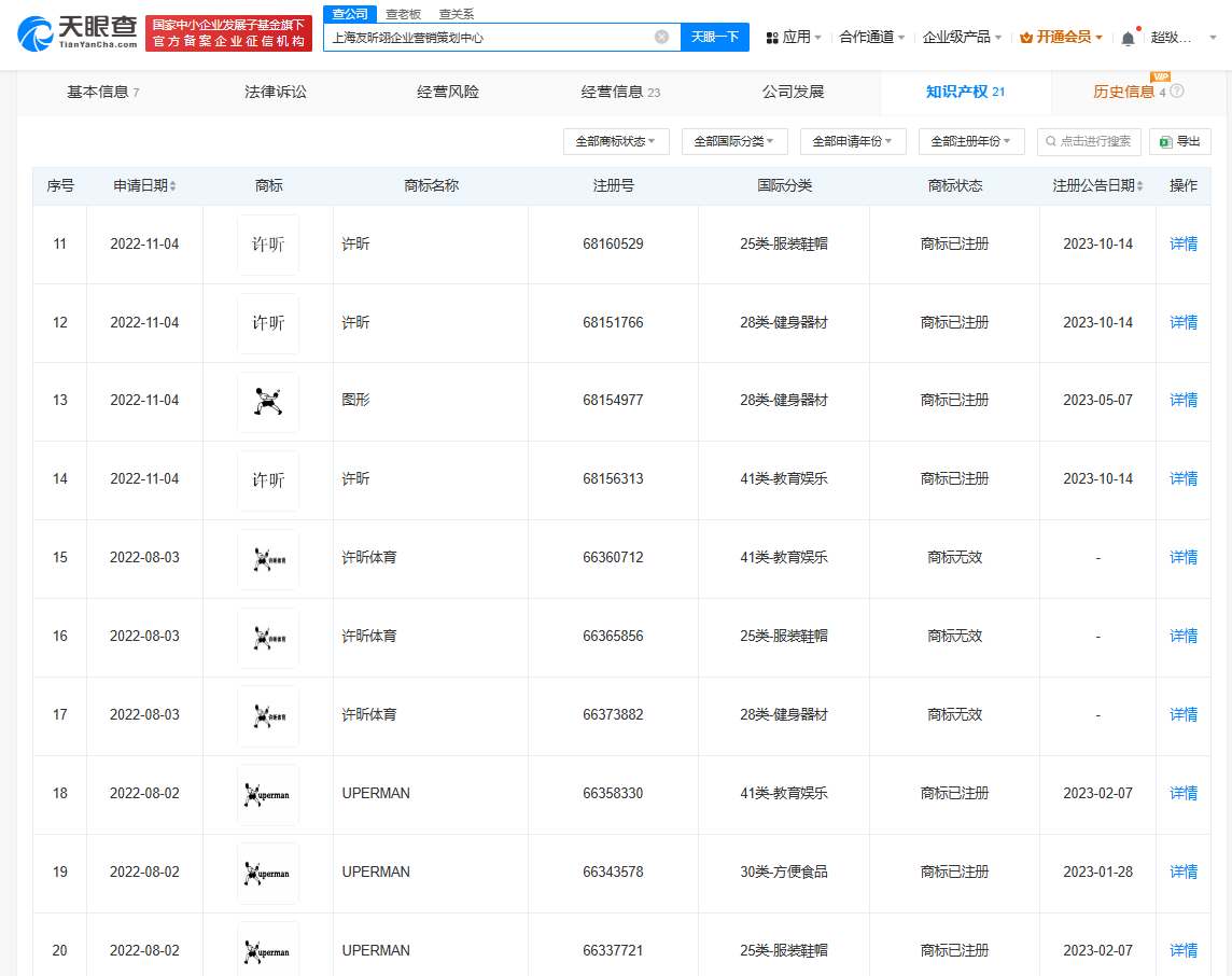
天眼查App显示,“许昕体育Xuperman”关联公司上海许昕背后击球体育文化发展有限公司成立于2022年12月,法定代表人为姚彦,注册资本100万人民币,经营范围包括体育竞赛组织、组织体育表演活动、组织文化艺术交流活动等,由上海许昕体育文化发展有限公司全资持股,后者第一大股东为许昕。

天眼查知识产权信息显示,上海许昕体育文化发展有限公司已于2022年12月登记了“Xuperman 背后击球”美术作品著作权。此外,许昕名下的上海友昕翊企业营销策划中心已成功注册了多枚“许昕”“Xuperman”“UPERMAN”文字及图形商标。

天眼查信息:https://www.tianyancha.com/company/5051057686/zhishi

本文来自投稿,不代表创造权威IP 赋能创业者——IP百创立场,如若转载,请注明出处:创造权威IP 赋能创业者——IP百创

(0)
打赏 微信扫一扫 微信扫一扫 支付宝扫一扫 支付宝扫一扫
上一篇 2024年8月30日
下一篇 2024年8月30日

相关推荐

  • 县城消费抢占春节C位,品牌的拼多多「真香」时刻到了

    一、二线城市难求增量突破,得小镇青年者得天下。 这个春节,县域市场再度抢占了“C位”,红红火火的县域消费登上了《人民日报》头版。 SK-II神仙水来护肤、几千元的羽绒服作新衣、车厘子、榴莲等贵价水果成为“果盘子”主角、进口海鲜飘香餐桌,一线城市中产偏爱的山姆产品,也频繁出现在众多小镇青年消费清单里。这个春节假期,县域市场可谓供销两旺,消费多姿多彩。 小镇青年…

    2025年2月8日
  • #新石器无人车在绍兴成立新公司# 注册资本2.1亿

    天眼查App显示,近日,新石器(绍兴)无人车科技有限公司成立,法定代表人为李子夷,注册资本2.1亿人民币,经营范围含智能机器人销售、工业机器人销售、新能源汽车整车销售等。股东信息显示,该公司由新石器无人车关联公司新石器慧通(北京)科技有限公司全资持股。 天眼查信息:https://www.tianyancha.com/company/7094808065

    2024年9月14日
  • 武汉蔚来能源公司新增AI软件业务

    天眼查App显示,近日,武汉蔚来能源有限公司发生工商变更,经营范围新增软件开发、人工智能基础软件开发、人工智能应用软件开发、人工智能理论与算法软件开发、互联网信息服务等,同时,董事长秦力洪卸任法定代表人,由经理沈斐接任。 武汉蔚来能源有限公司成立于2017年5月,注册资本7.84亿人民币,由蔚来能源投资(湖北)有限公司全资持股。 天眼查信息:https://…

    2024年8月26日
  • “食神”梦碎?老板电器、方太硬闯AI厨电

    过去一年,厨电行业的AI竞赛进入“大模型时代”,各大品牌纷纷亮出了自己的杀手锏。老板电器的“食神大模型”、方太的“Healthy CookingGPT”轮番登场,两者都立志要用AI“重新定义厨房”。 新的一年,大模型技术的不断成熟与迭代,AI将不再仅仅是概念上的炒作,而是真正融入到每一个厨房场景中。这场在厨电领域内悄然进行的“科技革命”无疑将步入一个更为深入…

    2025年2月19日
  • 蔚来申请注册nomi GPT商标

    天眼查知识产权信息显示,近日,上海蔚来汽车有限公司申请多枚“nomi”“nomi GPT”商标,国际分类为教育娱乐、广告销售、建筑修理、酒,当前商标状态为等待实质审查。此外,蔚来汽车科技(安徽)有限公司也申请两枚“nomi”商标,国际分类为地毯席垫、家具,当前商标状态也为等待实质审查。 据媒体报道,今年4月,蔚来自研的AI大模型NOMI GPT正式上线。不久…

    2024年8月13日

发表回复

您的电子邮箱地址不会被公开。 必填项已用*标注

联系我们

邮件:939297903@qq.com

工作时间:周一至周五,9:30-18:30,节假日休息

关注微信